|
|
(21), (22) Заявка: 2003119487/03, 01.07.2003
(24) Дата начала отсчета срока действия патента:
01.07.2003
(45) Опубликовано: 10.01.2005
(56) Список документов, цитированных в отчете о поиске:
RU 2058897 C1, 27.04.1996. RU 2029675 C1, 27.02.1995. RU 2197378 C1, 27.01.2003. EP 0861711 A1, 02.09.1998. US 4112517 A, 05.09.1978. DE 193399 A, 15.11.1905.
Адрес для переписки:
141080, Московская обл., г. Королев, пос. Болшево, ул. Маяковского, 6, кв.7, А.В. Луневу
|
(72) Автор(ы):
Орищенко В.И. (RU), Лунев А.В. (RU), Кияница К.В. (RU)
(73) Патентообладатель(и):
Общество с ограниченной ответственностью “Валдай-СТМ” (RU)
|
(54) СМЕСИТЕЛЬНО-ИЗМЕЛЬЧИТЕЛЬНАЯ УСТАНОВКА
(57) Реферат:
Изобретение относится к промышленности строительных материалов, а именно к оборудованию для подготовки смесей для производства пенобетонных изделий. Смесительно-измельчительная установка содержит корпус с приемным и разгрузочным приспособлениями и расположенные внутри корпуса вертикальный приводной вал, смеситель и дисковый измельчитель. Смеситель выполнен в виде горизонтальной крыльчатки, прикрепленной к крышке корпуса при помощи вертикального пассивного вала. Приемное приспособление выполнено в виде двух приемников соответственно для песка и цемента, каждый из которых снабжен замкнутой емкостью с форсункой для подачи воздушного потока с рассеиваемым материалом. Форсунки расположены в плоскости крыльчатки с противоположных сторон относительно вертикальной оси пассивного вала. Дисковый измельчитель укреплен на нижнем конце вертикального приводного вала и расположен в объемной емкости в форме “перевернутого стакана”, укрепленного на днище корпуса и имеющего на боковой поверхности в плоскости дискового измельчителя входные патрубки для воздушной подачи смеси песка и цемента. Напротив каждого входного патрубка соосно с ним установлен инжектор. Под днищем корпуса укреплен обводнитель, внутри которого смонтировано аккумулирующе-распределительное устройство в виде замкнутой цилиндрической емкости, которая прикреплена к днищу корпуса. На днище емкости расположены распылители для создания в обводнителе парокапельной завесы с возможностью смешения ее с песко-цементной смесью. На боковой поверхности обводнителя и аккумулирующе-распределительного устройства выполнены соосно расположенные отверстия, через которые пропущен трубопровод для подачи под давлением воды в аккумулирующе-распределительное устройство. Изобретение позволит обеспечить повышение активности цемента, качество перемешивания. 4 ил.

Изобретение относится к промышленности строительных материалов, а именно к оборудованию для подготовки смесей для производства преимущественно пенобетонных изделий.
Известен смеситель-активатор, содержащий корпус с загрузочными и разгрузочными отверстиями, решетчатый орган, по меньшей мере одну направляющую стенку и рабочий орган, установленный с возможностью вращения и выполненный в виде пакета ножей, закрепленных на общей оси, а решетчатый орган выполнен в виде конуса, расположенного над рабочим органом (RU 2134197, кл. В 28 С 5/16, от 10.08.1999).
Однако данный смеситель-активатор недостаточно эффективен в работе, поскольку он не обеспечивает полного измельчения смеси, так как в нем предусмотрено оборудование для отвода не измельченных крупных частиц.
Наиболее близким техническим решением является смесительно-измельчительная установка, содержащая корпус с приемным и разгрузочным приспособлениями и расположенные внутри корпуса вертикальный приводной вал, а также смеситель и дисковый измельчитель (RU 2058897, кл. В 28 С 5/16, от 27.04.1996).
Однако данная смесительно-измельчительная установка также недостаточно эффективна в работе, так как не обеспечивает полного измельчения смеси.
Предложенная смесительно-измельчительная установка лишена вышеприведенных недостатков и, кроме того, она обеспечивает более равномерное и качественное перемешивание, более качественное обводнение песко-цементной суспензии, а также обеспечивает повышение активности цемента.
Задача обеспечивается тем, что предложенная смесительно-измельчительная установка содержит корпус с приемным и разгрузочным приспособлениями и расположенные внутри корпуса вертикальный приводной вал, а также смеситель и дисковый измельчитель, при этом смеситель представлен в виде рассеивателя, выполненного в форме горизонтальной крыльчатки, прикрепленной к крышке корпуса при помощи вертикального пассивного вала, а приемное приспособление выполнено в виде двух приемников соответственно для песка и цемента, каждый из которых снабжен сообщенной с ним замкнутой емкостью с встроенной в боковую поверхность форсункой для подачи под давлением воздушного потока с соответствующим рассеиваемым материалом, причем форсунки замкнутых емкостей приемников расположены в плоскости крыльчатки с противоположных сторон относительно вертикальной оси пассивного вала, а дисковый измельчитель укреплен на нижнем конце вертикального приводного вала и расположен в объемной емкости в форме “перевернутого стакана”, укрепленного на днище корпуса и имеющего на боковой поверхности в плоскости дискового измельчителя входные патрубки для воздушной подачи смеси песка и цемента, при этом напротив каждого входного патрубка соосно с ним установлен инжектор, а под днищем корпуса укреплен соосно с вертикальным приводным валом обводнитель, полость которого при помощи окон в днище корпуса сообщена с полостью объемной емкости дискового измельчителя, причем внутри обводнителя смонтировано аккумулирующе-распределительное устройство в виде замкнутой цилиндрической емкости, которая прикреплена к днищу корпуса, а на своем днище имеет распылители для создания в обводнителе парокапельной завесы с возможностью смешения ее с песко-цементной смесью, причем на боковой поверхности обводнителя и аккумулирующе-распределительного устройства выполнены соосно расположенные отверстия, через которые пропущен трубопровод для подачи под давлением воды в аккумулирующе-распределительное устройство.
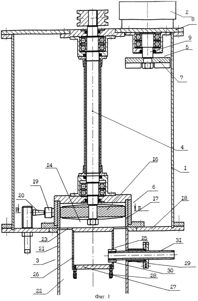
Изобретение поясняется чертежом, где на фиг.1 изображен общий вид смесительно-измельчительной установки, вертикальное сечение; на фиг.2 – то же, вид сверху; на фиг.3 изображено сечение по А-А фиг.2; на фиг.4 изображен вид по Б-Б фиг.1.
Смесительно-измельчительная установка содержит цилиндрический корпус 1 с приемным 2 и разгрузочным 3 приспособлениями и расположенные внутри корпуса 1 вертикальный приводной вал 4, а также смеситель 5 и измельчитель 6. Смеситель 5 представлен в виде рассеивателя, выполненного в форме горизонтальной крыльчатки 7, прикрепленной к крышке 8 корпуса 1 при помощи вертикального пассивного вала 9. Приемное приспособление 2 выполнено в виде двух приемников 10, 11, соответственно для песка и цемента. Приемник 10 для песка снабжен сообщенной с его полостью замкнутой емкостью 12, а приемник 11 для цемента снабжен сообщенной с его полостью замкнутой емкостью 13. В боковую поверхность емкостей 12 и 13 встроены форсунки 14 и 15 для подачи под давлением воздушного потока с соответствующим рассеиваемым материалом. Форсунки 14 и 15 замкнутых емкостей 12 и 13 расположены в плоскости крыльчатки 7 с противоположных сторон относительно вертикальной оси пассивного вала 9. Измельчитель 6 выполнен в виде диска 16, который укреплен на нижнем конце вертикального приводного вала 4. Диск 16 расположен в объемной емкости 17 в форме “перевернутого стакана”, который укреплен на днище 18 корпуса 1 и имеет на боковой поверхности в плоскости дискового измельчителя входные патрубки 19 для воздушной подачи песко-цементной смеси на дисковый измельчитель. Напротив каждого входного патрубка 19, соосно с ним установлен инжектор 20 для подачи под воздушным давлением песко-цементной смеси в патрубок 19. Под днищем 18 корпуса 1 укреплен соосно с вертикальным приводным валом 4 обводнитель 21, полость 22 которого при помощи окон 23 в днище 16 корпуса 1 сообщена с полостью 24 объемной емкости 17 дискового измельчителя. Внутри обводнителя 21 смонтировано аккумулирующе-распределительное устройство 25 в виде замкнутой цилиндрической емкости 26, которая прикреплена к днищу 18 корпуса 1, а на своем днище 27 имеет распылители 28 для создания в обводнителе 21 парокапельной завесы и смешения ее с песко-цементной смесью. На боковой поверхности обводнителя 21 и аккумулирующе-распределительного устройства 25 выполнены соосно расположенные отверстия соответственно 29 и 30, через которые пропущен трубопровод 31 для подачи под давлением воды в аккумулирующе-распределительное устройство 25.
Работа смесительно-измельчительной установки осуществляется следующим образом.
Цемент и песок подают соответственно в приемники 10 и 11, из которых компоненты попадают в замкнутые емкости 12, 13 с встроенными в их боковые поверхности струйными форсунками для подачи по давлением воздушного потока с соответствующим рассеиваемым материалом на крыльчатку 7. При этом форсунки 14 и 15 замкнутых емкостей 12, 13 расположены в плоскости крыльчатки с противоположных сторон относительно вертикальной оси пассивного вала 9 для обеспечения создания крутящего момента и разгона крыльчатки, которая, вращаясь, тщательно перемешивает песок с цементом и частично их измельчает. Смесь, перемешиваясь и рассеиваясь внутри корпуса 1, оседает на днище 18 корпуса, которую затем при помощи инжекторов 20 воздушным потоком под давлением подают во входные патрубки 19 объемной емкости 17 дискового измельчителя, где песко-цементная смесь полностью измельчается дисковым измельчителем и прямотоком через окна 23 в днище корпуса 1 поступает в обводнитель 21. В обводнителе смонтировано аккумулирующе-распределительное устройство в виде замкнутой цилиндрической емкости, которая прикреплена к днищу корпуса 1, на боковой поверхности имеет отверстие для размещения трубопровода для подачи под давлением воды в полость замкнутой цилиндрической емкости. Вода из аккумулирующе-распределительного устройства через распылители в днище поступает в обводнитель, создавая сплошную парокапельную завесу для обогащения песко-цементной смеси водой, при этом начало работы распылителей аккумулирующе-распределительного устройства начинается на несколько секунд раньше поступления песко-цементной смеси в обводнитель и заканчивается на несколько секунд позже после окончательного выхода смеси из обводнителя. Из обводнителя готовая обводненная смесь поступает в пенобетоносмеситель (условно не показан), и на этом заканчивается полный цикл работы смесительно-измельчительной установки.
Предложенная смесительно-измельчительная установка наиболее выгодно отличается от предшествующих ей установок, так как обеспечивает повышение активности цемента, а также в ней созданы условия для более равномерного и качественного перемешивания и для более качественного обводнения смеси.
Формула изобретения
Смесительно-измельчительная установка, содержащая корпус с приемным и разгрузочным приспособлениями и расположенные внутри корпуса вертикальный приводной вал, а также смеситель и дисковый измельчитель, отличающаяся тем, что смеситель представлен в виде рассеивателя, выполненного в форме горизонтальной крыльчатки, прикрепленной к крышке корпуса при помощи вертикального пассивного вала, а приемное приспособление выполнено в виде двух приемников соответственно для песка и цемента, каждый из которых снабжен сообщенной с ним замкнутой емкостью с встроенной в боковую поверхность форсункой для подачи под давлением воздушного потока с соответствующим рассеиваемым материалом, причем форсунки замкнутых емкостей приемников расположены в плоскости крыльчатки с противоположных сторон относительно вертикальной оси пассивного вала, а дисковый измельчитель укреплен на нижнем конце вертикального приводного вала и расположен в объемной емкости в форме перевернутого стакана, укрепленного на днище корпуса и имеющего на боковой поверхности в плоскости дискового измельчителя входные патрубки для воздушной подачи смеси песка и цемента, при этом напротив каждого входного патрубка соосно с ним установлен инжектор, а под днищем корпуса укреплен соосно с вертикальным приводным валом обводнитель, полость которого при помощи окон в днище корпуса сообщена с полостью объемной емкости дискового измельчителя, причем внутри обводнителя смонтировано аккумулирующе-распределительное устройство в виде замкнутой цилиндрической емкости, которая прикреплена к днищу корпуса, а на своем днище имеет распылители для создания в обводнителе парокапельной завесы с возможностью смешения ее с пескоцементной смесью, причем на боковой поверхности обводнителя и аккумулирующе-распределительного устройства выполнены соосно расположенные отверстия, через которые пропущен трубопровод для подачи под давлением воды в аккумулирующе-распределительное устройство.
РИСУНКИ
MM4A Досрочное прекращение действия патента Российской Федерации на изобретение из-за неуплаты в установленный срок пошлины за поддержание патента в силе
Дата прекращения действия патента: 02.07.2005
Извещение опубликовано: 27.12.2006 БИ: 36/2006
|
|