|
|
(21), (22) Заявка: 2003117323/03, 09.06.2003
(24) Дата начала отсчета срока действия патента:
09.06.2003
(45) Опубликовано: 10.01.2005
(56) Список документов, цитированных в отчете о поиске:
ХАВКИН Л.М. Технология силикатного кирпича. – М.: Стройиздат, 1982, с.222, рис. V-1.25. SU 131657 А, 10.09.1960. CH 595198 a, 15.02.1978.
Адрес для переписки:
454079, г.Челябинск, пр. Ленина, 1, Завод силикатного кирпича ЗАО “Афина”, И.А. Галееву
|
(72) Автор(ы):
Галеева А.С. (RU)
(73) Патентообладатель(и):
Галеева Альфия Сафиевна (RU)
|
(54) КОМПЛЕКС ДЛЯ ФОРМОВАНИЯ И ШТАБЕЛИРОВАНИЯ СИЛИКАТНОГО КИРПИЧА-СЫРЦА
(57) Реферат:
Изобретение относится к производству силикатного кирпича. Технический результат – обеспечение возможности манипулирования крупными группами кирпичей. Комплекс для формования и штабелирования силикатного кирпича-сырца содержит пресс, в столе которого размещена групповая пресс-форма с гнездами под кирпичи. Комплекс также включает конвейер, расположенный по оси подачи кирпичей от пресса, и запарочную вагонетку. С возможностью перемещения вдоль конвейера установлен съемник, обеспечивающий передачу кирпича от пресса к конвейеру, и штабелировщик, обеспечивающий передачу кирпича от конвейера к запарочной вагонетке. Продольные стенки гнезд пресс-формы и путь, на котором с возможностью перемещения установлена запарочная вагонетка, размещены перпендикулярно конвейеру, причем гнезда пресс-формы размещены в четыре ряда, которые параллельны конвейеру. В каждом ряду размещено, по крайней мере, по шесть гнезд. 3 ил.

Изобретение относится к производству строительных материалов, в частности к производству силикатного кирпича.
Технология проведения термообработки силикатного кирпича-сырца требует его укладки в штабель, состоящий из четырех стенок толщиной в один кирпич с овальным контуром верхней части. Это приводит к тому, что верхние слои стенок содержат число кирпичей, уменьшающееся по мере приближения слоя к вершине штабеля. Конкретное число кирпичей в каждом слое определяет карта укладки штабеля. Чем больше верхняя часть штабеля от пирамидальной формы приближается к овальной, тем большее количество кирпичей можно разместить в штабеле, неприемлемая конфигурация штабеля вызывает резкое снижение коэффициента использования объема автоклава.
Известен комплекс для формования и штабелирования силикатного кирпича, содержащий пресс, в столе которого размещена групповая пресс-форма с гнездами под кирпич, конвейер, запарочную вагонетку, съемник, обеспечивающий передачу кирпича от пресса к конвейеру, и штабелировщик, обеспечивающий передачу кирпича от конвейера к запарочной вагонетке. Конвейер размещен перпендикулярно к оси подачи кирпичей от пресса. Гнезда пресс-формы размещены так, что образуют две параллельные строки по 8 штук в каждой, которые перпендикулярны конвейеру. Продольные стенки гнезд в этих строках расположены параллельно конвейеру. Запарочная вагонетка размещена с возможностью перемещения вдоль конвейера. Съемник и штабелировщик установлены с возможностью перемещения поперек конвейера (см. проспект фирмы “LASCO Umformtechnik GmbH Партнер по внедрению экономичной технологии производства силикатного кирпича”, 2001 г.).
Данная компоновка комплекса предполагает одновременный перенос посредством съемника двух строк кирпичей по 8 штук в каждой, одновременно выдаваемых прессом. Кирпичи выносятся съемником через окно в боковине пресса на конвейер, который перпендикулярен оси подачи кирпичей от пресса. При повторном цикле пресса съемник переносит на конвейер еще две строки по 8 штук кирпичей в каждой. Так на конвейере образуется группа из 4 строк по 8 штук кирпичей в каждой. Из таких групп на запарочной вагонетке при помощи штабелировщика формируется штабель из четырех стенок толщиной в кирпич. Так как длина группы (8 штук кирпичей) недостаточна для образования полного слоя штабеля, то он формируется из нескольких групп (нижняя часть штабеля из 2-3 групп, верхняя – из 1-2 групп) за несколько ходов штабелировщика.
Очевидно, что недостатком комплекса является малая производительность, обусловленная тем, что отдельные устройства комплекса при своей работе манипулируют малым количеством кирпичей одновременно.
Наиболее близким по технической сущности, достигаемому результату и выбранным в качестве прототипа является комплекс для формования и штабелирования силикатного кирпича, включающий пресс, в столе которого размещена групповая пресс-форма с гнездами под кирпичи, конвейер, расположенный по оси подачи кирпичей от пресса, запарочную вагонетку, съемник, обеспечивающий передачу кирпича через окно в лицевой части пресса к конвейеру, и штабелировщик, обеспечивающий передачу кирпича от конвейера к запарочной вагонетке. Гнезда пресс-формы стола пресса размещены так, что их продольные стенки параллельны конвейеру. Запарочная вагонетка и съемник размещены с возможностью перемещения вдоль конвейера, а штабелировщик – с возможностью перемещения поперек него (см. Л.М.Хавкин Технология силикатного кирпича. М., “Стройиздат”, 1982 г., с.222, рис. V-1.25 Пресс фирмы “Сатклифф и Спикмен” S-S 500).
Такая компоновка комплекса предполагает перенос кирпичей, выдаваемых прессом, через окно в лицевой части пресса вдоль оси конвейера. Это несколько изменяет траекторию перемещения кирпича от пресса к вагонетке. Съемник, в данном случае, движется вдоль конвейера. Однако сохраняется такой основной недостаток компоновки, как формирование полного слоя на вагонетке из отдельных групп, так как поперек ленты конвейера невозможно разместить то количество кирпичей, которое необходимо для полного слоя. Увеличение количества кирпичей в строках, одновременно выдаваемых прессом, приводит к увеличению длины группы, что вызывает образование больших уступов в контуре штабеля. Это не позволяет увеличить производительность комплекса.
Задачей настоящего изобретения является повышение производительности комплекса.
Техническим результатом, получаемым при реализации данного изобретения, является обеспечение возможности манипулирования крупными группами кирпичей.
Указанная задача решается за счет того, что в известном комплексе для формования и штабелирования силикатного кирпича-сырца, содержащем пресс, в столе которого размещена групповая пресс-форма с гнездами под кирпичи; конвейер, расположенный по оси подачи кирпичей от пресса; запарочную вагонетку; установленный с возможностью перемещения вдоль конвейера съемник, обеспечивающий передачу кирпича от пресса к конвейеру; и штабелировщик, обеспечивающий передачу кирпича от конвейера к запарочной вагонетке, согласно изобретению, продольные стенки гнезд пресс-формы и путь, на котором с возможностью перемещения установлена запарочная вагонетка, размещены перпендикулярно конвейеру, при этом гнезда пресс-формы размещены в четыре ряда, которые параллельны конвейеру, а в каждом ряду размещено, по крайней мере, по шесть гнезд.
Исследования, проведенные по источникам патентной и научно-технической информации, показали, что заявляемый комплекс не известен и не следует явным образом из изученного уровня техники, т.е. соответствует критериям “новизна” и “изобретательский уровень”.
Комплекс может быть изготовлен на любом предприятии, специализирующемся в данной отрасли, т.к. для этого требуются известные материалы и стандартное оборудование, и широко использован при производстве силикатного кирпича, т.е. является промышленно применимым.
Выполнение комплекса в заявляемом виде позволяет получить от пресса кирпичи, сориентированные относительно конвейера и запарочной вагонетки так, что за один ход штабелировщик может отобрать с конвейера и переместить на запарочную вагонетку группу кирпичей, длина которой равна длине слоя на вагонетке. При размещении гнезд в четыре ряда пресс за один цикл работы выдает на конвейер кирпичи для формирования сразу четырех стенок на запарочной вагонетке. Увеличение числа гнезд в ряду позволяет быстрее накопить на конвейере количество кирпичей, достаточное для формирования полного слоя штабеля на вагонетке.
Таким образом, очевидно, что предлагаемая компоновка комплекса обеспечивает повышение производительности.
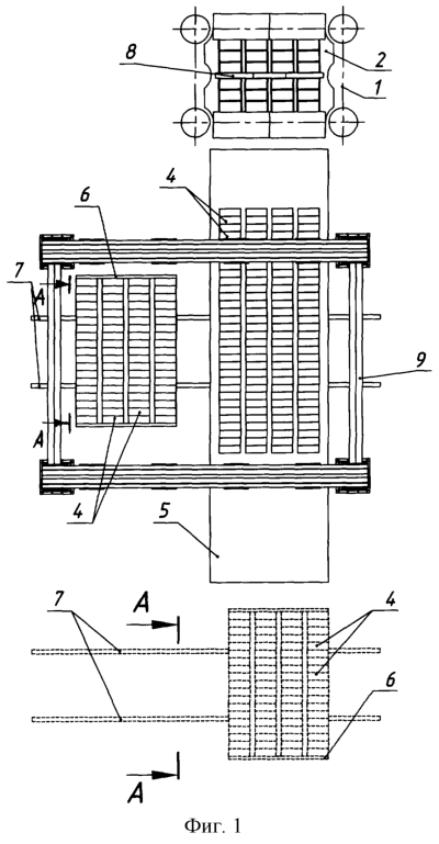
Изобретение поясняется чертежами, на которых представлены:
фиг.1 – комплекс, общий вид (пунктиром показано положение вагонетки при движении штабелировщика вдоль конвейера);
фиг.2 – пресс-форма стола пресса, вид сверху;
фиг.3 – вид по А-А на фиг.1.
Комплекс для формования и штабелирования силикатного кирпича-сырца содержит гидравлический пресс 1, в столе которого размещена групповая пресс-форма 2 с гнездами 3 под кирпичи 4. По оси подачи кирпичей 4 от пресса 1 расположен конвейер 5. Комплекс включает также запарочную вагонетку 6, установленную на рельсовом пути 7, установленный с возможностью перемещения вдоль конвейера 5 съемник 8, обеспечивающий передачу кирпича от пресса 1 к конвейеру 5, а также штабелировщик 9, обеспечивающий подачу кирпичей 4 к запарочной вагонетке 6. Продольные стенки гнезд 3 пресс-формы 2 и путь 7, на котором с возможностью перемещения установлена запарочная вагонетка 6, размещены параллельно друг другу и перпендикулярно конвейеру 5. Штабелировщик 9 может быть установлен с возможностью перемещения вдоль и поперек конвейера 5 или с возможностью перемещения только вдоль конвейера 5. В первом случае вагонетка 6 размещается сбоку от конвейера 5, во втором случае вагонетка 6 размещается в конце конвейера 5. Гнезда 5 пресс-формы 2 размещены в четыре ряда, параллельные конвейеру 5. В каждом ряду размещено по 6 (или более) гнезд. Компактно разместить на столе пресса 1 большое количество гнезд 3 пресс-формы 2 позволяет ориентация гнезд 3 длинной стороной вдоль длинной стороны стола пресса 1. Такое положение гнезд 3 позволяет разместить четыре ряда по 6-10 гнезд 3, что обеспечивает выдачу 24-40 кирпичей 4 за один цикл работы пресса 1.
Комплекс работает следующим образом.
Пресс-форма стола пресса 1 заполняется формовочной смесью при помощи перемещающегося возвратно-поступательно над пресс-формой бункера смеси (не показан). После цикла формования пресс 1 выталкивает из пресс-формы 2 группу кирпичей 4, расположенных длинной стороной вдоль длины стола пресса 1 и перпендикулярно конвейеру 5. Группа кирпичей 4 включает четыре ряда, каждый из которых состоит из 6-10 штук. Съемник 8, соединенный с прессом 1, снимает со стола пресса 1 сразу все кирпичи 4 группы, зажимая их захватами за тычки, и при переносе сплачивает их, располагая с одинаковым зазором между ними. Ось подачи кирпичей 4 съемником 8 от пресса 1 совпадает с продольной осью конвейера 5. Кирпичи 4 устанавливаются съемником 8 на конвейер 5, выполняющий функцию накопителя. Захваты освобождают кирпичи 4, а съемник 8 возвращается для повторного цикла. При возврате съемника 8 к прессу 1 за следующей группой кирпичей 4 конвейер 5 перемещается на шаг, равный длине группы, увеличенный на небольшой гарантийный зазор. После 2-3 циклов на конвейере 5 набирается такое количество строк кирпичей 4, какое необходимо для полного слоя на запарочной вагонетке 6, причем эти строки включают по четыре кирпича 4, что позволяет формировать сразу четыре стенки штабеля на вагонетке 6. За счет перемещения штабелировщика 9 вдоль конвейера 5 устанавливают штабелировщик 9 в такое положение, которое обеспечивает захват полного слоя для вагонетки 6. Затем, в случае размещения вагонетки 6 сбоку от конвейера 5, штабелировщик 9 перемещают поперек конвейера 5, и он устанавливает полный слой на запарочную вагонетку 6. В случае размещения вагонетки 6 в конце конвейера 5 штабелировщик 9 перемещают только вдоль конвейера 5 при переносе полного слоя на запарочную вагонетку 6. За время движения штабелировщика 9 к вагонетке 6 на конвейере 5 образуется новая группа кирпичей 4. Из этой группы штабелировщик 9 отбирает новый очередной слой для вагонетки 6. Причем количество строк кирпичей 4 в группе зависит от положения слоя в штабеле.
Таким образом, заявляемый комплекс, обеспечивая формирование штабеля из полных слоев, быстро накапливающихся на конвейере из-за большого количества кирпичей, одновременно выдаваемых прессом, позволяет резко повысить производительность комплекса и обеспечить формование штабеля с овальной формой верхней части.
Формула изобретения
Комплекс для формования и штабелирования силикатного кирпича-сырца, содержащий пресс, в столе которого размещена групповая пресс-форма с гнездами под кирпичи, конвейер, расположенный по оси подачи кирпичей от пресса, запарочную вагонетку; установленный с возможностью перемещения вдоль конвейера съемник, обеспечивающий передачу кирпича от пресса к конвейеру, и штабелировщик, обеспечивающий передачу кирпича от конвейера к запарочной вагонетке, отличающийся тем, что продольные стенки гнезд пресс-формы и путь, на котором с возможностью перемещения установлена запарочная вагонетка, размещены перпендикулярно конвейеру, причем гнезда пресс-формы размещены в четыре ряда, которые параллельны конвейеру, а в каждом ряду размещено, по крайней мере, по шесть гнезд.
РИСУНКИ
QB4A Регистрация лицензионного договора на использование изобретения
Лицензиар(ы): Галеева Альфия Сафиевна
НИЛ
Лицензиат(ы): ЗАО “АФИНА”
Договор № РД0001869 зарегистрирован 31.08.2005
Извещение опубликовано: 10.10.2005 БИ: 28/2005
* ИЛ – исключительная лицензия НИЛ – неисключительная лицензия
MF4A – Аннулирование патента Российской Федерации на изобретение в связи с признанием его недействительным частично
Основание для аннулирования:
Патент Российской Федерации № 2243891 на изобретение “Комплекс для формования и штабелирования силикатного кирпича-сырца” признан недействительным в части указания в нем автора и патентообладателя. Автором изобретения признан Кулешов Валерий Дмитриевич. Патентообладателем изобретения признано ЗАО “Челябинский завод эффективного строительного кирпича”. Основание: Решение Курчатовского районного суда г. Челябинска от 24 января 2007 года, Постановление Президиума Челябинского областного суда от 27 февраля 2008 года № 44-Г-24/2008, в соответствии с которыми Кулешов Валерий Дмитриевич признан автором патента № 2243891 “Комплекс для формования и штабелирования силикатного кирпича-сырца”, ЗАО “Челябинский завод эффективного строительного кирпича” признано патентообладателем патента № 2243891 “Комплекс для формования и штабелирования силикатного кирпича-сырца”. Патент № 2243891 “Комплекс для формования и штабелирования силикатного кирпича-сырца” от 10 января 2005 года, выданный на имя Галеевой Альфии Сафиевны признан недействительным в части указания в нем автора и патентообладателя.
Новый номер патента: 2332301
Дата публикации нового патента: 27.08.2008
Извещение опубликовано: 27.08.2008 БИ: 24/2008
|
|