|
|
(21), (22) Заявка: 2003106488/02, 07.03.2003
(24) Дата начала отсчета срока действия патента:
07.03.2003
(45) Опубликовано: 10.01.2005
(56) Список документов, цитированных в отчете о поиске:
RU 2102218 C1, 20.01.1998. RU 2145740 C1, 20.02.2000. SU 1093477 A, 23.05.1984. RU 2009554 C1, 15.03.1994. GB 1311069 A, 21.03.1973. GB 2326837 A, 06.01.1999.
Адрес для переписки:
630110, г.Новосибирск, ул. Б. Хмельницкого, 94, ОАО “Новосибирский завод химконцентратов”, патентно-информационный отдел
|
(72) Автор(ы):
Зарубин М.Г. (RU), Лузин А.М. (RU), Батуев В.И. (RU), Бычихин А.Н. (RU)
(73) Патентообладатель(и):
Открытое акционерное общество “Новосибирский завод химконцентратов” (RU)
|
(54) УСТРОЙСТВО ЗАГРУЗКИ, РАЗГРУЗКИ И ТРАНСПОРТИРОВКИ ТЕПЛОВЫДЕЛЯЮЩИХ ЭЛЕМЕНТОВ
(57) Реферат:
Изобретение относится к ядерной энергетике, в частности к механизированной загрузке, выгрузке и транспортировке тепловыделяющих элементов. Каждый стол загрузки и выгрузки в транспортную кассету тепловыделяющих элементов снабжен механизмом подъема или опускания полок, шарнирно закрепленных в каркасе транспортной кассеты, и системой автоматики, позволяющей осуществлять загрузку и выгрузку транспортной кассеты в автоматическом режиме. Обеспечивается повышение производительности и снижение трудозатрат при загрузке, выгрузке тепловыделяющих элементов в транспортную кассету. 3 з.п. ф-лы, 5 ил.

Изобретение относится к ядерной энергетике и может быть использовано для механизированной загрузки, выгрузки и межоперационной транспортировки и проведения технологических операций над тепловыделяющими элементами (ТВЭЛами).
Известна транспортная кассета, содержащая каркас, полки, чеку и фиксатор (см. а.с. СССР №368987, В 23 Q 7/10, 1970 г.). Недостатком ее является то, что при разгрузке кассеты выдергивается чека, повреждая при этом поверхность изделий, соприкасающихся с чекой. При разгрузке изделия с высоты верхнего ручья падают в ручей отводящего лотка и при этом не исключено повреждение их наружной поверхности. Если же в качестве изделий в кассете находились ТВЭЛы в циркониевой оболочке, то не исключено повреждение циркониевой наружной поверхности в силу склонности циркония к разъедающей коррозии, появляющейся в результате истирания металла между соприкасающимися поверхностями, даже при отсутствии коррозионной среды. При работе ТВЭЛа в дальнейшем в канале ядерного реактора локальная язвенная коррозия поврежденного места не исключала разгерметизации ТВЭЛа (см. “Металлургия циркония”, пер. с англ., под ред. Г.А.Меерсона и Ю.В.Гагаринского, М., 1959 г., стр.298).
Известно устройство загрузки, разгрузки и транспортировки в виде транспортной кассеты (см. а.с. СССР №1093477, В 23 Q 7/10, 1982 г.), содержащей корпус с полками, образующими ручьи для размещения в них циркониевых теплообменных трубок и фиксатор. В отличие от а.с. №368987 в этой транспортной кассете нет прямого контакта поверхности циркониевых теплообменных трубок с открываемым фиксатором, т.е. при сдвиге фиксатора на один ручей открывается подпружиненная заслонка, находящаяся под ним, и циркониевые теплообменные трубки скатываются на наклонный стол. Однако при использовании кассеты для транспортировки длинномерных (около 4 м) ТВЭЛ для ядерного реактора ВВЭР-1000 возможны повреждения и деформация ТВЭЛ в следующих случаях:
а) конструкция транспортной кассеты предусматривает один фиксатор и расположенный под ним ряд подпружиненных заслонок, что при транспортировании ТВЭЛ на полках в ручьях в горизонтальном положении не исключает провисания концов крайних ТВЭЛ и их деформацию;
б) при транспортировании ТВЭЛ в ручьях между полок, находящихся в вертикальном положении, т.е. при положении каркаса-ящика дном книзу, возможно истирание поверхности циркониевых ТВЭЛ друг о друга;
в) при транспортировании ТВЭЛ в кассете вертикально возможно провисание верхних концов ТВЭЛов и их деформация.
В процессе изготовления ТВЭЛ герметизацию их осуществляют под давлением инертного газа (гелия) под оболочкой ТВЭЛа, а проверку на герметичность на предмет определения течей инертного газа в России и за рубежом осуществляют путем нагрева, набора вакуума, регистрации пробного газа и др. (см.патент Франции №3289203, 29.12.1978, патент США №4259152, 31.08.1981, патент Великобритании №1553180, 29.04.1977, а.с. СССР №717592, 23.12.1977). Разовая загрузка ТВЭЛов при этом не превышает нескольких десятков штук, их загружают в кассету, подвергают вакуумной сушке в течение нескольких часов, выполняют контроль малых течей гелиетечеискателем, а затем выполняют опрессовку гелием в отдельной камере и осуществляют контроль крупных течей в вакуумной камере. В процессе нагрева длинномерных ТВЭЛ за счет их линейного удлинения происходит истирание поверхности циркониевой оболочки о полки кассеты, а также провисание верхних концов ТВЭЛа и истирание о стенки корпуса кассеты, либо о стенки вакуумной камеры.
Как указывалось выше, истирание, деформация для ТВЭЛ являются браковочным признаком, приводящим к неисправимому браку ТВЭЛ. Кроме того, конструкция транспортной кассеты может образовывать застойные зоны в камере опрессовки гелием пучка ТВЭЛ и их вакуумирования, что может искажать показания гелиетечеискателя и снижать выход годных ТВЭЛ.
Наиболее близким по технической сущности и достигаемому эффекту является устройство загрузки, разгрузки и транспортировки тепловыделяющих элементов стержневого типа в виде транспортной кассеты, содержащей каркас из длинномерных стержней, стойки с отверстиями для строповки в виде скоб с верхними “плавающими” на длинномерных стержнях скобами, закрепленными, по крайней мере, на четырех имитаторах тепловыделяющих элементов из материала оболочки тепловыделяющих элементов, полки, шарнирно закрепленные к стойкам, образующие ручьи для размещения в них тепловыделяющих элементов и имеющие на каждой полке упоры и перфорированный упор, предохраняющие ручьи от выпадения из них тепловыделяющих элементов, фиксаторы над каждым рядом полок в виде не несущих тепловыделяющих элементов, шарнирно закрепленных к скобам полок, взаимодействующих со съемными скобками, в верхней части кассета снабжена гнездом для захватного грузоподъемного механизма, а в нижней – опорным днищем, взаимодействующим с подъемником шагового подъема или опускания кассеты до совпадения каждой полки с наклонным столом загрузки или выгрузки. С отсекателями поштучной подачи тепловыделяющих элементов (см.Патент Российской Федерации №2102218 от 05.01.1996, опубл. 20.01.1998 “Транспортная кассета для тепловыделяющих элементов, МПК6 B 23 Q 7/10, B 25 J 19/00.
В автоматической линии, в процессе работы устройства загрузки, выгрузки и транспортировки ТВЭЛ необходимо автоматическое открывание, закрывание полок, автоматическая загрузка, выгрузка ТВЭЛ и взаимосвязь загрузки, выгрузки ТВЭЛ с механизмом шагового подъема или опускания кассеты. Ни кассеты-аналоги, ни кассета-прототип такой взаимосвязи не имеют и загрузка, выгрузка ТВЭЛ осуществляется с применением ручного труда оператора, что снижает производительность и требует трудозатрат.
Технической задачей является повышение производительности и снижение трудозатрат при загрузке, выгрузке ТВЭЛ в транспортную кассету.
Эта техническая задача решается тем, что в устройстве загрузки, разгрузки и транспортировки тепловыделяющих элементов стержневого типа в виде транспортной кассеты, содержащей каркас с шарнирно закрепленными полками, образующими ручьи, с упорами, фиксатором полок, упорами по торцам каркаса, гнездами для грузоподъемного механизма в верхней части, опорным днищем, взаимодействующим с подъемником шагового подъема или опускания кассеты до совпадения каждой полки с наклонным столом загрузки или выгрузки, имеющим отсекатели поштучной подачи тепловыделяющих элементов;
согласно изобретению каждый стол загрузки и выгрузки непосредственно у подъемника шагового подъема или опускания кассеты снабжен механизмом подъема или опускания шарнирно закрепленных в каркасе кассеты полок, выполненным в виде П-образной балки с расстоянием между стойками балки и высотой стоек больше длины и диаметра стержневого тепловыделяющего элемента, к которой закреплены выдвижные ловители шарнирно закрепленных полок с приводом их поворота вверх и вниз, при этом устройство снабжено системой автоматики, позволяющей осуществлять загрузку и выгрузку транспортной кассеты в автоматическом режиме, то есть отсекатель поштучной подачи ТВЭЛ на наклонном столе загрузки снабжен датчиком-счетчиком тепловыделяющих элементов, загружаемых в ручей между шарнирно-закрепленными полками, датчиком выдвижения и возврата ловителей шарнирно закрепленных полок, подъемник шагового подъема или опускания кассеты снабжен датчиком, взаимодействующим с вышеперечисленными датчиками. Другими отличиями является:
а) выполнение выдвижных ловителей, шарнирно закрепленных в каркасе полок в виде горизонтальных штырей, взаимодействующих зубчатой передачей с зубчатыми шестернями, расположенными на поворотном валу, подвижно закрепленным к балке;
б) выполнение выдвижных ловителей, шарнирно закрепленных в каркасе полок в виде горизонтально шарнирно поворотных на П-образной балке лепестков, взаимодействующих с длинномерным стержнем, к которому указанные лепестки шарнирно закреплены, а длинномерный стержень подвижно закреплен к П-образной балке и снабжен приводом возвратно-поступательного перемещения.
Выдвижные ловители снабжены приводом поворота их вверх, вниз.
Такое выполнение устройства позволит использовать его в автоматических линиях изготовления ТВЭЛ, контроля и разбраковки ТВЭЛ, подготовки ТВЭЛ к сборке в тепловыделяющую сборку, сборки ТВЭЛ в тепловыделяющую сборку изготовления каналов направляющих для тепловыделяющей сборки и т.д., что повысит производительность и снизит трудозатраты при загрузке и выгрузке ТВЭЛ в процессе их изготовления и сборки в тепловыделяющую сборку.
На чертежах представлено устройство загрузки, разгрузки и транспортировки тепловыделяющих элементов:
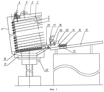
Фиг.1 – устройство разгрузки автоматической линии и загрузки транспортной кассеты;
Фиг.2 – устройство загрузки автоматической линии и разгрузки транспортной кассеты;
Фиг.3 – транспортная кассета;
Фиг.4 – выдвижные ловители полок кассеты (вариант 1);
Фиг.5 – выдвижные ловители полок кассеты (вариант 2).
Устройство загрузки, разгрузки и транспортировки тепловыделяющих элементов стержневого типа в виде транспортной кассеты 1, содержащей каркас 2 с шарнирно закрепленными полками 3, образующими ручьи 4, с упорами 5, фиксатором 6 полок 3, упорами 7, 8 по торцам каркаса 2, гнездом 9 для грузоподъемного механизма в верхней части, опорным днищем 10, взаимодействующим с подъемником 11 шагового подъема или опускания кассеты 1 до совпадения каждой полки 3 с наклонным столом загрузки 12 или выгрузки 13, имеющим отсекатели 14, 15 поштучной подачи тепловыделяющих элементов 16.
Каждый стол загрузки 12 и выгрузки 13 непосредственно у подъемника 11 шагового подъема или опускания кассеты 1 снабжен механизмом 17 подъема или опускания шарнирно закрепленных в каркасе 2 кассеты 1 полок 3, выполненным в виде П-образной балки 18 с расстоянием между стойками 19 балки 18 и высотой стоек 19 больше длины и диаметра стержневого тепловыделяющего элемента 16, к которой закреплены выдвижные ловители 20 шарнирно закрепленных полок 3. Устройство снабжено системой автоматики, позволяющей осуществлять загрузку и выгрузку транспортной кассеты 1 в автоматическом режиме, что особенно важно при использовании устройства в автоматических линиях.
Отсекатель 14 поштучной подачи ТВЭЛ 16 на наклонном столе 12 загрузки снабжен датчиком 21 – счетчиком ТВЭЛ 16, загружаемых в ручей 4 между шарнирно закрепленными полками 3. Выдвижные ловители 20 снабжены датчиками 22 выдвижения и возврата ловителей 20 шарнирно закрепленных полок 3. Подъемник 11 шагового подъема или опускания кассеты 1 снабжен датчиком 23, взаимодействующим с вышеперечисленными датчиками 21, 22.
Выдвижные ловители 20, шарнирно закрепленные в каркасе 2 полок 3, могут быть выполнены в двух вариантах.
Вариант 1.
Выдвижные ловители 20 выполнены в виде горизонтальных штырей, взаимодействующих зубчатой передачей с зубчатыми шестернями 24, расположенными на поворотном валу 25, закрепленном к П-образной балке 18.
Вариант 2.
Выдвижные ловители 20 выполнены в виде горизонтально шарнирно поворотных на П-образной балке 18 лепестков, взаимодействующих с длинномерным стержнем 26, к которому указанные лепестки шарнирно закреплены, а длинномерный стержень 26 подвижно закреплен к П-образной балке 18 и снабжен приводом 27 возвратно-поступательного перемещения.
Ловители 20 снабжены приводом 28 их поворота вверх, вниз. Устройство загрузки, разгрузки и транспортировки ТВЭЛ работает следующим образом. Транспортная кассета 1 с помощью гнезда 9 транспортируется на загрузку грузоподъемным механизмом и устанавливается своим опорным днищем 10 на подъемник 11 шагового подъема или опускания кассеты 1 таким образом, чтобы уровень нижнего ручья 4 между шарнирно закрепленными полками 3 в каркасе 2 кассеты совпал с уровнем наклонного стола 12 загрузки.
Открывается фиксатор 6 полок 3 кассеты 1 и приводом 28 выдвижные ловители 20 приподнимают полки 3 над нижним ручьем 4.
ТВЭЛы 16 по наклонному столу загрузки 12 через отсекатель 14 закатываются и заполняют ручей 4 между полками 3.
Датчик 21 счетчик дает команду “ручей заполнен”, ловители 20 выходят из зацепления с полками 3 и возвращаются в исходное положение с помощью датчика 22. По первому варианту возврат ловителей 20 в исходное положение осуществляется зубчатой передачей с шестернями 24, расположенными на поворотном валу 25, закрепленном к П-образной балке 18. Полки 3 нижнего ручья 4 закрываются упорами 5 и ловители 20 входят в зацепление с полками 3 над заполненным ручьем 4. Подъемник 11 опускает кассету на один шаг и полки 3, опираясь на ловители 20, открывают очередной ручей 4, либо ловители 20 приводом 28 приподнимают полки 3, открывая очередной ручей 4. Заполнение ручья 4 ТВЭЛами 16 происходит самокатом под П-образной балкой 18 между ее стойками 19 механизма 17 подъема или опускания полок 3.
По второму варианту ловители 20 выполнены в виде шарнирно-поворотных на П-образной балке 18 лепестков, взаимодействующих с длинномерным стержнем 26, к которому указанные лепестки шарнирно закреплены, а длинномерный стержень 26 подвижно закреплен к П-образной балке 18 и снабжен приводом 27 возвратно-поступательного перемещения. Подъем полок 3 над ручьем 4 осуществляется либо путем их опоры на ловители при опускании подъемника 11 на шаг, либо поворотом ловителей 20 вверх приводом 28.
Заполнение кассеты 1 ТВЭЛами 16 контролируется датчиком 23, который дает сигнал на прекращение подачи ТВЭЛ 16 и соответствующие сигналы на датчики 21, 22. Закрывается фиксатор 6 и кассета 1 с ТВЭЛами 16 транспортируется по назначению. Боковое смещение ТВЭЛов 16 в кассете 1 предупреждают упоры 7, 8 по торцам кассеты 1.
Выгрузка ТВЭЛ 16 из кассеты 1 на наклонный стол 13 с отсекателями 15 осуществляется следующим образом. В начале ловителями 20 открывается верхний ручей 4, т.е. приподнимаются верхние полки 3 и ТВЭЛы 16 скатываются на наклонный стол 13, затем открывается очередной ручей 4 при подъеме подъемника 11 на один шаг вверх и т.д. до полного опорожнения транспортной кассеты 1.
Формула изобретения
1. Устройство загрузки, разгрузки и транспортировки тепловыделяющих элементов стержневого типа в виде транспортной кассеты, содержащей каркас с шарнирно закрепленными полками, образующие ручьи с упорами, фиксатором полок, упорами по торцам каркаса, гнездами для грузоподъемного механизма в верхней части, опорным днищем, взаимодействующим с подъемником шагового подъема или опускания кассеты до совпадения каждой полки с наклонным столом загрузки или выгрузки, имеющим отсекатели поштучной подачи тепловыделяющих элементов, отличающееся тем, что каждый стол загрузки и выгрузки непосредственно у подъемника шагового подъема или опускания кассеты снабжен механизмом подъема или опускания шарнирно закрепленных в каркасе кассеты полок, выполненным в виде П-образной балки с расстоянием между стойками балки и высотой стоек больше длины и диаметра стержневого тепловыделяющего элемента, к которой закреплены выдвижные ловители шарнирно закрепленных полок с приводом их поворота вверх и вниз, при этом устройство снабжено системой автоматики, позволяющей осуществлять загрузку и выгрузку транспортной кассеты в автоматическом режиме, отсекатель поштучной подачи тепловыделяющих элементов на наклонном столе загрузки снабжен датчиком-счетчиком тепловыделяющих элементов, загружаемых в ручей между шарнирно закрепленными полками, датчиком выдвижения и возврата ловителей шарнирно закрепленных полок, подъемник шагового подъема или опускания кассеты снабжен датчиком, взаимодействующим с вышеперечисленными датчиками.
2. Устройство по п.1, отличающееся тем, что выдвижные ловители шарнирно закрепленных в каркасе полок выполнены в виде горизонтальных штырей, взаимодействующих зубчатой передачей с зубчатыми шестернями, расположенными на поворотном валу, подвижно закрепленному к балке.
3. Устройство по п.1, отличающееся тем, что выдвижные ловители шарнирно закрепленных в каркасе полок выполнены в виде шарнирно поворотных на П-образной балке лепестков, взаимодействующих с длинномерным стержнем, к которому указанные лепестки шарнирно закреплены, а длинномерный стержень подвижно закреплен к П-образной балке и снабжен приводом возвратно-поступательного перемещения.
4. Устройство по любому из пп.1-3, отличающееся тем, что выдвижные ловители снабжены приводом их поворота вверх и вниз.
РИСУНКИ
|
|