|
|
(21), (22) Заявка: 2000132185/14, 07.12.1999
(24) Дата начала отсчета срока действия патента:
07.12.1999
(30) Конвенционный приоритет:
30.12.1998 (пп.1-15) US 09/223,483
(43) Дата публикации заявки: 20.11.2002
(45) Опубликовано: 20.12.2004
(56) Список документов, цитированных в отчете о поиске:
ЕР 0850628 А1, 01.07.1998. RU 2062083 С1, 20.06.1996. US 5713886 А, 02.03.1998.
(85) Дата перевода заявки PCT на национальную фазу:
13.12.2000
(86) Заявка PCT:
US 99/29174 (07.12.1999)
(87) Публикация PCT:
WO 00/40197 (13.07.2000)
Адрес для переписки:
129010, Москва, ул. Б.Спасская, 25, стр.3, ООО “Юридическая фирма Городисский и Партнеры”, пат.пов. Ю.Д. Кузнецову
|
(72) Автор(ы):
ЛИХШТЕЙН Бернард М. (US), ЛУИЦЦИ Джозеф Майкл Мл. (US)
(73) Патентообладатель(и):
МакНЕЙЛ-ППС, ИНК. (US)
(74) Патентный поверенный:
Егорова Галина Борисовна
|
(54) ПРИКРЕПЛЯЕМЫЕ К ТЕЛУ МЕЖГУБНЫЕ ИЗДЕЛИЯ И СПОСОБЫ ИХ ИЗГОТОВЛЕНИЯ
(57) Реферат:
Настоящее изобретение относится к абсорбирующему межгубному изделию, содержащему крепежное средство на обращенной к телу поверхности для обеспечения возможности прикрепления изделия к телу пользователя с возможностью отделения. При использовании межгубное изделие находится на месте и самопроизвольно не смещается, являясь нетравматическим при ношении и удалении. Изделие имеет ширину 1,5-25 мм и длину, обеспечивающую покрытие влагалищного отверстия и отверстия мочеиспускательного канала. 14 з.п. ф-лы, 18 ил.

Область техники, к которой относится изобретение
Настоящее изобретение относится к абсорбирующим гигиеническим защитным изделиям, которым приданы заданные размеры для размещения преимущественно между малыми губами и/или большими губами женщины, и к способам изготовления таких изделий.
Предпосылки создания изобретения
Гигиенические защитные изделия в целом могут быть подразделен на три категории: наружные прокладки, которые располагают напротив промежности и прикрепляют либо к белью пользователя, либо непосредственно к телу пользователя, межгубные изделия, которые носят между малыми и большими губами и вблизи них, и внутренние изделия, такие как тампоны и приспособления для сбора, которые носят внутри влагалищного канала.
Большая часть женщин на стадии менструации выбирает не внутренние изделия и поэтому полагается главным образом на наружные прокладки и особенно – на межгубные изделия. Наружные прокладки обычно имеют большие размеры, поскольку они захватывают жидкость после того, как жидкость вышла из влагалища, имея потенциальную возможность перемещаться в многочисленных направлениях вдоль тела и наружу от него. После захвата жидкостей наружными прокладками возможность утечки жидкостей возрастает вследствие деформации, происходящей вследствие перемещения тела по отношению как к прокладке, так и к белью, к которому прикрепляют все промышленные прокладки, и отрывающей прокладку от тела.
В попытке уменьшить частоту повреждений прикрепляемых к белью наружных прокладок были изобретены изделия, предназначенные для прикрепления непосредственно к телу (см., например, патент США №5658270). Однако для того, чтобы жидкость захватывалась эффективно, такие приклеиваемые к телу прокладки должны прикрепляться к телу на значительном протяжении участков их соприкасающейся с телом поверхности. Межгубные изделия, которые хорошо известны из уровня техники, захватывают жидкость ближе к месту ее выхода, чем это делают наружные прокладки, и все же не находятся внутри влагалищного канала, как тампоны. Находясь между губами, они имеют меньший размер и являются менее дискредитирующими, чем прокладки. Пример изобретения, относящегося к современному межгубному изделию, раскрыт в патенте США №5484429, в котором описано изделие, содержащее поглощающий жидкость модуль, капиллярные волокна и модуль для размещения жидкости. В других изобретениях, например, в патентах США №5074855 и 5336208 описаны средства, которые предназначены для размещения между малыми губами и преддверием с целью изоляции и закрытия отверстия мочеиспускательного канала для сдерживания мочи страдающих недержанием женщин. Однако такие средства предназначены для предотвращения выхода мочи, а не для поглощения ее и других жидкостей организма, таких как менструальное выделение.
До настоящего времени использование межгубных изделий основано на трении, тесном размещении или на применении вспомогательного средства для прикрепления к белью, что позволяет располагать их для поглощения жидких выделений из организма с сохранением их положения во время использования. Не подтверждено, что трение или размещение сами по себе или в сочетании являются надежными способами для удержания этих изделий. Прикрепление к белью посредством вспомогательных средств способствует сдвигу и вытягиванию из губ во время использования аналогично тому, как это происходит с наружными прокладками, и, таким образом, приводит к возможности возникновения утечки и раздражения.
Поэтому существует необходимость в межгубном изделии, которое остается на месте, самопроизвольно не смещается и является нетравматическим при ношении и удалении.
Сущность изобретения
В соответствии с одним вариантом осуществления настоящего изобретения в настоящей заявке предусмотрено абсорбирующее изделие с заданными размерами и конфигурацией для размещения преимущественно между губами пользователя, содержащее: абсорбирующую структуру, имеющую проксимальную часть и дистальную часть, включающие в себя обращенную к телу и противоположно обращенную поверхности расположенные снаружи соответственно, и клей, расположенный на, по меньшей мере, части обращенной к телу, расположенной снаружи поверхности для прикрепления изделия к телу пользователя с возможностью отделения.
В соответствии со вторым вариантом осуществления изобретение предусмотрено абсорбирующее изделие с заданными размерами и конфигурацией для размещения преимущественно между губами пользователя, содержащее абсорбирующую структуру, имеющую проницаемую для жидкости наружную поверхность, по меньшей мере, одну боковую удлиненную часть, состоящую из непроницаемого для жидкости материала, развернутую наружу от дистальной кромки, при этом боковая удлиненная часть имеет обращенную к телу поверхность и противоположно обращенную поверхность, и клей, расположенный на, по меньшей мере, одной из проницаемой для жидкости наружной поверхности и обращенной к телу поверхности боковой удлиненной части для прикрепления изделия к телу пользователя с возможностью отделения.
В дополнение к специфическим абсорбирующим изделиям, указанным выше, в настоящем изобретении также предусмотрены два предпочтительных способа для изготовления таких изделий. Первый способ содержит следующие стадии, при осуществлении которых:
a) подготавливают ткань из абсорбирующего материала, имеющую центральную продольную ось симметрии,
b) покрывают, по меньшей мере, часть указанной ткани проницаемым для жидкости материалом,
c) складывают ткань вдоль ее центральной продольной оси симметрии, тем самым образуя складчатую кромку и расположенные рядом части,
d) сгибают расположенные рядом части наружу друг от друга и в одну плоскость друг с другом вдоль линии, дистальной для указанной складчатой кромки, тем самым образуя тканевую структуру, имеющую выступ и базовые части, при этом расстояние между линией и складчатой кромкой задает высоту выступа;
e) подготавливают непроницаемый для жидкости материал, имеющий центральную продольную ось симметрии,
f) складывают непроницаемый для жидкости материал вдоль его центральной продольной оси симметрии, тем самым образуя складчатую кромку и расположенные рядом части,
g) сгибают расположенные рядом части непроницаемого для жидкости материала наружу друг от друга и в одну плоскость друг с другом вдоль линии, дистальной для указанной складчатой кромки, тем самым образуя непроницаемую для жидкости структуру, имеющую выступ и базовые части, при этом расстояние между линией сгиба и складчатой кромкой задает высоту выступа,
h) совмещают и прикрепляют тканевые базовые части к непроницаемым для жидкости базовым частям, при этом тканевый выступ и непроницаемый для жидкости выступ располагают наружу в противоположных направлениях, тем самым образуя абсорбирующую структуру, и
i) разделяют абсорбирующую структуру на ряд абсорбирующих межгубных изделий.
Второй способ содержит следующие стадии, при осуществлении которых:
a) подготавливают ткань из абсорбирующего материала, имеющую центральную продольную ось симметрии,
b) складывают ткань вдоль указанной оси, тем самым образуя складчатую кромку и вторую кромку, содержащую расположенные рядом концы ткани,
c) подготавливают непроницаемый для жидкости материал,
d) оборачивают непроницаемый для жидкости материал вокруг расположенных рядом концов ткани, при этом обернутый непроницаемый для жидкости материал имеет расположенную снаружи поверхность, тем самым образуя абсорбирующую структуру, и
e) разделяют абсорбирующую структуру на ряд индивидуальных абсорбирующих межгубных изделий.
Краткое описание чертежей
На чертежах:
фиг.1 – перспективное изображение одного варианта осуществления настоящего изобретения,
фиг.2-6 – ряд профилей сечений проксимальных частей абсорбирующих межгубных изделий согласно изобретению, включающих в себя альтернативные клеевые рисунки,
фиг.7-10 – ряд поперечных сечений абсорбирующих межгубных изделий согласно настоящему изобретению,
фиг.11-13 – перспективные изображения ряда вариантов осуществления изделий, имеющих различные профили проксимальной части,
фиг.14 – поперечное сечение варианта осуществления настоящего изобретения, имеющего необязательные компоненты для приема, передачи и сохранения жидкости,
фиг.15 – абсорбирующее межгубное изделие, имеющее две боковые удлиненные части и клеевые зоны как на боковых удлиненных частях, так и на проксимальной части,
фиг.16 – вариант осуществления настоящего изобретения, имеющего большие боковые удлиненные части, дающие возможность обертывать участки боковых удлиненных частей вокруг белья пользователя,
фигуры 17a-17f – стадии первого способа для изготовления прикрепляемого к телу межгубного средства, и
фиг.18а-18b – стадии второго способа для изготовления прикрепляемого к телу межгубного изделия.
Подробное описание изобретения
Абсорбирующее межгубное изделие настоящего изобретения рассчитано на пребывание на месте без самопроизвольного выпадения во время использования, является удобным и не раздражает владельца, легко и безболезненно удаляется, когда в нем больше нет необходимости или когда его необходимо заменить. Изделие этого изобретения эффективно и производительно поглощает жидкие выделения, такие, как те, которые вытекают из влагалища и шейки до, во время и между менструальными периодами, из отверстия мочеиспускательного канала и из потовых желез.
Предусмотрено клеевое средство, введенное в настоящее изобретение для того, чтобы при использовании способствовать размещению изделий с прикреплением к телу. Кроме того, применено такое клеевое средство, что обеспечивается безопасное, не создающее раздражения приклеивание к части тела для удерживания средства во время использования и для получения возможности безопасного и нетравматического удаления его после использования.
Чтобы рассмотреть конструкцию, размещение и использование средства будет полезно описать женские наружные половые органы, где средство используется, и их периферическое анатомическое строение. Промежность представляет собой область взятых в целом наружных половых органов, сзади от анального отверстия, вперед к лобковому возвышению и в поперечном направлении от внутренней стороны одного бедра до другого бедра, при этом лобковое возвышение образовано из жировой ткани, покрытой лобковыми волосами. Вульва – часть области промежности, которая окружает наружные женские половые органы, включает в себя большие губы, которые представляют собой две жировые возвышенности относительно кожи, покрытые лобковыми волосами, которые окружают или покрывают наружные половые органы. В свою очередь, большие губы имеют внутренние губные поверхности и наружные губные поверхности. Клитор образует часть переднего соединения по направлению к лобковому возвышению больших губ. Задняя уздечка половых губ (задняя губная спайка) образует по отношению к анальному отверстию заднее соединение больших губ. Анатомическими отверстиями, из которых вытекают жидкие выделения, начиная от передней части промежности в направлении назад, являются отверстие мочеиспускательного канала, через которое по мочеиспускательному каналу моча выделяется из организма, влагалищное отверстие, из которого вытекают влагалищные выделения, такие как менструальная жидкость и другие секреты влагалища и разнообразных потовых желез. Малые губы представляют собой мягкие лоскуты из ткани внутри больших губ, которые окружают влагалищное отверстие и клитор. Преддверие является участком, окружающим влагалищное отверстие и вульву.
Изделие может быть прикреплено к лобковым волосам, покрывающим части промежности, такие как лобковое возвышение и вульву. Как вариант изделие может быть прикреплено к относительно безволосым частям, таким как внутренние поверхности больших губ, малые губы и внутренние поверхности бедер, и к расщелине между бедрами и промежностью. Кроме того, согласно настоящему изобретению предусмотрено прикрепление к телу в ряде областей.
Абсорбирующее межгубное изделие согласно настоящему изобретению содержит проксимальную часть, которая обращена к телу и проникает в губы, дистальную часть, которая обращена противоположно телу, передний конец, который обращен к клитору, но при использовании, предпочтительно, не соприкасается с ним; задний конец, который обращен к задней уздечке половых губ, но, предпочтительно, не соприкасается с ней, а также имеет высоту, которая задает степень проникновения между губ, длину, которая обеспечивает покрытие влагалищного отверстия и отверстия мочеиспускательного канала, и ширину, которая обеспечивает хорошее расположение в пространстве между губами.
Хотя изделие предназначено главным образом для расположения между губами, изделие содержит, что предпочтительно, боковые удлиненные части, которые могут находиться как внутри губ, так и снаружи губ.
Нижеследующее представляет собой подробное описание изобретения, показанного на фигурах. На фиг.1 представлено перспективное изображение первого варианта осуществления абсорбирующего изделия 20 этого изобретения, и этот вариант осуществления может иметь, что необязательно, непроницаемый для жидкости барьер 5, полезный для предотвращения утечки жидкости из абсорбирующего изделия 20 на одежду пользователя. Абсорбирующее изделие 20 включает в себя абсорбирующий материал и содержит проксимальную часть 2, имеющую наружную кромку 3, которая дальше всего проникает в пространство, по меньшей мере, между большими губами, дистальную часть 6, которая имеет наружную кромку 7 и расположена противоположно проксимальной части 2, передний конец 8, который обращен к клитору, но, предпочтительно, не соприкасается с ним при использовании, задний конец 9, который обращен к задней уздечке половых губ, но, предпочтительно, не соприкасается с ней, две противоположные боковые поверхности 10, 12, расположенные между наружными кромками 3 и 7, высота 13 которых определяет степень проникновения внутрь губ, длина 14 которых обеспечивает покрытие влагалищного отверстия и/или отверстия мочеиспускательного канала, и ширина 16 которых обеспечивает надежное размещение внутри пространства между губами и обеспечивает хороший контакт с, по меньшей мере, дистальными участками больших губ. Существенно, что абсорбирующее изделие 20 также содержит клей 18, предпочтительно – клей, приклеивающийся к телу, для прикрепления абсорбирующего изделия 20 к телу, в данном случае к большим губам и/или к вульве. Линия А-А, также изображенная на фиг.1, представляет собой линию для получения поперечных сечений, показанных на фиг.7-10.
Высота 13 должна быть достаточной для обеспечения возможности прохождения абсорбирующего изделия 20 сквозь пространство между губами для захвата и поглощения жидких выделений из организма, без приложения излишнего давления к малым губам и к преддверию. Для соответствующего прохождения высота 13, измеренная от дна вульвы до наружной стороны вульвы, может быть в зависимости от анатомических размеров пользователя в пределах от примерно 3 мм до примерно 6,5 мм, а предпочтительно – от примерно 6,5 мм до примерно 9,5 мм. Кроме того, высота 13 может быть больше 10 мм, при этом получается высота, которая может быть большей, чем необходимая для достаточного и удобного прохождения сквозь пространство между губами, при условии, что допускается выход излишней высоты за пределы вульвы. Кроме того, такая излишняя высота полезна, поскольку облегчает пользователю захват при введении и удалении абсорбирующего изделия 20. Нет необходимости, чтобы высота 13 была постоянной. Например, для захвата влагалищных выделений она может быть, предпочтительно, большей на заднем конце 9, чем на переднем конце 8, в тех случаях, когда желательно не влиять на чувствительный клитор. Кроме того, высота может быть одной и той же или может не быть одной и той же на переднем и заднем концах 8, 9 соответственно, и может быть большей или меньшей между ними, чем на переднем конце 8 или на заднем конце 9.
Длина 14 может изменяться в пределах от примерно 6 мм до примерно 75 мм, предпочтительно – от примерно 12 мм до примерно 45 мм, а наиболее предпочтительно – от примерно 20 мм до примерно 30 мм, что зависит от того, имеется ли в виду, что абсорбирующее изделие 20 покрывает влагалищное отверстие, отверстие мочеиспускательного канала или оба отверстия без раздражающего соприкосновения с клитором и задней уздечкой половых губ, а также зависит от анатомических размеров пользователя.
Длина 14 может быть одной и той же или различной, большей или меньшей, для проксимальной части 2 и дистальной части 6. Размер проксимальной части 2 по периметру будет определяться степенью покрытия, которую изделие обеспечивает для данного пользователя. Для некоторых потребителей может быть необходимо, чтобы изделие покрывало как влагалищное отверстие, так и отверстие мочеиспускательного канала для поглощения цервикальных выделений и мочи. Как вариант межгубное изделие с проксимальной частью, имеющей уменьшенный размер по периметру, будет находиться на месте для сбора цервикального выделения и в то же самое время обеспечивать неограниченное мочеиспускание.
Ширина 16 может быть в пределах от примерно 1,5 мм до вплоть примерно 25 мм, но предпочтительно – от примерно 3 мм до не больше чем примерно 12,5 мм, в зависимости от анатомических размеров пользователя и от количества жидкого выделения, которое предполагается захватить, и должна быть достаточной для удобного и плотного размещения внутри пространства между губами для эффективного захвата жидких выделений. Нет необходимости иметь постоянную ширину 16. Однако предпочтительно она может быть, например, большей или меньшей в проксимальной части 2, чем в дистальной части 6.
Если не указано иное, цифровые обозначения, использованные на фиг.1, подразумеваются теми же, что использованы на протяжении остальной части описания.
На фиг.2-6 показаны в качестве примеров без ограничения ими виды сбоку изделий 25, 30, 35, 40, 45, которые отражают предшествующее рассмотрение относительно длины 14 и высоты 13, при этом проксимальная часть 2, дистальная часть 6, передний конец 8, задний конец 9 и одна боковая поверхность 10 обозначены так же, как на фиг.1.
Кроме того, на фигурах 2-6 показаны примеры альтернативных рисунков и мест расположения клея 18 на боковой поверхности 10. Клей 18 может быть нанесен на одно или несколько мест на абсорбирующей структуре 20 в виде непрерывного покрытия, прерывающегося покрытия, соприкасающихся сегментов покрытия, отдельных сегментов покрытия, узорчатого покрытия, волокнистого покрытия и их сочетаний. Рисунки покрытия могут быть, например, в виде точек, штрихов, кругов, симметричных, несимметричных и абстрактных фигур и их сочетаний.
На фиг.7-10 изображены изделия 50, 55, 60, 65, имеющие различные геометрии поперечных сечений. Такие профили поперечных сечений могут отображать передний конец 8, задний конец 9 и любое поперечное сечение между ними, например, взятое по линии А-А на фиг.1, для различных вариантов осуществления, предусмотренных в настоящем изобретении, в том числе изображенных на остальных фигурах.
Специалисту в данной области техники очевидно, что можно использовать сочетания профилей для ширины и длины, чтобы получить оптимальную защиту с достижением удобства и удержания средства между губами. Профиль проксимальной части 2 может быть различным, чтобы обеспечить больший или меньший контакт с женскими половыми органами для достижения баланса между удобством и хорошим контактом, а также размещение, способствующее эффективному захвату жидкости. На фиг.11 и 12 показаны перспективные изображения изделий 70 и 75 с примерами таких профилей, в которых канавки 22 на проксимальной части 2 ограничивают соприкосновение с женскими половыми органами и в то же самое время обеспечивают хорошую способность к захвату жидкости и предотвращают обход жидкостью абсорбирующего изделия. На фиг.13 показано абсорбирующее изделие 80, имеющее плоскую проксимальную часть 2 для того, чтобы обеспечить большую площадь поверхности приема жидкости, особенно на заднем конце 9, предназначенном для расположения вблизи влагалищного отверстия пользователя, без образования неудобного объема на переднем конце 8, предназначенном для расположения вблизи отверстия мочеиспускательного канала пользователя.
На фиг.14 изображено в поперечном сечении абсорбирующее изделие 85 с иллюстрацией приема жидкости, переноса и накапливания поглощенных компонентов, которые могут иметься. Абсорбирующее изделие 85 имеет обращенную к телу и соприкасающуюся с ним поверхность 26 и обращенную в противоположную сторону поверхность 54. В данном случае абсорбирующее изделие 85 последовательно содержит абсорбирующий внутренний слой 34 и необязательно нижеследующие проницаемое для жидкости покрытие 32, передаточный слой 28 для перемещения жидкости непосредственно через абсорбирующий внутренний слой 34, фитильное средство 36 для перемещения жидкости вниз от проксимальной части 38 по направлению к дистальной части 42, и барьер 44 для жидкости. Кроме того, показано клеевое средство 46 для прикрепления изделия непосредственно к телу пользователя. Для защиты клея 46 до использования можно применить, что необязательно, съемную бумагу (непоказанную).
Фитильное средство 36 может быть изготовлено из материалов, имеющих хорошие капиллярные характеристики, например, из тонкой бумаги, жгутов с вертикально ориентированными волокнами, торфяного мха и некоторых синтетических волокнистых тканей, таких как полипропиленовые, которые обрабатывают рядом способов, чтобы сделать их гидрофильными, и которые имеют подходящую плотность и/или усиливающую капиллярность структуру для содействия на всем протяжении капиллярному продвижению от тела пользователя.
На фиг.15 изображено абсорбирующее изделие настоящего изобретения с двумя боковыми удлиненными частями. Абсорбирующее изделие 100 показано с клеевыми зонами 110 и 111, расположенными как на проксимальной части 102, так и на боковых удлиненных частях 104. Кроме того, клеевые зоны могут находиться в пределах либо проксимальной части, либо боковых удлиненных частей. Также показан необязательный, захватываемый пальцами элемент 103. На фиг.15 показана цельная структура, которая может обеспечить как поглощение жидкости, так и барьер для утечки жидкости. Один способ образования такой цельной структуры заключается в литье изделия из вспененного материала и, кроме того, в обработке материала и/или управлении процессом литья, например, путем изменения количества теплоты и/или давления для образования поверхностей как с открытыми ячейками, так и с закрытыми ячейками.
Предпочтительно, абсорбирующее изделие настоящего изделия имеет, по меньшей мере, одну боковую удлиненную часть, которая проходит от поверхности между губ до наружной стороны губ (за пределы губ). Предпочтительно, изделие включает в себя две боковые удлиненные части, развернутые наружу от первой и второй дистальных кромок. Кроме того, боковые удлиненные части могут содержать клей на участках расположенной снаружи поверхности, направленной к телу пользователя. Клеи и способы их нанесения, которые являются применимыми для внегубных поверхностей, таких как лобковое возвышение, наружные поверхности губ и внутренние стороны бедер, описаны в обычным образом переуступленном патенте США №5658270, включенном в настоящее описание посредством ссылки.
Предпочтительно, боковые удлиненные части выполнены из материала, который по своей природе является растяжимым или может быть обработан для получения растяжимости, позволяющей приклеивать боковые удлиненные части к внутренним сторонам бедер при сохранении сцепления во время обычной активности пользователя. Материалы можно сделать растяжимыми путем выполнения механических операций, таких как плиссировка, рифление или раскатка. В дополнение к этому материал может быть перфорированным или со щелями. При необходимости, геометрию и размеры перфораций или щелей можно изменять, тем самым обеспечивая растяжимость во многих направлениях. Кроме того, материалы могут быть растяжимыми по своей природе, такие как пленки с добавкой полиэтилена, реализуемые фирмой Эксксон, в частности, пленка ЕХХ-7. Более подробное описание растяжимых изделий и способов их изготовления содержится в патенте США №5824004, включенном в настоящую заявку посредством ссылки.
Кроме того, в рамках настоящего изобретения предполагается, что боковым удлиненным частям приданы размеры и формы, обеспечивающие обертывание промежностного участка белья пользователя и прикрепление к нему. В этом варианте осуществления, показанном на фиг.16, предусмотрен клей, находящийся на расположенной снаружи поверхности боковых удлиненных частей, направленной от тела, для сцепления клея с наружной поверхностью белья пользователя. Абсорбирующее изделие 90 показано с боковыми удлиненными частями 91, обернутыми вокруг промежностного участка 95 белья. Имеются клеевые зоны 93, расположенные на проксимальной части 94, а также клеевые зоны 92, расположенные на боковых удлиненных частях 91.
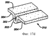
На фиг.17a-17f показаны стадии, содержащиеся в предпочтительном способе изготовления согласно изобретению прилипающего к телу, абсорбирующего межгубного изделия. На фиг.17а изображен отрезок абсорбирующей ткани 200 совместно с необязательным, проницаемым для жидкости покровным материалом 201 и необязательным клеевым средством 202 для обеспечения устойчивости тканевого выступа, образованного путем складывания ткани. Абсорбирующую ткань 200 складывают вдоль центральной оси В-В симметрии ткани, показанной на фиг.17а, чтобы образовать тканевую структуру 210, показанную на фиг.17b, имеющую тканевый выступ 203 и тканевые базовые части 204. Затем аналогичные стадии складывания повторяют в отношении непроницаемого для жидкости материала, при этом непроницаемый для жидкости материал является, предпочтительно, газопроницаемым, действующим как барьер, чтобы предотвратить пачкание жидкостью тела или белья пользователя. На фиг.17с показан отрезок непроницаемого для жидкости материала 300 совместно с необязательным клеевым средством 302 для обеспечения устойчивости непроницаемого для жидкости выступа, образованного путем складывания непроницаемого для жидкости материала. Непроницаемый для жидкости материал 300 складывают вдоль центральной оси С-С симметрии непроницаемого для жидкости материала, показанной на фиг.17с, чтобы образовать непроницаемую для жидкости структуру 310, показанную на фиг.17d, имеющую непроницаемый для жидкости выступ 303 и непроницаемые для жидкости базовые части 304. Далее тканевую структуру 210 и непроницаемую для жидкости структуру 310 прикрепляют друг к другу. На фиг.17е изображены тканевая структура 210 и непроницаемая для жидкости структура 310, пространственно совмещенные и прикрепленные, при этом тканевый выступ 203 и непроницаемый для жидкости выступ 303 развернуты наружу в противоположных направлениях относительно друг друга. Клей для приклеивания к телу может быть нанесен, что необязательно, на часть тканевой структуры.
На фиг.17f показано законченное, приклеиваемое к телу абсорбирующее межгубное изделие 400, изготовленное в соответствии с вышеуказанными стадиями, имеющее клей 401 на соприкасающихся с телом поверхностях тканевых базовых частей 204, проксимальную часть 403, дистальную часть 404, передний конец 405 и задний конец 406.
Абсорбирующая ткань, использованная в способе, описанном выше со ссылками на фиг.17a-17f, может быть однослойной или многослойной, содержащей подходящий абсорбирующий материал, раскрытый в последующих частях описания. Точно так же непроницаемый для жидкости материал может быть образован совместно с рядом материалов и в ряде конфигураций, все из которых раскрыты ниже.
На фиг.18а и 18b представлен второй способ изготовления согласно настоящему изобретению приклеиваемого к телу абсорбирующего межгубного изделия. На фиг.18а показан отрезок абсорбирующей ткани 200 совместно с необязательным, проницаемым для жидкости покровным материалом 201 и необязательным клеевым средством 202 для обеспечения устойчивости тканевого выступа, образованного путем складывания ткани самой по себе. Ткань складывают вдоль центральности оси D-D симметрии ткани, показанной на фиг.18а, чтобы образовать тканевую складчатую кромку и наложенные друг на друга тканевые части. Затем непроницаемый для жидкости материал оборачивают вокруг наложенных друг на друга тканевых частей, полностью закрывая тканевые части. После этого на наружную поверхность части непроницаемого для жидкости материала наносят клей. На фиг.18b показано законченное, приклеиваемое к телу абсорбирующее межгубное изделие 500, изготовленное в соответствии с вышеуказанными стадиями, имеющее клей 401 на непроницаемом для жидкости материале 300.
Выбор клея для вариантов осуществления этого изобретения зависит от характера, состояния и чувствительности анатомической поверхности, к которой изделие должно быть приклеено. Например, состав и свойства клеев, которые прилипают преимущественно к содержащим волосы поверхностям, могут отличаться от состава и свойств клеев, которые прилипают к относительно безволосым поверхностям.
Кроме того, клеи, которые предполагается использовать для приклеивания к чувствительным участкам, таким как межгубные поверхности (ассоциируемые с малыми губами и большими губами), преддверие и относительно менее волосистые внутренние поверхности вульвы, должны удовлетворять иным требованиям, поскольку эти участки более чувствительны к давлению, истиранию и раздражению, а часто также являются влажными. Специалисты в данной области техники без труда поймут, что клей более чем одного типа и сочетания или смеси этих клеев могут подходить для использования в изделиях настоящего изобретения.
Предпочтительными клеями и их составами являются те, которые не имеют или имеют относительно низкий потенциал раздражения и не имеют потенциала сенсибилизации. Предпочтительными являются так называемые “гипоаллергенные” клеи, которые имеют немного или не имеют потенциально раздражающих компонентов, таких как некоторые мономеры, компоненты с малой молекулярной массой, и добавок, таких как антиоксиданты, пластификаторы и стабилизаторы.
Для настоящего изобретения пригодны клеи многих классов, включая, но без ограничения ими, растворные клеи, эмульсионные клеи, теплые клеи-расплавы и горячие клеи-расплавы. Клеи могут быть либо гидрофильными, либо гидрофобными. Представительный, но не исключительный перечень клеев включает в себя клеи на следующей основе: эмульсионные или содержащие растворитель, клеи из натурального или синтетического полиизопрена, сополимера бутадиена и стирола или винилацетата и полиакрилата или их сочетаний; клеи-расплавы на основе подходящих блок-сополимеров; при этом подходящие блок-сополимеры для использования в изобретении включают в себя линейные или радиальные сополимерные структуры, имеющие формулу (А-В)х, где блок А представляет собой поливинилареновый блок, блок В представляет собой поли(моноалкениловый) блок, х означает число полимерных ветвей и при этом х является целым числом, большим чем 1 или равным ей; и горячий клей-расплав на основе полимеров и сополимеров олефина, где олефиновый полимер представляет собой тройной сополимер этилена и сомономера, такого как винилацетат, акриловая кислота, метакриловая кислота, этилакрилат, n-бутилакрилат, винилсилан или малеиновый ангидрид.
Подходящий блок А поливиниларенов включает в себя, но без ограничения ими, полистирол, полиальфаметилстирол, поливинилтолуол и их сочетания. Подходящий блок В поли(моноалкенилов) включает в себя, но без ограничения ими, эластомеры, имеющие диены с сопряженными двойными связями, такие как, например, полибутадиеновые или полиизопреновые, или гидрогенизированные эластомеры, такие как этиленбутилен или этиленпропилен, или полиизобутилен, или их сочетания. Примеры промышленных блок-сополимеров включают в себя эластомеры под фирменным названием “Кратон” от компании Шелл Кемикал Компани, эластомеры под фирменным названием “Вектор” от фирмы Декско, эластомеры под фирменным названием “Солпрен” от фирмы Эникем и эластомеры под фирменным названием “Стереон” от компании Файрстон Тайэ энд Рубер Ко. Примеры промышленных полимеров и сополимеров олефина включают в себя полимеры под фирменным названием “Атева” от фирмы AT пластикс, полимеры под фирменным названием “Нукрел” от фирмы Дюпон и полимеры под фирменным названием “Ескор” от фирмы Эксксон Кемикал.
Дополнительные клеи, пригодные для настоящего изобретения, представляют собой полисилоксановые клеи, описанные в патенте США №5618281; клеи, склеивающие при надавливании, которые используют для приклеивания обтуратора стомы и приклеивания к телу некоторых приспособлений для лечения ран, имеющие такие составы, как смеси желатина, натриевой карбоксиметилцеллюлозы и поликарбонатов, таких как полиизобутилен, например, те клеи, которые описаны в патенте США №4795449 и продаются фирмой Холлистер, Инк. под названием “Холлихезив”; гидроколлоиды, содержащие, например, примерно 70% нитрилового клея, а также “Вистанекс” от фирмы Эксксон Корп. и пектин; гидрофильные гидрогельные клеевые материалы, например “Промеон”, продаваемый фирмой Промеон Дивижн оф Медтроник, Инк. и описанный в патенте США №5074855; и, кроме того, описанный в патенте США №5336208 поли-2-гидроксиэтилметилметакрилат, пластифицированный полиэтиленгликолем, при этом другими пластификаторами являются пропиленгликоль, полипропиленгликоль, глицерин и вода.
Предпочтительными составами мягкого (нетравматического) клея для настоящего изобретения являются “гелеобразные” по свойствам, в эти составы попадают клеи на основе блок-сополимера гидрогеля и масла, как, например, те, которые раскрыты в патентах США №4833193, 5559165 и 5074855. Более низкий модуль упругости этих гелеобразных клеев позволяет подвергать их большей деформации. Таким образом, они могут более легко капсулировать лобковые волосы и соответствуют анатомическим поверхностям в промежностной области, гарантируя удовлетворительную прочность связи при прикреплении к телу. Поскольку во время пользования изделием к клейкому связующему слою прикладываются касательное и изгибающее усилия, то достаточно толстое покрытие будет допускать возможность деформации, тем самым ограничивая силы разрушения, приводящие к отделению изделия. При удалении небольшая прочность сцепления клеевых гелей в сочетании со смазывающим свойством содержимого с большим количеством масла позволяет безболезненно удалять клеевые гели с кожи.
Толщина покрытия, клейкость и усилие для отделения определены ниже, исходя из достижения требуемого баланса, необходимого для достаточного, но не агрессивного клеевого прикрепления и легкого безболезненного, иными словами, нетравматического удаления и повторного наложения на те же самые анатомические участки. Пределы поверхностной плотности покрытия, используемого в этом изобретении, составляют от примерно 1,5 до примерно 2000 мг/см2, при предпочтительных пределах от примерно 190 до примерно 1600 мг/см2 и наиболее предпочтительных пределах от примерно 300 до примерно 1100 мг/см2.
Значения клейкости клеев, применимых в настоящем изобретении, измеренные в соответствии со стандартизованным способом испытаний ASTM D-2979 Американского общества по испытанию материалов, составляют, предпочтительно, от примерно 100 до примерно 500 г, более предпочтительно – от примерно 150 до примерно 300 г и наиболее предпочтительно – от примерно 175 до 250 г. Вышеуказанные значения клейкости относятся к толщине клеевого покрытия, указанной ранее.
Значения усилия для отделения клеев, применимых в настоящем изобретении, измеренные в соответствии со стандартизованным способом PSTC-1 180 (для самоприклеивающейся ленты) испытаний на степень отслаивания и отнесенные к ширине составляют, предпочтительно, меньше чем примерно 325 г/см, более предпочтительно – меньше чем примерно 150 г/см и наиболее предпочтительно – меньше чем примерно 100 г/см.
Способы, использованные для нанесения клеев на изделие, включают в себя, но без ограничения ими, покрытие через щели, напыление, покрытие ножевым устройством, покрытие экструзией и покрытие переносом как например, нанесение через трафарет и фотогравировку. До нанесения клеи можно вспенить, например, используя промышленное оборудование фирмы Нордсон Корпорей-шэн.
Из эмульсии или раствора клеи можно наносить с образованием непрерывных или дискретных рисунков непосредственно на подложку изделия или на отдельную подложку для последующего переноса на изделие. Если клей наносят на участок изделия, который предназначен для приема и поглощения жидкости, то предпочтительно, чтобы клей наносился в виде прерывающегося или волокнистого покрытия или в виде пористой пленки, посредством чего создаются пустоты; или чтобы непрерывное клеевое покрытие получалось гидрофильным и водопроницаемым путем введения в клей полимера с гидрофильным компонентом или подходящей гидрофильной добавки.
Абсорбирующий материал, применяемый в настоящем изобретении, может содержать простые или сложные абсорбирующие структуры, которые принимают, переносят, распределяют, сохраняют и удерживают жидкость, а также предотвращают выход жидкости из абсорбирующего изделия. Абсорбирующий материал может быть образован одним или несколькими слоями с одинаковыми или различными основными свойствами. Абсорбирующим материалом может быть простой абсорбент, такой как древесная целлюлоза, который может включать в себя стабилизирующие компоненты, такие как синтетические волокна, которые используют таким образом, чтобы образовалась мостиковая матрица, или в случае связывания их термическим путем сплавляют между собой и с древесной целлюлозой для образования стабилизирующей размер структуры.
Синтетические волокна могут быть либо гидрофильными, такими как гидратцеллюлозное волокно, или гидрофобными, такими как полипропилен или полиэфир. Синтетические волокна можно получить более смачиваемыми путем обработки смачивающим веществом, таким как поверхностно-активное вещество, путем травления волокон каустической содой, например, тех волокон, которые изготовлены из полиэфира, путем введения в состав волокнистого полимера смачивающих полимеров, таких как полиэтиленоксид или поливиниловый спирт, путем прививки смачиваемых реагентов на поверхность волокна и воздействия на волокно коронным разрядом. Периферический профиль синтетических волокон может иметь любую форму. Кроме того, синтетические волокна могут иметь канавки, каналы или отверстия; и могут иметь лунки или быть перфорированными. Абсорбирующий материал может также содержать вспомогательные абсорбенты, такие как гидратцеллюлозное волокно или хлопковое волокно, торфяной мох и сверхабсорбирующие волокна или частицы. Количество сверхабсорбирующего материала, приходящегося на изделие, может находиться в пределах от примерно 0,1 г до примерно 5 г, более предпочтительно – от примерно 0,2 г до примерно 2,5 г, а наиболее предпочтительно – от примерно 0,3 г до примерно 1 г.
Абсорбенты, такие как торфяной мох, в виде картона или сжатого слоя могут дополнительно действовать как структуры, оказывающие сопротивление сжатию или деформации, или способствовать сохранению формы абсорбирующей структуры при изготовлении и использовании. Абсорбенты в виде картона могут быть сделаны гибкими и конформными путем придания им мягкости посредством, например, рифления, гофрирования или перфорирования картона. Кроме того, сама по себе древесная целлюлоза может состоять, по меньшей мере, частично из волокон, сшитых в мокром состоянии, сшитых в сухом состоянии, с повышенной химически жесткостью или из извитых волокон. Синтетические волокна и вспомогательные абсорбенты могут быть распределены равномерно по абсорбирующему материалу, могут находиться в отдельных слоях или образовывать непрерывные или дискретные градиенты концентрации. Кроме того, абсорбирующий материал может содержать вспененный материал в виде слоев или частиц, при этом вспененный материал является либо гидрофобным, либо гидрофильным, в зависимости от его места и функции в изделии, например, поглощения, амортизации, сопротивления деформации и сопротивления сжатию. Абсорбирующий материал может быть, по меньшей мере, частично несжатым, сжатым или иным образом уплотненным. Сжатие и уплотнение может быть равномерным по абсорбирующему материалу или осуществлено в отдельных слоях или с образованием непрерывных и дискретных градиентов плотности.
Проницаемый для жидкости покровный материал может быть использован, что необязательно, для охвата частей абсорбирующего материала. Проницаемый для жидкости материал может быть изготовлен из, по меньшей мере, одного слоя любого перфорированного материала, через который проходят жидкости, включая тканые или вязаные, но чаще всего – нетканые материалы, ткани, несетчатый вспененный материал с открытыми ячейками, перфорированные пленки или их сочетания. Нетканые ткани включают в себя любые из тех, которые изготовлены из штапельных волокон, из непрерывных нитей, из штапельных волокон, среди которых имеются включения натуральных волокон, таких как хлопковых, рами, из древесной целлюлозы и кенафных, и из синтетических волокон, среди которых имеются включения гидратцеллюлозного волокна, полиолефиновых волокон, как, например, полиэтиленовых, полипропиленовых, полиэфирных, полиамидных, полиакрилонитрильных, волокон полимеров сложных виниловых эфиров, а также многокомпонентных волокон, при этом многокомпонентные волокна изготавливают из полимера с низкой температурой плавления, который, по меньшей мере частично, выходит на поверхность волокна, и полимера с высокой температурой плавления. Нетканые ткани могут быть образованы из волокон и/или нитей любыми известными способами изготовления тканей, где применимы такие процессы, как отверждение и склейка тканей как например, с помощью мокрой укладки или сухой укладки для образования нетканого материала со случайным расположением волокон или с помощью сухой укладки для выработки ватки, или склейка тканей совместно с химическими связующими или с помощью термического способа, такого как склеивание в потоке воздуха, а, кроме того, ткани можно изготовить прямым путем, например, путем перепутывания струями воды, прядением или аэродинамическим формованием из расплава.
Перфорированные пленки имеют отверстия, профиль которых по толщине пленки имеет два или три размера, при этом пленки могут быть изготовлены из полимеров, которые включают в себя полиэтилены, полипропилены, полиуретаны, полиамиды, сополимеры этилена и винилацетата и т.п., и их сочетания. Если ткани или пленки являются гидрофобными, а их необходимо сделать смачиваемыми, то их можно сделать смачиваемыми до различной степени, например, путем обработки пленки поверхностно-активным веществом, путем воздействия коронным разрядом, путем прививки на пленку смачиваемых реагентов, путем травления пленки каустической содой, как, например, это делают с полиэфиром, или путем внедрения смачиваемых полимеров, таких как полипропиленоксид и поливиниловый спирт, в состав полимеров, используемых для изготовления ткани или пленки.
Чтобы улучшить характеристики поглощения жидкости абсорбирующего межгубного изделия, можно добавить необязательный передаточный слой (связующий слой), который обычно располагают между абсорбирующим материалом и проницаемым для жидкости покровным материалом. Однако передаточный слой можно расположить в другом месте, например, внутри абсорбирующего материала или под ним. Передаточные слои могут выполнять многочисленные функции, включая, но без ограничения ими, капиллярную передачу жидкости к имеющемуся абсорбирующему материалу, работу в качестве однонаправленного распределителя для предотвращения выдавливания захваченной жидкости и придание изделию упругости для предохранения его от разрушения, особенно при заполнении жидкостью.
Материалы, применимые в передаточных слоях, представлены материалами и структурами, менее гидрофильными, чем абсорбирующие материалы, как, например, тканями из полученного формованием из расплава полипропилена или из полиэфирных волокон. Такие ткани могут также содержать древесную целлюлозу, введенную внутрь. Кроме того, передаточный слой может быть выполнен из высокосортных нетканых тканей низкой плотности, состоящих из древесной целлюлозы и синтетических волокон, таких как полиэтиленовые, полипропиленовые, полиэфирные, полиакрилонитрильные и полиамидные, и из многокомпонентных волокон, описанных выше. Такие высокосортные ткани могут быть склеены химическими связующими веществами или термическими способами, такими как склеивание в потоке воздуха и горячее тиснение. Передаточный слой может также состоять из перфорированной пленки, профиль отверстий которой по толщине пленке является либо двумерным, либо, что предпочтительно, трехмерным.
Кроме того, в качестве средства для улучшения способности изделия поглощать жидкость и для обеспечения структурной устойчивости можно использовать несколько передаточных слоев. В патенте США №5752945 раскрыто абсорбирующее изделие, имеющее передаточный лист, в котором передаточный лист имеет, по меньшей мере, два слоя. В указанном патенте №5752945 показано, что первый слой может обеспечить упругость в сухом и мокром состояниях и способность удерживать жидкость, тогда как второй слой может обеспечить поперечную капиллярность или пути потоков для того, чтобы более равномерно распределить жидкость по абсорбирующему внутреннему слою.
Межгубное изделие может содержать дополнительные материалы для охвата участков абсорбирующего материала. В частности, дистальная часть изделия может содержать непроницаемый для жидкости материал в качестве заднего листа, чтобы способствовать предотвращению передачи захваченной жидкости к телу или белью пользователя. Непроницаемый для жидкости задний лист может также содержать участки клея на своей расположенной снаружи поверхности, в результате чего пользователь может прикреплять изделие к своему белью, что необязательно.
Непроницаемый для жидкости защитный лист может быть любым гибким материалом, который предотвращает прохождение газов. Обычно используемыми материалами являются полиэтиленовые или полипропиленовые пленки.
Другие материалы, которые можно использовать в качестве непроницаемого для жидкости заднего листа, выбирают из пленок, изготовленных из полиэфиров, полиамидов, этиленвинилацетата, поливинилхлорида, поливинилиденхлорида, целлофана, нитроцеллюлозы и ацетата целлюлозы. Можно использовать сочетания совместно выдавленных и слоистых материалов, упомянутых выше, при этом такие сочетания обладают химическими и физическими свойствами пленок. Кроме того, можно использовать непроницаемые для жидкости сетчатые вспененные материалы и обработанную водоотталкивающими веществами бумагу.
Можно использовать пленки, которые представляют собой барьеры для жидкостей, но обеспечивают возможность просачивания газов, т.е. “газопроницаемые барьеры”. Их можно выбрать из полиуретановых пленок и из микропористых пленок, в которых микропоры создают посредством ионизационного излучения или путем выщелачивания растворимых включений с использованием водных и неводных растворителей. Один слой или ряд слоев проницаемых пленок, тканей и их сочетаний, которые обеспечивают извилистые пути, и/или чьи характеристики поверхности обеспечивают получение отталкивающей жидкость поверхности, можно также использовать для образования таких газопроницаемых барьеров.
Существует ряд способов, применимых для сборки всех вышеуказанных элементов в конечное изделие, включая, но без ограничения ими, термосваривание, использование технологии крючков и застежек, использование конструкционных клеев и использование ультразвука. Предпочтительно, конструкционные клеи используют при склеивании элементов друг с другом. Представительный, неограничивающий перечень материалов, пригодных в качестве конструкционных клеев, включает в себя акрилы, горячие расплавы на основе крахмала, клеи на основе блок-сополимеров винилового ароматического углеводорода и одного или нескольких диенов с сопряженными двойными связями или гидрогенизированных алифатических блоков, полимеры молочной кислоты, горячие расплавы на основе полиолефинов, такие как аморфные полиальфаолефины, которые могут состоять из одного или нескольких нижеследующих мономеров, из пропилена, этилена, бутана и гексена, горячие расплавы на основе полиэтилена низкой плотности или сополимеров полиэтилена низкой плотности, включающих в себя этиленвинилацетат, метилакрилат, n-бутилакрилат и акриловую кислоту.
Взятое в целом абсорбирующее межгубное изделие может быть изготовлено из простых сочетаний или составов материалов, которые обеспечивают как поглощение жидкости, так и непроницаемость для жидкости.
Раскрытия всех патентов, а также любые соответствующие опубликованные описания иностранных патентов, упомянутые на протяжении этого описания, включены в настоящее описание посредством ссылок. Однако в данном случае безусловно не признается, что любой из документов, включенных в настоящее описание посредством ссылок, представляет или раскрывает настоящее изобретение.
Хотя были показаны и описаны конкретные варианты осуществления настоящего изобретения, дополнительные изменения и модификации могут быть сделаны без отступления от сущности и объема настоящего изобретения. Поэтому предполагается, что приложенная формула изобретения охватывает все такие изменения и модификации, которые находятся в рамках объема этого изобретения.
Формула изобретения
1. Абсорбирующее изделие с заданными размерами и конфигурацией для размещения преимущественно между губами пользователя, содержащее абсорбирующую структуру, имеющую проксимальную часть и дистальную часть, включающие в себя обращенную к телу и противоположно обращенную поверхности, расположенные соответственно снаружи, и клей, расположенный на, по меньшей мере, части обращенной к телу, расположенной снаружи поверхности для прикрепления изделия к телу пользователя с возможностью отделения, в котором абсорбирующее изделие имеет ширину в пределах от примерно 1,5 мм до примерно 25 мм и длину, обеспечивающую покрытие влагалищного отверстия и отверстия мочеиспускательного канала.
2. Изделие по п.1, в котором противоположно обращенная, расположенная снаружи поверхность содержит непроницаемый для жидкости задний лист.
3. Изделие по п.2, в котором непроницаемый для жидкости задний лист выполнен газопроницаемым.
4. Изделие по п.1, в котором обращенная к телу, расположенная снаружи поверхность содержит проницаемое для жидкости покрытие.
5. Изделие по п.4, дополнительно содержащее, по меньшей мере, один передаточный слой, расположенный между проницаемым для жидкости покрытием и абсорбирующей структурой.
6. Изделие по п.1, в котором поверхностная плотность покрытия из клея составляет от примерно 1,5 мг/см2 до примерно 2000 мг/см2.
7. Изделие по п.1, в котором клей имеет значение усилия для отделения меньше чем примерно 325 г/см, отнесенное к ширине.
8. Изделие по п.1, в котором клей имеет значение клейкости от примерно 100 г до примерно 500 г.
9. Изделие по п.1, в котором клей выбран из группы, состоящей из растворных клеев, эмульсионных клеев, теплых клеев-расплавов, горячих клеев-расплавов и вспененных клеев.
10. Изделие по п.1, в котором использован гидрофильный клей.
11. Изделие по п.10, в котором гидрофильный клей представляет собой гидроколлоидный материал, выбранный из группы, состоящей из желатина, натриевой карбоксиметилцеллюлозы, полиизобутилена, поли-2-гидроксиэтилметилметакрилата и их сочетания.
12. Изделие по п.1, дополнительно содержащее клей, расположенный на, по меньшей мере, части обращенной в противоположную сторону расположенной снаружи поверхности.
13. Изделие по п.1, дополнительно содержащее, по меньшей мере, одну боковую удлиненную часть, развернутую наружу от дистальной кромки.
14. Изделие по п.13, дополнительно содержащее крепежное средство, расположенное на, по меньшей мере, части обращенной наружу поверхности боковых удлиненных частей для обеспечения прикрепления боковых удлиненных частей к телу пользователя с возможностью отделения.
15. Изделие по п.1, дополнительно содержащее захватываемый пальцами элемент.
РИСУНКИ
MM4A – Досрочное прекращение действия патента СССР или патента Российской Федерации на изобретение из-за неуплаты в установленный срок пошлины за поддержание патента в силе
Дата прекращения действия патента: 08.12.2007
Извещение опубликовано: 20.07.2010 БИ: 20/2010
|
|