|
|
(21), (22) Заявка: 2001126398/12, 31.03.2000
(24) Дата начала отсчета срока действия патента:
31.03.2000
(30) Конвенционный приоритет:
01.04.1999 (пп.1-30) US 60/127,459
(43) Дата публикации заявки: 20.07.2003
(45) Опубликовано: 20.12.2004
(56) Список документов, цитированных в отчете о поиске:
DE 254775 А, 03.05.1912. US 5249376 А, 05.10.1993. RU 2114670 C1, 10.07.1998. RU 2033227 C1, 20.04.1995. FR 2196826 А, 22.03.1974. US 3306623 А, 28.02.1967. WO 9801051 А, 15.01.1998. US 5797609 A, 25.08.1998. US 4364187 А, 21.12.1982. DE 19755340 А1, 17.06.1999.
(85) Дата перевода заявки PCT на национальную фазу:
28.09.2001
(86) Заявка PCT:
US 00/08633 (31.03.2000)
(87) Публикация PCT:
WO 00/59323 (12.10.2000)
Адрес для переписки:
129010, Москва, ул. Большая Спасская, 25, стр.3, ООО “Юридическая фирма Городисский и Партнеры”, пат.пов. Е.В.Томской
|
(72) Автор(ы):
АДАМС Роджер Р. (US)
(73) Патентообладатель(и):
ХИЛИНГ СПОРТС ЛИМИТЕД. (US)
(74) Патентный поверенный:
Томская Елена Владимировна
|
(54) УСТРОЙСТВО ДЛЯ КАТАНИЯ НА ПЯТКЕ И СПОСОБ
(57) Реферат:
Настоящее изобретение относится в общем к области обувных изделий и к активным видам спорта. Обувное изделие для катания на пятке содержит подошву, включающую в себя носочную часть, дугообразную часть и пяточную часть с полостью, образованной в этой части. Средство качения, удерживаемое в полости в пяточной части, расположено так, что при использовании в режиме некачения основной контакт обувного изделия с землей обеспечивается носочной частью подошвы, и как таковое обувное изделие не катится. В режиме качения средство качения обеспечивает основной контакт с землей, чтобы предоставить возможность пользователю катиться по земле, при этом изменение режима осуществляется путем переноса массы пользователя с носочной части к средству качения в пяточной части. Таким образом, раскрыта необычная благоприятная перспектива появления совершенно нового вида спорта и физической активности, привлекательных для большей части людей. 3 с. и 27 з.п. ф-лы, 21 ил.

Область техники, к которой относится изобретение
Настоящее изобретение относится в общем к области обувных изделий и к активным видам спорта, а более конкретно к устройству для катания на пятке и к способу.
Предпосылки создания изобретения
Физическая активность или экстремальные виды спорта охватывают разнообразные виды спорта, такие как скейтбординг, сноубординг, катание на одноколейных роликовых коньках, скалолазание и затяжные прыжки с парашютом. Для большей части видов физической активности или экстремального спорта необходимо дорогостоящее и громоздкое снаряжение, которое может использоваться только в отдельных и часто в ограниченных районах. Поскольку для большей части людей эти отдельные и ограниченные районы не находятся поблизости, то удовольствие от этих видов физической активности можно получать только в выбранные промежутки времени. Это приводит к затратам значительных средств на снаряжение, которое используется нерегулярно, и только когда имеется большой промежуток времени для поездки к таким отдельным и ограниченным районам с целью проявления физической активности. Вследствие этих ограничений и неудобств интерес к этим видам физической активности ослабевает.
Краткое описание изобретения
В настоящем изобретении раскрыта необычная благоприятная перспектива появления совершенно нового вида спорта и физической активности, привлекательных для большей части людей, свободных от недостатков, ограничений и трудностей, упомянутых выше. Из предшествующего можно понять, что существует необходимость в разработке устройства для катания на пятке и связанных с ним способов для того, чтобы заложить основу нового вида физической активности или экстремального спорта без необходимости больших затрат на снаряжение.
В соответствии с одной особенностью настоящего изобретения разработано устройство для катания на пятке, которое включает обувь, имеющую полость в подошве, например в пяточной части подошвы, для размещения колесного узла, и при этом колесный узел расположен в полости подошвы обуви. Колесный узел может включать ось, колесо, установленное на оси, и установочную конструкцию, пригодную для поддержания оси. В альтернативных вариантах осуществления колесный узел включает в себя только колесо, установленное на оси, и этот узел не нуждается в установочной конструкции. В других вариантах осуществления установочная конструкция встроена в подошву обуви или выполнена как ее часть.
В соответствии с другой особенностью настоящего изобретения разработана колесно-осевая сборка, предназначенная для использования в колесном узле устройства для катания на пятке, которая включает в себя колесо, первый подшипник, второй подшипник и ось. Колесо имеет осевое отверстие, первую кольцевую выемку на первой стороне колеса, которая окружает осевое отверстие на первой стороне, и вторую кольцевую выемку на второй стороне колеса, которая окружает осевое отверстие на второй стороне. Первый подшипник расположен в первой кольцевой выемке на первой стороне колеса, а второй подшипник расположен во второй кольцевой выемке на второй стороне колеса. Ось расположена внутри осевого отверстия колеса, так что колесо с возможностью вращения связано с осью посредством первого подшипника и второго подшипника.
В соответствии с еще одной особенностью настоящего изобретения разработан способ катания с использованием устройства для катания на пятке на поверхности, который включает в себя бег по поверхности при использовании носочной части подошвы устройства для катания на пятке для зацепления с поверхностью и качение по поверхности вместе с колесом устройства для катания на пятке, выступающим под низом подошвы через полость в подошве при использовании колеса устройства для катания на пятке для соприкосновения с поверхностью.
В соответствии с еще одной дальнейшей особенностью настоящего изобретения разработан способ для изготовления устройства для катания на пятке, который включает в себя создание обуви, которая имеет подошву, образование полости в подошве обуви, которая продолжается до нижней поверхности подошвы, и размещение колесного узла в полости подошвы обуви.
Настоящее изобретение обладает большим количеством технических преимуществ, одно из которых заключается в способности устройства для катания на пятке функционировать в качестве обычной комфортабельной обуви для ходьбы или даже для бега и функционировать в качестве обуви для качения, которое исключительно в настоящей заявке можно назвать “качением на пятке” (“хилингом”).
Другое техническое преимущество настоящего изобретения заключается в возможности реализации изобретения с использованием, по существу, любой имеющейся обуви, такой как обычные ботинки, бутсы, домашние туфли, мокасины, сандалии, тапочки, вязаная обувь и т.п. Обычный ботинок может быть включен в состав устройства для катания на пятке предпочтительно путем образования выреза или полости в пяточной части подошвы такой обычной обуви. Поэтому настоящее изобретение может быть реализовано при использовании обычной обуви, которая во время обычного применения внешне выглядит как обычная обувь. Это позволяет практически осуществлять настоящее изобретение с “тайной” или “скрытой” возможностью физической активности, поскольку по внешнему виду устройство образовано с использованием обычной обуви. В предпочтительном варианте осуществления настоящего изобретения подошву обычной спортивной обуви можно использовать в настоящем изобретении без необходимости изготовления плохо смотрящейся обуви с толстой подошвой для размещения колеса.
Кроме того, техническое преимущество настоящего изобретения заключается в возможности реализации изобретения совместно с другими активными спортивными принадлежностями, такими, какие используются в спортивных представлениях с преодолением препятствий, например в спортивных представлениях с преодолением препятствий, организуемых студенческой организацией по планированию спортивной деятельности, в которых также используются элементы проскальзывания или скольжения.
Еще одно техническое преимущество настоящего изобретения заключается в возможности использования настоящего изобретения для проведения доставляющей удовольствие тренировки по аэробике.
Еще одно техническое преимущество настоящего изобретения заключается в возможности улучшенного управления поворотом и маневрированием наряду с тем, что обеспечивается долговечность, надежность и механическая прочность устройства. Использование настоящего изобретения обеспечивает долговечность и надежность в суровых атмосферных условиях и при интенсивном и многократном использовании, в том числе способность противостоять силам, возникающим при выполнении скачков, быстрого вращения и маневров всех видов.
Еще одно техническое преимущество заключается в возможности удаления колес и осей для того, чтобы подшипники можно было легко заменять и проводить техническое обслуживание, и для того, чтобы можно было при желании, в зависимости от условий, использовать колеса, подшипники и оси различных видов.
Еще одно техническое преимущество настоящего изобретения заключается в использовании колесно-осевой сборки, которую за счет фрикционной посадки можно легко вводить и удалять из колесного узла или установочной конструкции.
В других вариантах осуществления колесный узел или устройство для катания на пятке включает в себя отводимое колесо. Это предоставляет пользователю возможность быстро и удобно переходить от использования устройства для катания на пятке в качестве обычной обуви к использованию устройства для катания на пятке для качения (“хилинга”). Колесо перемещают из отведенного положения в подошве или пятке устройства для катания на пятке в вытянутое положение, при этом по меньшей мере часть колеса выступает под подошвой для качения. Отводимое колесо может быть реализовано с использованием ряда сборок и/или конструкций, таких как поворотный палец, двухпозиционный узел с использованием сжимаемой оси, шарнирное устройство или даже пружинное устройство.
Другие технические преимущества станут без труда очевидными для специалиста в области техники, к которой относится изобретение, из нижеследующих чертежей, описания и формулы изобретения.
Краткое описание чертежей
Теперь для более полного понимания настоящего изобретения и его преимуществ обратимся к нижеследующему краткому описанию, выполненному с использованием сопровождающих чертежей, и к подробному описанию, в котором одинаковые ссылочные номера относятся к эквивалентным деталям, при этом на чертежах:
фигура 1 – вид сбоку, который иллюстрирует устройство для катания на пятке в соответствии с одним вариантом осуществления настоящего изобретения, выполненное с использованием спортивного ботинка;
фигуры 2А и 2В – виды снизу, которые иллюстрируют два варианта осуществления подошвы устройства для катания на пятке с полостями в подошвах;
фигуры 3А и 3В – виды снизу двух вариантов осуществления подошвы, представленных на фигурах 2А и 2В, с показом колеса в каждой полости подошв;
фигура 4 – перспективное изображение, которое иллюстрирует колесо, с возможностью вращения установленное на оси; это изображение также можно назвать иллюстрацией колесно-осевой сборки, предназначенной для использования в колесном узле согласно одному варианту осуществления настоящего изобретения;
фигура 5 – перспективное изображение, которое иллюстрирует установочную конструкцию, предназначенную для использования совместно с колесом, с возможностью вращения установленным на оси, как показано на фигуре 4, с целью образования колесного узла;
фигура 6 – вид снизу, который иллюстрирует колесный узел, который включает в себя колесо, с возможностью вращения установленное на оси, как показано на фигуре 4, и установочную конструкцию из фигуры 5;
фигура 7 – вид сбоку, который иллюстрирует колесный узел, расположенный над полостью в обуви и проходящий через нее с целью образования устройства для катания на пятке;
фигуры 8А, 8В, 8С и 8D – виды разнообразных колес, которые иллюстрируют профиль поверхности этих колес в различных вариантах осуществления настоящего изобретения;
фигура 9 – перспективное изображение, которое иллюстрирует установочную конструкцию другого варианта осуществления, предназначенную для использования в колесном узле устройства для катания на пятке;
фигура 10 – перспективное изображение, которое иллюстрирует еще один вариант осуществления колесного узла, предназначенного для использования в устройстве для катания на пятке;
фигура 11 – вид сбоку с местным разрезом, который иллюстрирует один вариант осуществления устройства для катания на пятке, при этом колесный узел расположен в подошве устройства для катания на пятке, а полость в подошве не проходит полностью через подошву;
фигура 12 – вид сбоку другого варианта осуществления, который иллюстрирует устройство для катания на пятке настоящего изобретения со съемной крышкой колеса, расположенной так, что она закрывает колесо и полость в подошве;
фигура 13 – вид снизу, который иллюстрирует еще один вариант осуществления настоящего изобретения с шариком, выполняющим функцию колеса и расположенным в установочной конструкции в полости, образованной в пяточной части подошвы;
фигура 14 – перспективное изображение, которое иллюстрирует человека, “катающегося на пятках” (“хилера”), использующего настоящее изобретение для “качения на пятках” (“хиляния”);
фигура 15 – перспективное изображение, которое иллюстрирует колесо, с возможностью вращения установленное на оси; это изображение также можно назвать иллюстрацией колесно-осевой сборки, аналогичной показанной на фигуре 4;
фигура 16 – вид с местным разрезом, который иллюстрирует сжимаемую ось колесно-осевой сборки из фигуры 15, выполненную в виде подпружиненной сжимаемой оси;
фигура 17 – перспективное изображение, которое иллюстрирует другую установочную конструкцию, предназначенную для использования совместно с колесно-осевой сборкой в случае сжимаемой оси, показанной на фигуре 15 и фигуре 16, с целью образования колесного узла;
фигура 18 – вид сбоку с местным разрезом, который иллюстрирует колесный узел, проходящий через полость в подошве; этот вид отражает один вариант осуществления оси, которая сцеплена с установочной конструкцией с целью получения отводимого колеса при использовании узла, который может быть назван узлом поворотного пальца;
фигура 19 – вид снизу, который иллюстрирует колесный узел из фигуры 18; на виде также показан состоящий из двух частей поворотный палец;
фигура 20 – вид сбоку, который иллюстрирует один элемент установочной конструкции; на виде также показано сцепление оси с установочной конструкцией с использованием состоящего из двух частей узла поворотного пальца;
фигура 21 – перспективное изображение с пространственным разделением деталей, которое иллюстрирует двухкомпонентное колесо, содержащее внутренний сердечник и наружную шину, и которое может быть использовано в настоящем изобретении.
Подробное описание изобретения
С самого начала необходимо иметь в виду, что, хотя ниже показаны типовые варианты осуществления настоящего изобретения, настоящее изобретение можно выполнить, используя любой ряд технологий, материалов, конструкций и конфигураций, в настоящее время известных или имеющихся в наличии. Настоящее изобретение не следует ограничивать типовыми вариантами осуществления, чертежами и технологиями, показанными ниже, в том числе типовыми конструкциями и вариантами осуществления, показанными в настоящей заявке.
С самого начала следует иметь в виду, что, хотя ниже показаны типовые варианты осуществления настоящего изобретения, настоящее изобретение можно выполнить, используя ряд механизмов, компоновок, конструкций и/или технологий. Следовательно, настоящее изобретение не должно толковаться как ограниченное типовыми вариантами осуществления, чертежами и технологиями, показанными и описанными в настоящей заявке.
На фигуре 1 показан вид сбоку устройства 10 для катания на пятке согласно одному варианту осуществления настоящего изобретения, выполненного с использованием спортивного ботинка 12. Предпочтительно, устройство 10 для катания на пятке включает колесный узел, расположенный в полости пяточной части подошвы обуви. Для примера спортивный ботинок 12 имеет полость внизу пяточной части 18 подошвы 14 с колесным узлом, расположенным в полости так, что колесо 16 выступает под низом подошвы 14. Предпочтительно колесный узел включает по меньшей мере одно колесо, например колесо 16, установленное с возможностью вращения на оси (не показанной на фигуре 1). Предпочтительно колесо 16, установленное на оси, расположено в заданном положении в полости подошвы 14 посредством установочной конструкции (не показанной на фигуре 1), которая осуществляет поддержание оси так, что часть колеса 16 выступает под пяточной частью 18 подошвы 14.
Предпочтительно величина или длина части колеса 16, которая выступает под низом подошвы 14 и определена как расстояние 24, меньше диаметра колеса 16. Однако расстояние 24 может быть больше, меньше или равно диаметру колеса 16.
Спортивный ботинок 12 может быть описан в целом, что справедливо для большей части обуви, как имеющий подошву 14 и верхнюю часть 26. Верхняя часть 26 может быть изготовлена практически из любого материала, такого как кожа, пластик или суровое грубое полотно. Подошва 14 может иметь три части: (1) внутреннюю подошву или стельку (не показанную на фигуре 1); (2) промежуточную подошву 28; и (3) наружную подошву или подметку 30. Стелька может обеспечивать дополнительное амортизирующее действие и может быть или может не быть удаляемой. В некоторых вариантах осуществления стелька может включать удаляемую часть, такую как стелька доктора Шолла, и часть, которая остается прикрепленной к спортивному ботинку 12. Предпочтительно, подошва 30 изготовлена из долговечного материала, например из резины, и может иметь текстурированную поверхность, снабженную выпуклостями для создания дополнительной силы сцепления. Промежуточная подошва 28 обычно должна изготавливаться из мягкого или “амортизирующего” материала и обычно толще стельки и подметки 30. Однако в некоторых вариантах осуществления подошва 14 содержит только одну часть, такую как кожаная подошва мягких туфель типа мокасин. В других вариантах осуществления подошва 14 может включать каблук или предмет, который приподнимает обувь, такой как пятка кожаного модного ботинка. Этот каблук или предмет может считаться элементом пяточной части 18 подошвы 14.
Должно быть понятно, что настоящее изобретение может быть реализовано практически в любой обуви независимо от конструкции или выполнения подошвы 14.
Из уровня техники известны различные модели обуви и способы изготовления обуви, и они хорошо известны специалисту обычной квалификации в области техники, к которой относится изобретение. Например, в патентах США №4245406, 5319869, 5384973, 5396675, 5572804, 5595004 и 5885500, которые включены в настоящее описание посредством ссылок, содержится основополагающая информация, относящаяся к различной обуви и к способам изготовления обуви.
Кроме того, в большей части обуви, включая спортивный ботинок 12, подошва 14 может быть подразделена, как показано на фигуре 1, на три части или области: на (1) пяточную часть 18, (2) дугообразную часть 20 и (3) носочную часть 22. Должно быть понятно, что невозможно точно обозначить и расположить пяточную часть 18, дугообразную часть 20 и носочную часть 22 подошвы 14, и что положения таких частей изменяются от обуви одного типа к другому. Поэтому расположение, границы и размеры пяточной части 18, дугообразной части 20 и носочной части 22 подошвы 14 представляют собой только грубые приближения.
Следует также понимать, что, хотя полость в нижней части подошвы 14 и, следовательно, колесо 16 расположены предпочтительно в пяточной части 18 подошвы 18, такая полость также может быть расположена на границе пяточной части 18 и дугообразной части 20, в дугообразной части 20 или практически в любом другом месте подошвы 14. Полость в нижней части подошвы 14 может проходить сквозь всю подошву 14, например через подметку, промежуточную подошву и стельку, или только частично проходить через подошву 14, например через подметку и часть или всю промежуточную подошву.
По существу, колесо 16 может быть изготовлено или выполнено из любого доступного материала, например из уретана, пластика, полимера, металла, сплава, древесины, резины, композиционного материала и т.п. Например, материалом может быть алюминий, титан, сталь или резина. Предпочтительно материал должен быть долговечным, обеспечивать нужный показатель плавной и бесшумной работы и должен создавать ощущение “мягкости” или “амортизирующего действия”. В одном варианте осуществления колесо 16 реализовано в виде одного или нескольких прецизионных подшипников, в результате чего сам прецизионный подшипник выполняет функцию колеса 16. В еще одном варианте осуществления колесный узел может включать пружину или подвеску, например пластинчатую пружину, для обеспечения дополнительной амортизации или подвески при соприкосновении колеса 16 с поверхностью и приложении к спортивному ботинку 12 силы в направлении к поверхности, когда кто-либо надевает устройство 10 для катания на пятке и ходит. Предпочтительно пружина образована как часть установочной конструкции колесного узла. В еще одном варианте осуществления колесо 16 выполнено как состоящее из двух деталей и имеет внутренний сердечник, например твердый внутренний сердечник, окруженный наружной шиной, например уретановой шиной.
В зависимости от желаемого исполнения колесо 16 и ось могут быть выполнены удаляемыми из колесного узла. В таком случае в полости подошвы 14 можно предусмотреть съемную крышку для закрытия полости, чтобы мусор и грязь не попадали в полость. Съемную крышку можно выполнить практически любой возможной формы, которую без труда может выбрать специалист обычной квалификации в области техники, к которой относится изобретение. В одном варианте осуществления съемной крышки осевая часть съемной крышки вставлена и/или сцеплена с установочной конструкцией таким же образом или аналогично, как ось, на которой установлено колесо, вставлена и/или сцеплена с установочной конструкцией колесного узла. Кроме того, для облегчения удаления оси и колеса 16 можно разработать инструмент. Предпочтительно, этот инструмент должен быть небольшим и многофункциональным для осуществления любых других возможных регулировок в спортивном устройстве 10 для катания на пятке, например, выполненным в виде отвертки, гаечного ключа и т.п. В других вариантах осуществления устройства 10 для катания на пятке колесо 16 может быть выполнено отводимым в полость подошвы 14. В этом случае колесо 16 может убрано в подошву 14 и, следовательно, не будет выступать под нижней частью подошвы 14. Это позволит устройству 10 для катания на пятке выполнять точно такую же функцию, какую выполняет обычная обувь, например спортивный ботинок 12.
В одном варианте осуществления настоящего изобретения колесный узел не имеет оси и предположительно не имеет установочной конструкции, а колесо 16 выполнено в виде сферы, например в виде шаровой опоры из нержавеющей стали, которая с возможностью вращения установлена в полости в нижней части пяточной части 18 подошвы 14; один вариант осуществления шаровой опоры показан на фигуре 13. В другом варианте осуществления колесный узел содержит ось, расположенную полностью на протяжении или частично на протяжении пяточной части 18 подошвы 14, так что подошва 14 поддерживает ось, а колесо, с возможностью вращения установленное на оси, находится в полости подошвы 14. Таким образом исключается необходимость в установочной конструкции.
При эксплуатации человек, надевший устройство 10 для катания на пятке, может либо нормально ходить, либо катиться на колесе 16 при отрыве или подъеме подошвы 14 так, чтобы только или почти только колесо 16 соприкасалось с поверхностью. Это действие может быть названо “качением на пятке” (“хилингом” или “хилянием”). В зависимости от выбранного варианта осуществления настоящего изобретения колесо 16 может быть удаляемым или отводимым в заданное положение, так что колесо 16 может не выступать под нижней частью подошвы 14. Это в основном является результатом выполнения устройства 10 для катания на пятке подобным ассоциируемой с ним обуви. Когда колесо 16 удалено или отведено, съемную крышку можно поместить поверх полости в нижней части подошвы 14 для предотвращения попадания грязи в полость и возможного повреждения колесного узла. В других вариантах осуществления для облегчения ходьбы съемную крышку можно поместить поверх колеса 16, при этом часть колеса 16 остается выступающей под низом подошвы 14, пример этого показан на фигуре 12.
Однако должно быть понятно, что даже если колесо 16 не удалено или не отведено, как только что описано, пользователь все же может достаточно удобно ходить и бегать даже при выступающем колесе 16. Это, как правило, осуществимо потому, что расстояние 24 может быть минимальным, и катание на пятке представляет собой уникальную “скрытую” или “тайную” особенность. Это также является следствием вращения колеса в полости или выемке в подошве 14 устройства 10 для катания на пятке. В одном варианте осуществления расстояние 24 меньше радиуса колеса 16, что приводит к тому, что большая часть колеса остается внутри полости подошвы 14.
На фигурах 2А и 2В приведены виды снизу двух вариантов осуществления подошвы 14 устройства 10 для катания на пятке. В частности, подметка 30 или нижняя часть подошвы 14 показана на фигуре 2А с полостью 40 в пяточной части 18 подошвы 14. В показанном варианте осуществления полость 40 образована квадратной или прямоугольной по форме. Однако полость 40 можно выполнить практически любой формы, например круговой или эллиптической формы.
Как указывалось ранее, полость 40 может проходить частично или полностью через подошву 14. Полость 40 можно образовать в каблуке. Кроме того, полость 40 может быть расположена вблизи или на границе пяточной части 18, дугообразной части 20 и носочной части 22.
На фигуре 2В показан второй вариант размещения и формы полости 40. Подметка 30 показана с полостью 40А и с полостью 40В в пяточной части 18 подошвы 14. Таким образом, одно или несколько колес, включая одну или несколько осей, можно расположить в полостях 40А и 40В.
На фигурах 3А и 3В приведены виды снизу двух вариантов осуществления подошвы 14, представленной на фигурах 2А и 2В, и показано колесо в каждой из полостей подошв: то есть колесо 42, расположенное в полости 40 на фигуре 3А, и колесо 42А, а также колесо 42В в полостях 40А и 40В соответственно на фигуре 3В.
Колесо 42 и колеса 42А и 42В показаны цилиндрическими колесами. Однако в действительности эти колеса можно выполнить любой подходящей формы. Кроме того, в каждой полости можно установить одно или несколько колес.
На фигуре 3А дополнительно показаны другие элементы колесного узла, которые включают первый элемент 48 и второй элемент 54 установочной конструкции, которые использованы для разъединяемого сцепления с осью 50. Ось 50 проходит через колесо 42 так, что колесо 42 с возможностью вращения сцеплено или установлено на оси 50. Предпочтительно в этом случае используют прецизионные подшипники, например высококачественные прецизионные подшипники, расположенные в выемке, например в кольцевой выемке, на каждой стороне колеса 42. Первый прецизионный подшипник 56 и второй прецизионный подшипник 58 могут быть прецизионными подшипниками марки АВЕС, и они показаны пунктирными линиями и расположены в первой выемке и во второй выемке колеса 42. В альтернативном варианте осуществления можно использовать свободно надетый шарикоподшипник.
Ось 50 может быть изготовлена из любого материала, который имеет подходящие физические характеристики, например прочность и массу, не говоря уже о других. Предпочтительно ось 50 изготавливают из закаленной стали цилиндрической по форме, каждый конец закругляют и с возможностью разъединения сцепляют с первым элементом 48 и со вторым элементом 54 соответственно установочной конструкции. Разъединяемое сцепление между каждым концом оси 50 и первым элементом 48 и вторым элементом 54 можно получить с помощью любого известного или доступного механизма. В предпочтительном варианте осуществления со сферическим или шариковым подшипником используют предпочтительно подвижную пружину и/или поджим пружиной для контакта и оказания воздействия на боковую стенку между одним или несколькими элементами установочной конструкции и осью 50.
Следует отметить, что, поскольку масса пользователя устройства 10 для катания на пятке будет создавать значительную, направленную вниз силу, а грунт или поверхность будет создавать равновеликую, направленную вверх силу, то ось 50 и, следовательно, колесо 42 будут, как правило, принуждаться находиться на месте. Только когда пятку отрывают от поверхности, будет требоваться какая-либо сила или трение для удержания оси 50 на месте. Поэтому в настоящем изобретении не требуется большая боковая сила для удержания оси 50 и колеса 42 на месте. Следует осознавать этот факт, который можно считать особенностью настоящего изобретения для показанного варианта осуществления. Это осознание позволяет оптимальным образом рассчитать разъединяемое сцепление между каждый концом оси 50 и первым элементом 48 и вторым элементом 54.
На фигуре 3А также показана проскальзывающая пластина 44 (которая также может быть названа скользящей пластиной 44), которую можно использовать в сочетании с устройством 10 для катания на пятке настоящего изобретения. Проскальзывающая пластина 44 имеет гладкую или относительно гладкую поверхность для обеспечения возможности пользователю “проскальзывать” или “скользить” на различных поверхностях, например поручней, бордюрных камней, ступенек, ребер и т.п. Предпочтительно, проскальзывающая пластина 44 выполнена до некоторой степени тонкой и изготовлена из пластика или полимера. В предпочтительном варианте осуществления проскальзывающая пластина 44 с возможностью удаления прикреплена к дугообразной части 20 подметки 30 подошвы 14. Проскальзывающую пластину 44 можно закрепить, используя любую известную или имеющуюся в распоряжении крепежную деталь, например крепежную деталь 46, показанную в различных местах по контуру проскальзывающей пластины 44.
Кроме того, на фигуре 3В показана ось 52, на одном и другом конце которой зацеплены колесо 42А и колесо 42В соответственно. Ось 52 проходит через оба колеса 42А и 42В и через часть подошвы 14, невидимую на фигуре 3. Это обеспечивает поддержку оси 52 и иллюстрирует ситуацию, когда подошва 14 выполняет функцию установочной конструкции колесного узла. При этом уменьшается суммарное число деталей. В альтернативном варианте осуществления металл или некоторый иной подходящий материал можно использовать в пяточной части 18 подошвы 14, где ось 52 расположена с дополнительной поддержкой и устойчивостью. Это является примером, когда установочная конструкция фактически встроена в подошву 14. Как понятно специалистам в области техники, к которой относится изобретение, настоящее изобретение можно реализовать рядом способов.
На фигуре 4 показано перспективное изображение колеса 60, установленного с возможностью вращения на оси 62, его также можно назвать изображением колесно-осевой сборки согласно одному варианту осуществления, предназначенной для использования в колесном узле или в устройстве для катания на пятке. Колесо 60 и ось 62 также можно назвать колесно-осевой сборкой 400. В этом варианте осуществления ось 62 проходит через колесо 60 и включает два конца, которые скруглены или имеют форму пули. Прецизионный подшипник 64 показан расположенным в выемке, которая показана как кольцевая выемка колеса 60, облегчающая вращение колеса 60 вокруг оси 62. Предпочтительно второй прецизионный подшипник расположен во второй выемке, не показанной на фигуре 4, для дальнейшего облегчения такого вращения.
Вблизи прецизионного подшипника 64 вокруг или почти вокруг оси 62 расположен проскальзывающий зажим, проскальзывающее кольцо или кольцевой зажим 66. Он обеспечивает гарантию того, что прецизионный подшипник 64 сохраняется на месте в выемке колеса 60. Предпочтительно проскальзывающий зажим или кольцевой зажим 66 расположен на оси 62 в канавке, например в радиальной канавке или в радиальной выемке, образованной на оси 62. Однако должно быть понятно, что обычный специалист в области техники, к которой относится изобретение, может использовать множество других конструкций для гарантии сохранения прецизионного подшипника 64 на месте. В альтернативных вариантах осуществления прецизионный подшипник 64 может быть исключен или может быть использован незакрепленный подшипник.
Колесо 60, с возможностью вращения установленное на оси 62, в альтернативных вариантах осуществления может выполнять функцию колесного узла настоящего изобретения. В таком случае ось 62 может быть установлена своими концами в подошве, например в пяточной части промежуточной подошвы, тогда как колесо 60 с возможностью вращения установлено в полости подошвы. Таким образом, можно исключить необходимость в установочной конструкции или, в качестве варианта, установочную конструкцию можно встроить в подошву обуви.
На фигуре 5 показано перспективное изображение установочной конструкции 70, предназначенной для использования вместе с колесом, установленным с возможностью вращения на оси, такой как показанная на фигуре 4, с целью образования колесного узла. Установочная конструкция в целом включает пяточную управляющую пластину 72, первый элемент 74 и второй элемент 76. В альтернативных вариантах осуществления можно предусмотреть пружину, например пластинчатую пружину, в местах, где два элемента соприкасаются с пяточной управляющей пластиной 72. Это принесет дополнительную пользу за счет улучшения амортизации и подвешивания. Два элемента имеют вырезы, такие как вырез 78 первого элемента 74, для размещения концов оси. Следует упомянуть, что можно образовать вырезы практически любой формы, включая проходящие через элементы или расположенные в различных местах, или даже в ряде мест, для установки колесно-осевой сборки 400 на элементы с возможностью отведения и вытягивания.
Предпочтительно ось, располагаемая в вырезах первого элемента 74 и второго элемента 75, должна быть сцеплена с возможностью разъединения. Этого можно достигнуть с помощью ряда сборок и компоновок, которые все попадают в рамки объема настоящего изобретения. Одна такая сборка представляет собой сборку 80, состоящую из винта, пружины и шариковой опоры и расположенную в первом элементе 74. Эта сборка обеспечивает регулируемое смещение или силу, которая может оказывать воздействие на ось, когда она введена в вырез 78. Винт выполнен доступным для регулировки пользователем. Поворот приводит к сжатию пружины, которая, в свою очередь, создает силу, действующую на шариковую опору, которая проходит в вырез 78. Когда ось введена в вырез 78, шариковую опору можно в некоторой степени смещать, и сборка 80, состоящая из винта, пружины и шариковой опоры, будет создавать боковую силу, обеспечивая закрепление оси, но все же разъединяемое. Аналогичную сборку можно также предусмотреть во втором элементе 76 для обеспечения фрикционной посадки или зацепления оси 62 на другом конце.
Хотя сборка 80, состоящая из винта, пружины и шариковой опоры, показана на фиг.5 реализованной с помощью горизонтального отверстия в первом элементе 74, ее можно реализовать при использовании отверстия, иным образом ориентированного в элементе. Например, регулировку натяжения или давления в сборке 80, состоящей из винта, пружины и шариковой опоры, можно производить через диагональное отверстие, такое, что наружный конец сборки 80, состоящей из винта, пружины и шариковой опоры, т.е. конец с головкой винта, расположен там, где линия при ссылочном номере 74 на фигуре 5 соприкасается с первым элементом 74. Это обеспечивает более легкий доступ для регулировки натяжения и фрикционной посадки оси 62, когда колесный узел, такой как колесный узел 100 на фигуре 6, зацепляют или располагают внутри полости подошвы с целью образования устройства для катания на пятке. Конечно, в настоящем изобретении можно предположить и реализовать любую из других разнообразных сборок, компоновок и положений отверстий.
Установочная конструкция 70 может быть выполнена или изготовлена фактически из любого материала, при этом выбор обычно зависит от желаемых механических характеристик, таких как жесткость и прочность. Этими материалами могут быть, например, пластик, полимер, металл, сплав, древесина, резина, а также композиционные материалы и т.п. Они могут включать алюминий, титан, сталь и смолу. В одном варианте осуществления установочная конструкция 70 изготовлена из металла, например из алюминия, который анодируют, так что установочная конструкция 70 приобретает черный цвет или оттенок.
На фигуре 6 показан вид снизу колесного узла 100, который включает колесо 60, с возможностью вращения установленное на оси 62, как это показано на фигуре 4, и установочную конструкцию 70 из фигуры 5. Первый элемент 74 и второй элемент 76 по отдельности с возможностью разъединения сцеплены с концами оси 62 посредством механизма смещения, реализованного с использованием такого механизма смещения как сборка 80, состоящая из винта, пружины и шариковой опоры. Шариковая опора 102 показана соприкасающейся с одним концом оси 62 в вырезе 78. Добавочные проскальзывающие зажимы или кольцевые зажимы (которые также могут быть названы пружинными опорными кольцами или проскальзывающими кольцами), такие же как кольцевой зажим 66, установлены для гарантии того, что прецизионные подшипники, расположенные в выемках колеса, останутся на местах.
Пяточная управляющая пластина 72 позволяет пользователю устройства для катания на пятке приобретать больший контроль и обеспечивать лучшие ходовые качества устройства для катания на пятке.
На фигуре 7 показан вид сбоку колесного узла 100, расположенного над полостью и проходящего через полость с целью образования устройства 120 для катания на пятке. Пяточная управляющая пластина 72 находится внутри ботинка, так что пользовать при желании может прикладывать пяткой давление к пяточной управляющей пластине, чтобы обеспечивать лучшую управляемость и улучшать ходовые качества устройства 120 для катания на пятке.
На фигурах 8А, 8В, 8С и 8D показаны профили различных колес 200, которые иллюстрируют профили поверхностей этих колес, которые можно использовать в различных вариантах осуществления настоящего изобретения. На фигуре 8А показано колесо 202 с плоским или квадратным профилем 204 поверхности или внешней стороны. На фигуре 8В показано колесо 206 с инверсным профилем 208 поверхности. На фигуре 8С показано колесо со скругленным профилем 212 поверхности. Наконец, на фигуре 8D показано колесо 214 с крутым профилем 216 поверхности. В действительности, в настоящем изобретении можно использовать любой возможный профиль поверхности колеса.
На фигуре 9 показано перспективное изображение, которое иллюстрирует установочную конструкцию 500 из другого варианта осуществления, предназначенную для использования в колесном узле устройства для катания на пятке. Установочная конструкция 500 включает ось 502, которую можно рассматривать как одну ось, которая проходит через элемент 506 и установлена в нем, или как ось 502, которая соединена с элементом 506 наряду с осью 504, которая соединена с элементом 506 на противоположной от оси 502 стороне. Установочная конструкция 500 также включает пяточную управляющую пластину 508, соединенную с элементом 506.
Установочная конструкция 500 обеспечивает возможность установки двух колес для образования колесного узла. Колесо может быть установлено с возможностью вращения на оси 502 предпочтительно с использованием прецизионного подшипника, и колесо может быть установлено с возможностью вращения на оси 504 также предпочтительно с помощью прецизионного подшипника, как это показано в настоящей заявке ранее.
Ось 502 и ось 504 включают резьбовые части, так что гайку, например стопорную гайку 510, можно использовать для закрепления колеса на каждой оси. В противоположность показанной внешней резьбе в других вариантах осуществления концы осей снабжены внутренней резьбой, так что можно использовать винт, например винт с шестигранной головкой, как это показано на фигуре 10. Должно быть понятно, что фактически можно создать любое возможное соединение между осью и элементом.
На фигуре 10 показано перспективное изображение, которое иллюстрирует колесный узел 520 согласно еще одному варианту осуществления, предназначенный для использования в устройстве для катания на пятке, который включает колесо 522, с возможностью вращения установленное на оси 524 с использованием прецизионного подшипника 526, а первый элемент 528 и второй элемент 530 соединены с соответствующими концами оси 524 посредством винтов, таких как винт 532 с шестигранной головкой. Колесный узел 520 аналогичен колесному узлу 100, который был описан выше в сочетании с фигурой 6, за исключением того, что колесно-осевая сборка не может быть легко вставлена и удалена.
На фигуре 11 показан вид сбоку с местным разрезом, который иллюстрирует один вариант осуществления устройства 600 для катания на пятке с колесным узлом 602, расположенным в подошве 604 и в полости 606 в подошве 604 и проходящим не через всю подошву 604. Сама по себе установочная конструкция 608 может быть установлена или встроена в подошву 604, и может случиться, что ее непросто и нелегко удалить. Кроме того, колесо 610 показано частично выступающим под нижней частью подошвы 604, что сообщает преимущество, заключающееся в маскировке возможности качения на пятке.
На фигуре 12 показан вид сбоку другого варианта осуществления изобретения, который иллюстрирует устройство 620 для катания на пятке настоящего изобретения со съемной крышкой 622 колеса, расположенной так, что она закрывает колесо 624 и полость 626 в подошве 628. Наличие съемной крышки 622 колеса обеспечивает возможность нахождения колеса в выступающем положении, т.е. под нижней поверхностью подошвы 628, но все же без соприкосновения с поверхностью для качения. Хотя устройство 620 для катания на пятке настоящего изобретения дает возможность пользователю ходить и бегать даже при соприкосновении колеса с поверхностью, съемная крышка 622 колеса обеспечивает защиту от грязи и мусора и придает большую устойчивость.
В альтернативном варианте осуществления можно предусмотреть стопор колеса, намеренно не показанный на фигуре 12, вместо съемной крышки 622 колеса или в сочетании с ней для приостановки вращения колеса 624. В одном варианте осуществления стопор колеса может быть изготовлен фактически из любого материала, например из губчатого или гибкого материала, который можно приварить между колесом 624 и полостью 626 для приостановки или предотвращения вращения колеса 624 и удержания его на месте с помощью силы трения.
Согласно другим вариантам осуществления крышки 622 колеса ее используют, когда колесо 624 удаляют из устройства 620 для катания на пятке. В предпочтительном варианте осуществления эта крышка колеса обычно входит вплотную в оставшуюся часть низа подошвы 608 и, следовательно, при желании придает устройству функции обычного ботинка и защищает полость. Эту крышку колеса можно соединять любым возможным образом, но желательно соединять ее с колесным узлом тем же или аналогичным образом, каким колесно-осевая сборка соединена с установочной конструкцией. Съемную крышку колеса можно закрепить или прикрепить к колесному узлу многими различными способами.
На фигуре 13 показан вид снизу, который иллюстрирует другой вариант осуществления устройства 700 для катания на пятке с шариком 702, выполняющим функцию колеса и расположенным в установочной конструкции 704, находящейся в пяточной части подошвы 706.
На фигуре 14 показано перспективное изображение, которое иллюстрирует “катящегося на пятках человека” (“хилера”) 800, использующего настоящее изобретение для качения (“хиляния”) на пятках. Качение на пятках (“хилинг”) можно осуществлять, используя разнообразные приемы, и для него обычно необходимы гибкость, координация движений, способность балансировать и принимать заданное положение.
Иллюстративный способ, предназначенный для использования устройства для катания на пятке по поверхности, может включать бег по поверхности с использованием носочной части подошвы устройства для катания на пятке с целью соприкосновения с поверхностью, а затем качение по поверхности с помощью колеса устройства для катания на пятке, выступающего из нижней части подошвы через полость в подошве, при использовании колеса устройства для катания на пятке для соприкосновения с поверхностью. До бега по поверхности способ может включать ходьбу по поверхности с надетым устройством для катания на пятке при колесе устройства для катания на пятках, выступающем из нижней части подошвы устройства для катания на пятке. Катание на пятках можно также осуществлять на холмах или по поверхности, которая имеет уклон.
Способ катания на пятках может также включать фиксацию колеса устройства для катания на пятке так, чтобы оно выступало из нижней части подошвы устройства для катания на пятке до ходьбы по поверхности. Способ также может включать ходьбу по поверхности с надетым устройством для катания на пятке до фиксации колеса устройства для катания на пятке и с отведенным колесом устройства для катания на пятке. Другие варианты способа могут включать переход от качения по поверхности либо к бегу, ходьбе, либо к остановке на поверхности, при этом бег по поверхности осуществляют путем использования носочной части подошвы устройства для катания на пятке, чтобы касаться поверхности сразу же после качения по поверхности.
Предпочтительное положение катающегося на пятках человека (“хилера”) 800 при качении по поверхности показано на фигуре 14, при этом одно устройство 802 для катания на пятке находится перед другим устройством 804 катания на пятке. Как можно видеть, рассматривая заднюю пяточную часть устройства 804 для катания на пятке, иногда зазор между задней пяточной частью 806 и поверхностью весьма мал. Вследствие этого в предпочтительном варианте осуществления задняя пяточная часть 806 изготовлена из износостойкого материала.
Кроме того, можно реализовать способ катания на пятках, используя ряд приемов для замедления или остановки. Например, качение можно замедлить путем касания поверхности носочной частью подошвы устройства для катания на пятке, чтобы создать трение и отвести колесо от поверхности. Другой пример включает замедление путем соприкосновения с поверхностью пяточной части подошвы устройства для катания на пятке.
На фигуре 15 показано перспективное изображение, которое иллюстрирует колесо 902, с возможностью вращения установленное на сжимаемой оси 904; все детали вместе можно также назвать колесно-осевой сборкой 900, аналогичной показанной на фигуре 4. Сжимаемую ось 904 можно реализовать рядом способов, например в виде подпружиненной регулируемой оси, аналогичной показанной на фигуре 16, или в виде винтовой сжимаемой оси. Это позволяет легче удалять и/или отводить колесно-осевую сборку 900 в положение, при котором колесо не соприкасается с грунтом в случае, если колесно-осевая сборка 900 используется в устройстве для катания на пятке.
На фигуре 16 показан вид с местным разрезом, который иллюстрирует сжимаемую ось 904 колесно-осевой сборки 900 из фигуры 15, выполненную в виде подпружиненной сжимаемой оси. Как можно видеть, сжимаемую ось 904 можно регулировать или укорачивать путем сжатия внутрь обоих концов сжимаемой оси 904, чтобы преодолеть усилие внутренней пружины.
На фигуре 17 показано перспективное изображение, которое иллюстрирует другую установочную конструкцию 920, предназначенную для использования совместно с колесно-осевой сборкой 900, при этом для образования колесного узла предполагается применение сжимаемой оси 904, показанной на фигуре 15 и фигуре 16 соответственно. Сжимаемую ось 904 можно сцепить с первым элементом 922 и со вторым элементом 924 в первом месте 926 первого элемента 922 и второго элемента 924, в результате чего колесо будет находиться в отведенном положении. Сжимаемую ось 904 можно также сцепить с первым элементом 922 и со вторым элементом 924 во втором месте 928, в результате чего колесо будет находиться в выдвинутом положении.
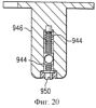
На фигуре 18 показан вид сбоку с местным разрезом, который иллюстрирует колесный узел 940, расположенный в полости подошвы 942; этот вид отражает один вариант осуществления оси 944, которая сцеплена с установочной конструкцией 946 для обеспечения возможности отведения колеса 948 с использованием узла, который можно назвать узлом поворотного пальца или состоящим из двух частей узлом поворотного пальца. Это позволяет по желанию передвигать вверх или вниз отводимое колесо 948 из отведенного положения в выдвинутое положение. Поворотный палец 950 (который можно выполнить в виде винта или болта) показан находящимся в резьбовом зацеплении в резьбовом отверстии элемента установочной конструкции 946. По мере завинчивания поворотного пальца 950 в отверстие элемента ось 944 все более отводится. Поворотный палец 950 также предусмотрен на другом элементе для подъема другой стороны оси 944. В других вариантах осуществления, например в случае использования установочной конструкции 500 из фигуры 9, можно предусмотреть единственный поворотный палец, проходящий через единственный элемент, и тем самым обеспечить отведение колес вследствие сцепления элементов и оси.
Пример узла поворотного пальца приведен в патенте США №4295655 (Landau David L., дата подачи 18 июля 1979 г., дата выдачи 20 октября 1981 г.), включенном в настоящую заявку посредством ссылки. В этом патенте показан узел поворотного пальца, который может быть включен в вариант осуществления настоящего изобретения.
На фигуре 19 показан вид снизу, который иллюстрирует колесный узел 940 из фигуры 18, и, кроме того, иллюстрирует состоящий из двух частей узел поворотного пальца, при этом поворотный палец 950 проходит через элементы установочной конструкции 946.
На фигуре 20 показан вид сбоку, который иллюстрирует один элемент установочной конструкции 946 и, кроме того, иллюстрирует сцепление оси 944 с установочной конструкцией 946 при использовании состоящего из двух частей узла поворотного пальца, аналогичного показанному на фигуре 18. Как рассмотрено выше, это обеспечивает возможность перехода оси 944 и, следовательно, приданного ей колеса на любой желаемый уровень из отведенного (втянутого) положения в выдвинутое положение.
Должно быть понятно, что ось можно сцепить с элементом установочной конструкции, используя любой доступный способ, а в действительности неограниченным числом способов. Например, ось можно сцепить с первым элементом и со вторым элементом установочной конструкции, чтобы осуществлять перемещение из отведенного положение в выдвинутое положение посредством пружинного устройства. Аналогично ось можно сцепить с первым элементом и со вторым элементом установочной конструкции, чтобы осуществлять перемещение из отведенного положения в выдвинутое положение посредством шарнирного устройства.
Существуют многочисленные другие примеры, например в патенте США №3983643 (Schreyer Walter et al., дата подачи 23 мая 1975 г., дата выдачи 5 октября 1976 г.), который включен в настоящую заявку посредством ссылки, описан втягивающий механизм, который можно использовать в одном варианте осуществления настоящего изобретения. В патенте США №5785327 (Gallant Raymond J., дата подачи 20 июня 1997 г., дата выдачи 28 июля 1998 г.), который включен в настоящую заявку посредством ссылки, показаны одновременно втягивающиеся колеса.
На фигуре 21 показано перспективное изображение с пространственным разделением деталей, которое иллюстрирует двухкомпонентное колесо 970, включающее внутренний сердечник 972 и наружную шину 974, выполненную в виде уретанового колеса, ось 976 (которую можно не показывать специалисту) и подшипник 978, которые можно использовать в настоящем изобретении. В предпочтительном варианте осуществления подшипник 978 выполнен небольшим по сравнению с двухкомпонентным колесом 970, например подшипник 978 может иметь внешний диаметр, который меньше половины внешнего диаметра наружной шины 974. Это обеспечивает достижение существенного преимущества, которое заключается в более мягком движении, лучшем управлении и большей долговечности. Это происходит потому, что наружная шина 974 больше и толще. В других вариантах осуществления подшипник 978 больше и имеет внешний диаметр, который больше половины внешнего диаметра наружной шины 974. В предпочтительном варианте осуществления внутренний сердечник двухкомпонентного колеса изготовлен из более твердого материала, который обеспечивает жесткость для усиленной поддержки подшипника, тогда как наружная шина изготовлена из более мягкого материала, например из мягкого уретана, для получения улучшенных ходовых качеств и менее шумного движения. Колеса этих типов можно назвать колесами “двойной твердости”.
Поэтому очевидно, что в соответствии с настоящим изобретением разработаны устройство для катания на пятке и способ, который обозначает новый вид физической активности и спорта, которые обеспечивают одно или несколько преимуществ, изложенных выше. Хотя подробно описан предпочтительный вариант осуществления, должно быть понятно, что в настоящей заявке могут быть сделаны разнообразные изменения, замены и переделки без отступления от объема настоящего изобретения, если даже не достигаются все преимущества, указанные выше. Например, из различных вариантов осуществления, показанных в настоящей заявке на чертежах, следует, что настоящее изобретение может быть реализовано и осуществлено множеством различных способов, которые все же попадают в объем настоящего изобретения. Кроме того, устройства, конструкции, элементы и способы, описанные и показанные в предпочтительных вариантах осуществления как несвязанные или отдельные, можно сочетать или объединять с другими устройствами, конструкциями, элементами или способами без отступления от объема настоящего изобретения. Например, колесный узел может быть удаляемым или встраиваемым в подошву обуви. Хотя настоящее изобретение описано, главным образом, с только одним колесом, расположенным в полости пятки обуви, настоящее изобретение конечно предполагается охватывающим случай нескольких колес, расположенных в полости пятки обуви. Без отступления от сущности и объема настоящего изобретения другие примеры изменений, замен или переделок могут быть без труда сделаны специалистом в области техники, к которой относится изобретение.
Формула изобретения
1. Обувное изделие (10) для катания на пятке, содержащее подошву (14), включающую в себя носочную часть (22), дугообразную часть (20) и пяточную часть (18) с полостью (40), образованной в этой части; средство качения (16), удерживаемое в полости (40, 40а, 40b) в пяточной части (18); причем средство качения (16) расположено так, что при использовании в режиме некачения основной контакт обувного изделия (10) с землей обеспечивается носочной частью (22) подошвы (14), и как таковое обувное изделие (10) не катится, а в режиме качения средство качения (16) обеспечивает основной контакт с землей, чтобы предоставить возможность пользователю катиться по земле, при этом изменение режима осуществляется путем переноса массы пользователя с носочной части к средству качения (16) в пяточной части.
2. Изделие (10) по п.1, в котором средство качения (16) выполнено с возможностью свободного вращения вдоль, по меньшей мере, продольной оси обувного изделия при обычном направлении перемещения, чтобы обеспечить возможность пользователю, когда он соответствующим образом уравновешен, катиться по поверхности в обычном направлении перемещения.
3. Изделие по п.1 или 2, в котором часть средства качения, удерживаемая в полости, больше части средства качения за пределами полости.
4. Изделие (10) по любому одному из пп.1-3, в котором средство качения (16) включает в себя первую часть и вторую часть и расположено так, что первая часть средства качения находится внутри полости (40, 40а, 40b), образованной в нижней поверхности пяточной части (18) подошвы (14) обувного изделия, и так, что вторая часть средства качения (16) находится под полостью (40), образованной в нижней поверхности пяточной части (18) подошвы (14) обувного изделия, и под самой нижней точкой нижней поверхности пяточной части подошвы обувного изделия, и тем самым обувное изделие пригодно для предоставления возможности пользователю перехода от состояния некачения к состоянию качения, при этом средство качения (16) соприкасается с землей и катится, и после этого к состоянию торможения пяточной частью, когда участок пяточной части подошвы соприкасается с землей.
5. Изделие (10) по п.4, в котором участок пяточной части (18) подошвы (14) является пяточным тормозом.
6. Изделие (10) по любому одному из предшествующих пунктов, в котором средство качения (16) установлено с возможностью вращения на оси (50, 62) между первым сегментом (48) и вторым сегментом (54), причем ось удерживается в первом сегменте и во втором сегменте с целью предотвращения вращения оси.
7. Изделие (10) по п.6, дополнительно содержащее первый прецизионный подшипник (56, 64); и второй прецизионный подшипник (58), и в котором средство качения, с возможностью вращения установленное на оси (50, 62), имеет первую сторону с первой выемкой и вторую сторону со второй выемкой, при этом первый прецизионный подшипник (56, 64) размещен в первой выемке между средством качения и осью, а второй прецизионный подшипник (58) размещен во второй выемке между средством качения и осью.
8. Изделие (10) по п.7, в котором первый прецизионный подшипник (64) размещен на оси (62) с использованием первого кольцевого зажима (66), а второй прецизионный подшипник размещен на оси с использованием второго кольцевого зажима.
9. Изделие (10) по любому одному из пп.1-8, дополнительно содержащее установочную конструкцию (70), имеющую пяточную управляющую пластину (72), расположенную внутри ботинка.
10. Изделие (10) по любому одному из пп.4-9, в котором средство качения (16) имеет внешний диаметр, а вторая часть средства качения находится под самой нижней точкой нижней поверхности пяточной части (18) подошвы (14) обувного изделия на расстоянии меньшем, чем половина внешнего диаметра средства качения (16).
11. Изделие (10) по любому одному из пп.1-10, в котором полость (40, 40а, 40b), образованная в пяточной части (18) подошвы (14), расположена на границе пяточной части (18) и дугообразной части (20) подошвы.
12. Изделие (10) по любому одному из пп.1-11, в котором в пяточной части (18) предусмотрены две полости (40а, 40b).
13. Изделие (10) по любому одному из пп.1-12, дополнительно содержащее проскальзывающую пластину (44), расположенную под нижней поверхностью дугообразной части (20) подошвы.
14. Изделие (10) по любому одному из пп.1-13, в котором только одно средство качения предусмотрено в пяточной части (18).
15. Изделие (10) по любому одному из пп.5-14, в котором участок пяточной части (18) подошвы обувного изделия, который соприкасается с землей в состоянии торможения пяточной частью, расположен между задней частью обувного изделия и полостью (40, 40а, 40b), образованной в нижней поверхности пяточной части (18) подошвы.
16. Изделие (10) по любому одному из пп.5-15, в котором участок (806) пяточной части подошвы обувного изделия, который соприкасается с землей в состоянии торможения пяточной частью, выполнен из износоустойчивого материала.
17. Изделие (10) по любому одному из пп.1-16, в котором в качестве средства качения (16) использован ролик.
18. Изделие (10) по любому одному из пп.1-16, в котором в качестве средства качения (16) использован шарик (702).
19. Изделие (10) по любому одному из пп.1-16, в котором в качестве средства качения (16) использовано колесо.
20. Изделие (10) по любому одному из пп.1-19, в котором средство качения (16) с возможностью удаления сцеплено в полости (40, 40а, 40b), образованной в пяточной части подошвы обувного изделия.
21. Изделие (10) по любому одному из пп.1-19, в котором средство качения (16) с возможностью отведения сцеплено в полости (40, 40а, 40b), образованной в пяточной части подошвы обувного изделия.
22. Изделие (10) по любому одному из пп.1-21, дополнительно содержащее крышку (622) средства качения, пригодную для закрытия второй части средства качения, которая находится под полостью (40, 40а, 40b), образованной в нижней поверхности пяточной части подошвы обувного изделия.
23. Пара обувных изделий по любому одному из пп.1-22.
24. Изделие (10) по п.1, в котором средство качения (60) имеет осевое отверстие, первую кольцевую выемку на первой стороне средства качения, которая окружает осевое отверстие на первой стороне, и вторую кольцевую выемку на второй стороне средства качения, которая окружает осевое отверстие на второй стороне; первый подшипник (64) расположен в первой кольцевой выемке на первой стороне средства качения; второй подшипник расположен во второй кольцевой выемке на второй стороне средства качения; и ось (62) расположена внутри осевого отверстия средства качения так, что средство качения с возможностью вращения связано с осью посредством первого подшипника и второго подшипника.
25. Изделие (10) по п.24, в котором средство качения (970) включает в себя внутренний сердечник (972), в котором образованы осевое отверстие, первая кольцевая выемка, вторая кольцевая выемка и который имеет внешнюю криволинейную поверхность; и более мягкую наружную шину (974), расположенную на внешней криволинейной поверхности внутреннего сердечника (972) средств качения (970).
26. Способ передвижения по поверхности с использованием пользователем по меньшей мере одного обувного изделия (10) для катания на пятке, имеющего средство качения (16), удерживаемое в полости (40, 40а, 40b) в подошве (14), содержащий стадии перемещения по поверхности таким образом, что основное соприкосновение обувного изделия (10) для катания на пятке с поверхностью осуществляется носочной частью (22) подошвы; переноса распределения массы пользователя с носочной части к средству качения в пяточной части таким образом, что пользователь балансирует, по существу, только на средстве качения (16); и качение по поверхности на одном или более роликах.
27. Способ по п.26, в котором для качения по поверхности располагают первое обувное изделие (10) для катания на пятке перед вторым устройством для катания на пятке.
28. Способ по п.26 или 27, в котором дополнительно замедляют качение путем соприкосновения участка пяточной части (18) подошвы (14) обувного изделия (10) для катания на пятке с поверхностью.
29. Способ по любому одному из пп.26-28, в котором стадия переноса массы пользователя включает поднятие носочной части (22) подошвы (14) обувного изделия, так что с поверхностью соприкасается только средство качения, приспособленное для вращения в полости (40, 40а, 40b), образованной в нижней поверхности пяточной части (18) подошвы (14) обувного изделия.
30. Способ изготовления обувного изделия для качения на пятке, содержащий следующие стадии: создают обувное изделие (10), имеющее подошву (14), которая включает носочную часть (22), дугообразную часть (20) и пяточную часть (18); образуют полость (40, 40а, 40b) в пяточной части подошвы; и располагают средство качения в полости так, чтобы средство качения свободно вращалось вдоль, по меньшей мере, продольной оси обувного изделия (10) с целью обеспечения возможности пользователю, когда он уравновешен соответствующим образом, катиться по поверхности на пятке.
РИСУНКИ
|
|