|
|
(21), (22) Заявка: 2003108712/12, 28.03.2003
(24) Дата начала отсчета срока действия патента:
28.03.2003
(45) Опубликовано: 20.12.2004
(56) Список документов, цитированных в отчете о поиске:
SU 753400 А, 07.08.1980. SU 167700 А, 13.11.1965. SU 1500208 А1, 15.08.1989.
Адрес для переписки:
346421, Ростовская обл., г. Новочеркасск, пр. Баклановский, 190, ФГНУ “РосНИИПМ”
|
(72) Автор(ы):
Щедрин В.Н. (RU), Салдаев А.М. (RU), Снипич Ю.Ф. (RU), Слабунов В.В. (RU), Штанько А.С. (RU)
(73) Патентообладатель(и):
Федеральное государственное научное учреждение “Российский научно-исследовательский институт проблем мелиорации” (RU)
|
(54) ДВУХКОНСОЛЬНЫЙ ДОЖДЕВАЛЬНЫЙ АГРЕГАТ
(57) Реферат:
Изобретение относится к области сельскохозяйственного машиностроения, в частности к мобильной оросительной технике для полива капельным орошением. Агрегат включает ходовую часть с шарнирно-закрепленными на ней двумя консолями фермы. Каждая консоль выполнена в виде взаимно-перпендикулярных вертикальной и горизонтальной ферм. Левая и правая часть фермы имеют гибкие пояса, стойки и раскосы. Дождевальные насадки смонтированы на жестком водопроводящем поясе, совмещенном с горизонтальными частями фермы. Ходовая часть снабжена передней и задней поперечными балками. Балки закреплены на лонжеронах агрегата. Левая и правая консоли ферм размещены на задней поперечной балке с возможностью поворота каждой консоли вокруг вертикальной оси вращения вертикальной фермы консоли. Горизонтальные части ферм соединены механизмами перевода консолей в транспортные положения с передней поперечной балкой. Гибкие пояса гидравлически сопряжены с вертикальными консолями ферм и насосом агрегата посредством делителя потока воды U-образным коленом. Изобретение повышает устойчивость дождевального двухконсольного агрегата в транспортном положении и снижает затраты труда и времени на перевод консолей в транспортные положения. 1 з.п.ф-лы, 3 ил.

Изобретение относится к области сельскохозяйственного машиностроения, в частности к мобильной оросительной технике для полива капельным дождеванием.
Известен способ перевода фронтально установленной фермы двухконсольного дождевального агрегата из рабочего положения в транспортное и обратно [1], включающий разъединение насосной установки от водопроводящего трубопровода фермы и ее поворот вокруг вертикальной оси симметрии трактора перекатыванием поворотного кольца фермы на опорных роликах рамы дождевального агрегата. Этот способ реализован в конструкциях двухконсольных дождевальных агрегатов моделей ДДА-100 МА.
К недостаткам данного способа относятся жесткие соединения фермы к раме трактора, приводящее к большим (недопустимым) угловым колебаниям агрегата при перемещении по полевым дорогам, и ограниченный обзор из кабины агрегатируемого трактора.
Наиболее близким техническим решением является оросительный агрегат консольного типа [2], включающий ходовую часть с шарнирно-закрепленными на ней двумя консолями, каждая из которых выполнена в виде взаимно перпендикулярных вертикальной и горизонтальной ферм, имеющих гибкие пояса, стойки, раскосы и дождевальные насадки на одном жестком водопроводящем поясе, в котором, с целью использования агрегата как для дождевания, так и для полива по бороздам, а также снижения веса агрегата, каждая консоль дополнительно снабжена жестким водопроводящим поясом, на котором установлены поливочные насадки и наземные опоры, а также элементы горизонтальной фермы, и который жестко соединен с водопроводящим поясом вертикальной фермы с размещением на ней дождевальных насадок, при этом концы стоек горизонтальной и вертикальной ферм в местах их соединения с гибкими поясами скреплены между собой стабилизирующими подвесками, а стойки вертикальной фермы снабжены шарнирными опорами.
К недостаткам агрегата относятся ограниченные возможности при транспортных переездах.
Задача изобретения – разработать конструкцию дождевального агрегата с повышенной устойчивостью в транспортном положении.
Данная задача достигается тем, что в двухконсольном агрегате, включающем ходовую часть с шарнирно закрепленными на ней двумя консолями, каждая из которых выполнена в виде взаимно перпендикулярных вертикальной и горизонтальной ферм, имеющие гибкие пояса, стойки, раскосы и дождевальные насадки на жестком водопроводящем поясе, ходовая часть снабжена передней и задней поперечными балками, закрепленными на лонжеронах агрегата, левая и правая консоли размещены на задней поперечной балке с возможностью поворота каждой консоли вокруг вертикальной оси вращения вертикальной фермы консоли и соединены механизмами перевода консолей ферм в транспортные положения с передней поперечной балкой, а гибкие пояса гидравлически сопряжены с вертикальными консолями ферм и насосом посредством делителя потока воды и U-образным коленом. Левая и правая части фермы размещены на поперечной балке ходовой части агрегата и кинематически связаны механизмом перевода консолей ферм в транспортные положения и обратно.
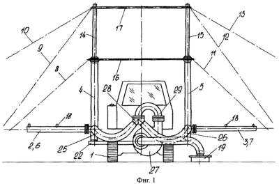
Конструкция двухконсольного дождевального агрегата представлена на фиг.1-3.
На фиг.1 схематично изображен двухконсольный дождевальный агрегат, вид сзади.
На фиг.2 – то же, вид слева.
На фиг.3 – то же, вид в плане.
Двухконсольный дождевальный агрегат (фиг.1-3) включает ходовую часть 1 с шарнирно-закрепленными на ней двумя консолями 2 и 3. Каждая консоль 2, 3 выполнена в виде взаимно перпендикулярных вертикальных ферм 4, 5 и горизонтальных ферм 6, 7. Фермы 4-7 имеют гибкие пояса 8, 9, 10, 11, 12 и 13, стойки 14 и 15, раскосы 16 и 17. На жестком водопроводящем поясе горизонтальных ферм 6 и 7 размещены дождевальные насадки 18. Водозаборное устройство 19 смонтировано на заднем срезе ходовой части 1 агрегата посредством Г-образного рычага 20. Водозаборное устройство 19 снабжено механизмом подъема. Механизм подъема водозаборного устройства 19 имеет гидропривод, соединенный с центральной секцией гидрораспределителя на ходовой части 1. Ходовая часть 1 снабжена передней и задней поперечными балками 21 и 22. Балки 21 и 22 закреплены на лонжеронах агрегата. Левая и правая консоли 2 и 3 размещены на задней поперечной балке 22 с возможностью поворота каждой консоли 2, 3 вокруг вертикальной оси вращения вертикальной фермы 4, 5 консоли 2 и 3. Горизонтальные фермы 6 и 7 соединены механизмами 23 и 24 с передней поперечной балкой 21. Положения горизонтальных ферм 6 и 7 в транспортном положении агрегата заблокированы механически к лонжеронам ходовой части 1. Механизмы 23 и 24 выполнены в виде силовых гидроцилиндров двухстороннего действия, гидравлически связанных рукавами высокого давления с левой и правой секциями гидрораспределителя ходовой части 1. Гибкие пояса 25 и 26 гидравлически сопряжены с вертикальными консолями ферм 4 и 5 и насосом 27 посредством делителя 28 потока оросительной воды и U-образным коленом 29.
Двухконсольный дождевальный агрегат работает следующим образом.
При поливе дождеванием оросительную воду из открытого канала заборным устройством 19 при работающем насосе 27 подают сначала под давлением в U-образное колено 29, а затем через делитель 28 потока оросительную воду направляют в гибкие пояса 25 и 26. Гибкие пояса 25 и 26 гидравлически связаны с вертикальными и горизонтальными фермами 4 и 5, 6 и 7 левой и правой консоли. Дождевальные насадки 18 при движении двухконсольного агрегата наносят равномерным слоем осадки в виде капель дождя на поверхность орошаемого участка. При завершении работы на этом участке дождевальный агрегат перемещают на другое орошаемое поле. Для этого выключают механический привод насоса 27. Затем гидроприводом на Г-образном рычаге 20 водозаборное устройство 19 переводят в нерабочее положение. Далее последовательно включают в работу гидроприводы механизмов 29 и 24. При втягивании штока гидропривода 23 через кулак поворачивается вокруг вертикальной оси симметрии вертикальной фермы 4 горизонтальная ферма 6 левой консоли 2. Горизонтальная ферма 6 укладывается вдоль левого лонжерона ходовой части 1 и механически фиксируется. Таким же образом приводят правую горизонтальную ферму 7 в транспортное положение. Поперечную балку 22 на лонжеронах ходовой части 1 размещают в непосредственной близости центра колебаний трактора.
Дождевальный агрегат в рабочее положение приводят в обратном порядке.
При перемещении дождевального агрегата по полевым дорогам описанная конструкция в транспортном положении имеет минимальные габаритные размеры и подвержена минимальным угловым колебаниям в продольно-вертикальной плоскости симметрии агрегата.
Источники информации.
1. А. с. СССР №167700, А 01 G 25/09, оп. БИ №2, 1965.
2. А. с. СССР №753400, А 01 G 25/09, оп. БИ №29, 1980.
Формула изобретения
1. Двухконсольный дождевальный агрегат, включающий ходовую часть с шарнирно-закрепленными на ней двумя консолями, каждая из которых выполнена в виде взаимно перпендикулярных вертикальной и горизонтальной ферм, имеющих гибкие пояса, стойки, раскосы и дождевальные насадки на жестком водопроводящем поясе, отличающийся тем, что ходовая часть снабжена передней и задней поперечными балками, закрепленными на лонжеронах агрегата, левая и правая консоли ферм размещены на задней поперечной балке с возможностью поворота каждой консоли вокруг вертикальной оси вращения вертикальной фермы консоли и соединены механизмами перевода консолей ферм в транспортные положения с передней поперечной балкой, а гибкие пояса гидравлически сопряжены с вертикальными консолями ферм и насосом посредством делителя потока воды и U-образным коленом.
2. Агрегат по п.1, отличающийся тем, что водозаборное устройство, снабженное механизмом подъема, смонтировано на заднем срезе ходовой части агрегата посредством Г-образного рычага.
РИСУНКИ
MM4A – Досрочное прекращение действия патента СССР или патента Российской Федерации на изобретение из-за неуплаты в установленный срок пошлины за поддержание патента в силе
Дата прекращения действия патента: 29.03.2006
Извещение опубликовано: 20.02.2007 БИ: 05/2007
|
|