|
|
(21), (22) Заявка: 2003121099/12, 14.07.2003
(24) Дата начала отсчета срока действия патента:
14.07.2003
(45) Опубликовано: 20.12.2004
(56) Список документов, цитированных в отчете о поиске:
RU 2175175 С1, 21.10.2001. RU 2142682 С1, 20.12.1999. RU 2163428 С2, 27.02.2001. RU 20029450 С1, 27.02.1995.
Адрес для переписки:
129226, Москва, ул. Докукина, 5, корп.1, кв.18, И.А. Майсову
|
(72) Автор(ы):
Майсов И.А. (RU)
(73) Патентообладатель(и):
Майсов Иван Александрович (RU)
|
(54) АГРОМОСТ
(57) Реферат:
Агромост содержит ферму, самоходные тележки с поворотными кругами для развертывания гусениц, домкраты, кабины управления, вспомогательное энергетическое и технологическое оборудование. На торцах самоходных тележек с одной стороны фермы агромоста вдоль всей длины закреплены щиты. На верхних краях которых через шарниры подвешены уборочные ковши. Ковши имеют вертикально перемещающиеся шторки, снабженные реверсивными моторредукторами для их перемещения и гидроцилиндры для повертывания ковшей относительно шарниров. На противоположных торцах самоходных тележек агромост имеет поворачивающийся вокруг продольной оси вал со сквозными отверстиями для закрепления в них рабочих органов сельскохозяйственных орудий, например культиваторных лап или пружинящих зубьев грабель. Вал закреплен на концах кронштейнов и укосин, шарнирно скрепленных с торцами тележек. Для поворотов вала агромост имеет реверсивные моторредукторы с зубчато-цепным приводом. Расширяются функциональные возможности и повышается производительность агрегата. 4 з.п. ф-лы, 7 ил.

Относится к сельскохозяйственному машиностроению.
Известен гусеничный агромост по пат. РФ 2142682, А 01 В 49/00, самоходные тележки которого имеют два разворотных круга, разворачивающихся на 180° от реверсивного моторредуктора через цепной привод, что позволяет разворачивать гусеницы для переходов на смежные колеи агроугодья, а также и на агроугодья, расположенные на значительных расстояниях одно от другого. Агромост может работать как в старт-стопном режиме, так и непрерывно фронтальном. Однако агромост не имеет возможности, например закреплять большие подборочные ковши для уборки с агроугодья соломы с половой, остальные комбайнами после уборки зерновых.
Известен агромост по патенту РФ 2175175, А 01 В 49/00, принятый за прототип. Боковые стенки платформ этого агромоста имеют системы для навески сменных сельхозагрегатов, причем платформы с навесными сельхозагрегатами могут на ферме закрепляться неподвижно и агромост может перемещаться по агроугодью фронтально. Оснастки для навески сельхозугодий на торцах самоходных тележек этот агромост не имеет.
Информирую, что близким агромостом к заявляемому является агромост по заявке 2002131476/13 от 25.11.2002, отличающийся тем, что ферма агромоста имеет сквозные поперечные проемы, в которых могут размещаться крупногабаритные сельхозагрегаты, например комбайн. Решения по заявке пока не получено.
Цель – расширение функциональных возможностей и повышение производительности агромоста.
Возможность реализации цели обеспечивается тем, что на торцах самоходных тележек с одной стороны фермы агромоста, вдоль всего фронта агромоста, закреплены щиты на верхних краях которых, через шарниры, подвешены подборочные ковши, имеющие вертикально перемещающиеся шторки с реверсивными моторредукторами для перемещения шторок и гидроцилиндры для поворачивания ковшей относительно шарниров, при этом на противоположных торцах самоходных тележек агромост имеет поворачивающийся вокруг продольной оси вал со сквозными отверстиями для закрепления в них рабочих органов сельхозорудий, например культивационных лап или пружинящих зубьев грабель, причем вал закреплен на концах кронштейнов и укосин, шарнирно скрепленных с торцами тележек, при этом для поворотов вала агромост имеет реверсивные моторредукторы с зубчато-цепным приводом;
– при этом сквозные отверстия имеют в сечении форму квадратов;
– при этом одна из кабин управления имеет выдвигающуюся вверх часть с размещенными в ней пультом управления и сидением оператора;
– при этом днище подборочного ковша состоит из стержней закрытых сверху листом, например, из нержавеющей стали;
– при этом внутренние стороны боковых стенок ковшей закрыты сеткой, или металлическим листом, или листом из пластика.
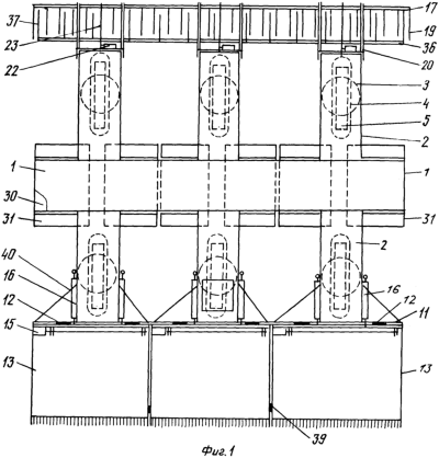
На фиг.1 – вид агромоста сверху.
На фиг.2 – то же, фронтальный вид агромоста, выдвигающаяся часть кабины поднята вверх и закреплена.
На фиг.3 – сечение агромоста по А-А на фиг.2.
На фиг.4 – вид агромоста по стрелке Б на фиг.2.
На фиг.5 – боковой вид подборочного ковша и отклоняющего ковш гидроцилиндра.
На фиг.6 – вид традиционной толкающей волокуши, которая может быть навешена взамен подборочного ковша.
На фиг.7 – концевые части кронштейнов с закрепленным на них валом в отверстиях которого закреплены зубья грабель.
Агромост имеет ферму 1, самоходные тележки 2, состоящие из поворотных кругов 3, для разворачивания гусениц опорных рам 4 в которых закреплены катки с гусеницами 5 и реверсивные моторредукторы 6 с цепной двусторонней передачей 7, домкраты 8, две кабины 9,10. На торцах самоходных тележек 2, с одной стороны фермы агромоста вдоль всего фронта агромоста закреплены щиты 11, на верхних краях которых через шарниры 12 подвешены подборочные ковши 13, имеющие вертикально перемещающиеся шторки 14 с реверсивными моторредукторами 15 для перемещения шторок 14, и гидроцилиндры 16 для поворачивания ковшей 13 относительно шарниров 12, при этом на противоположных торцах самоходных тележек 2 агромост имеет поворачивающийся вокруг продольной оси вал 17 со сквозными отверстиями 18 для закрепления в них рабочих органов сельхозорудий, например культиваторных лап или пружинящих зубьев 19 грабель, причем вал закреплен на концах кронштейнов 20 и укосин 21, шарнирно скрепленных с торцами тележек 2, при этом для поворотов вала агромост имеет реверсивные моторредукторы 22 с зубчато-цепным приводом 23. Сквозные отверстия 18 имеют в сечении форму квадратов, что позволяет закреплять рабочие органы сельхозорудий с поворотом точно на 180 или 90°. Одна из кабин 9 управления агромостом имеет выдвигающуюся вверх и там закрепляющую часть 24 с размещающимися в ней пультом управления 25 и сидением оператора 26. Днище подборочного ковша состоит из стержней 27, закрытых сверху листом 28, например, из нержавеющей стали. Внутренние стороны боковых стенок ковшей 13 закрыты сеткой 29 или металлическим листом, или листом из пластика.
На боковых стенках 4 фермы 1 агромоста или на боковых стенках платформ 30, закрепленных на нижней стороне фермы 1, закреплены системы 31 для навески различных дополнительных сменных сельхозорудий. Пуль управления 25 соединен с агромостом через многожильный кабель 32. Укосины 21 имеют талрепы 33, позволяющие приподнимать и опускать кронштейны 20, на которых через накладки 34 и подшипники 35 закреплен вал 17 /см. фиг.7/. На неподвижно закрепленном валу 36 закреплены очистительные пруты 37, использующиеся, когда в этом есть необходимость, для очистки подпружиненных зубьев 19 грабель, закрепленных на валу 17 гайками 38. Шторки 14 вертикально перемещаются моторредукторами 15 через тросы 38 А, концы ковшей 13 скреплены между собой элементами 39, что заставляет все ковши перемещаться как одно целое. Нижняя часть щитов 11 опирается на укосы 40. Ковши снабжены зубьями 41 и на них закреплены вибраторы.
Агромост используется следующим образом. Подборочные ковши используются, например, тогда, когда с агроугодья нужно вывезти валки измельченной соломы и половы, оставленные агромостами, оснащенными комбайнами. Закрытое днище и стенки подборочных ковшей сводят к минимуму потерю наиболее ценного кормового продукта – половы. Гидроцилиндры 16 позволяют двигать днище ковшей по поверхности поля, позволяют регулировать положение зубьев 41 ковшей относительно поверхности агроугодья, а также, при необходимости, наклонять ковши, чтобы их загрузка продуктом была полной. Наклонять ковши приходится и тогда, когда нужно разгрузить ковши за пределами края агроугодья, при этом шторки 14 с помощью моторредукторов 15 и тросов 38 приподнимают и собранный ковшами продукт во время медленного движения агромоста за пределами края агроугодья высыпается на землю.
Агромостом можно убирать разбросанное по агроугодью и высушенное сено, ботву, солому, при этом предварительно используют опущенные вниз и ориентированные нужным образом граблины 19 для формирования валков. Для уборки на силос можно собирать и влажные валки ботвы, куски стеблей кукурузы и подсолнуха.
При больших размерах агроугодий, чтобы убрать все валки, приходится убирать сначала валки, находящиеся ближе к месту разгрузки ковшей, а затем, после разгрузки ковшей, перемещать агромост по тем же колеям в обратную сторону за новыми валками, и так, после нескольких реверсивных перемещений агромоста, очищают все агроугодье. При этом при повторных подъездах агромоста к месту выгрузки опущенные и загруженные ковши используют как обычную толкающую волокушу, чтобы сдвинуть в стог или в силосную яму ранее привезенную порцию продукта, высыпанного из ковшей.
Если есть необходимость, то для облегчения разгрузки ковшей включают вибраторы (не обозначены).
Так как щиты 11 и приподнятые ковши закрывают поле обзора оператора, выдвижную часть 24 кабины 9 поднимают и закрепляют наверху. При движении агромоста в обратном направлении оператор управляет движением агромоста с дублирующего пульта в кабине 10.
При переходе на соседние колеи поочередно используются приподнимающие ферму 1 и самоходные тележки 2, домкраты 8, что позволяет разворачивать гусеницы агромоста на 90°.
Когда это целесообразно, то на нижнюю часть фермы 1 могут закрепляться платформы 30 /фиг.3, 4/, а на них, снизу, закрепляться ряд (не показан) нужных сельхозорудий. В другом случае на ферму 1 закрепляются платформы 30 с навесными системами 31 /фиг.1, 2/, которые своими гидросистемами могут приподнимать и опускать два ряда навесных сельхозорудий.
Граблины 19 могут быть повернуты и закреплены таким образом, чтобы во время подборки валков ковшами они работали как рыхлители почвы. Для послеуборочного рыхления почвы вместо граблин 19 могут закрепляться и использоваться разного рода лемехи и культивированные лапы.
Положительный эффект устройства заключается в следующем.
Агромост, двигаясь по постоянным уплотненным грунтовым колеям, не уплотняя активную часть агроугодья, позволяет убирать с агроугодья, например, смесь рубленой соломы вместе с половой, остающихся в валках после прохождения по большому агроугодью агромоста с установленным на нем одним или несколькими комбайнами.
Агромостом может вывозиться разбросанное на агроугодье для просушки сено кормовых трав, а также ботва, солома, при этом для сбора продукта в валки могут использоваться граблины 19, причем для послеуборочного рыхления почвы граблины могут быть развернуты на 180°. Могут вывозиться, например, влажные валки ботвы или рубленые стержни кукурузы на силос, стебли подсолнечника.
Вместо граблин 19 на вал 17 могут закрепляться другие исполнительные орудия, а на ферме 1 могут закрепляться один или два ряда дополнительных сельхозорудий.
Формула изобретения
1. Агромост, включающий ферму, самоходные тележки с поворотными кругами для развертывания гусениц, домкраты, кабины управления, вспомогательное энергетическое и технологическое оборудование, отличающийся тем, что на торцах самоходных тележек с одной стороны фермы агромоста вдоль всей длины агромоста закреплен щит, на верхнем краю которого через шарниры подвешены уборочные ковши, имеющие вертикально перемещающиеся шторки, снабженные реверсивными мотор-редукторами для их перемещения, и гидроцилиндры для повертывания ковшей относительно шарниров, при этом на противоположных торцах самоходных тележек агромост имеет повертывающийся вокруг продольной оси вал со сквозными отверстиями для закрепления в них рабочих органов сельхозорудий, например культиваторных лап или пружинящих зубьев грабель, причем вал закреплен на концах кронштейнов и укосин, шарнирно скрепленных с торцами тележек, при этом для поворотов вала агромост имеет реверсивные мотор-редукторы с зубчато-цепным приводом.
2. Агромост по п.1, отличающийся тем, что сквозные отверстия в повертывающемся вале имеют в сечении форму квадрата.
3. Агромост по п.1, отличающийся тем, что одна из кабин управления имеет выдвигающуюся вверх часть с расположенными в ней пультом управления и сидением оператора.
4. Агромост по п.1, отличающийся тем, что стержни днища подборочных ковшей накрыты металлическим листом, например, из нержавеющей стали.
5. Агромост по п.1, отличающийся тем, что внутренние стороны боковых стенок ковшей закрыты металлической сеткой, или металлическим листом, или листом из пластика.
РИСУНКИ
MM4A – Досрочное прекращение действия патента СССР или патента Российской Федерации на изобретение из-за неуплаты в установленный срок пошлины за поддержание патента в силе
Дата прекращения действия патента: 15.07.2008
Извещение опубликовано: 10.07.2010 БИ: 19/2010
|
|