|
|
(21), (22) Заявка: 2003121098/12, 14.07.2003
(24) Дата начала отсчета срока действия патента:
14.07.2003
(45) Опубликовано: 20.12.2004
(56) Список документов, цитированных в отчете о поиске:
RU 2175175 С1, 27.10.2001. RU 2163428 С2, 27.02.2001. RU 2142682 С1, 20.12.1999. RU 2029450 С1, 27.02.1995.
Адрес для переписки:
129226, Москва, ул. Докукина, 5, корп.1, кв.18, И.А. Майсову
|
(72) Автор(ы):
Майсов И.А. (RU)
(73) Патентообладатель(и):
Майсов Иван Александрович (RU)
|
(54) АГРОМОСТ
(57) Реферат:
Агромост содержит ферму с возможностью перемещения на самоходных тележках с закрепленными на ней на поворачивающихся кругах гусеничными движителями, платформы с закрепленными на них системами для навески рядов сменных сельхозорудий, домкраты, кабины управления, вспомогательное энергетическое и технологическое оборудование. Агромост имеет две дополнительные фермы, закрепленные на торцах самоходных тележек. Дополнительные фермы имеют закрепленные на них ряды платформ. На каждой платформе с одной или обеих сторон закреплены системы для навески рядов сменных сельхозагрегатов. Увеличивается производительность и функциональные возможности агромоста. 1 з.п. ф-лы, 3 ил.

Изобретение относится к сельскохозяйственному машиностроению.
Известен агромост по патенту РФ 2083079, А 01 В 49/00, имеющий три опорные фермы, перекрывающие все агроугодье, и движущийся вдоль него на нескольких самоходных тележках в старт-стопном режиме. Вдоль опорных ферм перемещаются две поперечные самоходные тележки, несущие сельхозорудия, например зерноуборочные комбайны. Недостаток этого устройства в том, что оно громоздко, металлоемко и для перевода на другое агроугодье его нужно демонтировать на части.
Наиболее близким агромостом, принятым автором за прототип, является агромост по патенту РФ 2175175, А 01 В 49/00. Его недостатком можно считать заниженную производительность, которую может иметь агромост, соизмеримый с ним по весу и габаритам.
Цель – увеличить производительность и функциональные возможности агромоста.
Возможность достижения цели обеспечивается тем, что агромост имеет две дополнительные фермы, закрепленные на концах самоходных тележек, причем дополнительные фермы имеют закрепленные на них платформы, причем с одной или двух сторон платформ закреплены системы для навески сменных рядов сельхозагрегатов; при этом каждый из домкратов агромоста состоит из двух гидроцилиндров, выдвижные штоки которых через шарниры опираются на опорную доску, ширина которой равна ширине постоянных грунтовых колей.
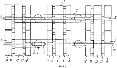
На фиг.1 – схема агромоста, вид сверху.
На фиг.2 – то же, вид в сечении по А-А на фиг.1.
На фиг.3 – то же, вид в сечении по Б-Б на фиг.1.
Агромост имеет ферму 1, составленную из трех отрезков, с возможностью перемещения на самоходных тележках 2, на ферме закреплены на повертывающихся кругах 3 гусеничные движители 4, платформы 5 с системами 6 для навески одного или двух рядов сменных сельхозагрегатов 7, 8, домкраты 9, кабины управления 10, 11. Помимо этого агромост имеет две 12, 13 дополнительные фермы, закрепленные на торцах самоходных тележек 2, при этом дополнительные фермы имеют закрепленные на них ряды платформ 14, 15, причем на каждой из платформ с одной или обеих сторон закреплены системы 16, 17 для навески рядов сменных сельхозагрегатов 18, 19. Каждый из домкратов 9 агромоста состоит из двух гидроцилиндров выдвижные штоки которых, через шарниры 20, скреплены с опорной доской 21, ширина которой равна ширине постоянных уплотненных грунтовых колей 22. Привод гусениц выполнен через мотор-редукторы 23 и цепной привод 24. Агромост имеет установленные на кабинах два лазера 25, 26, обеспечивавших высокую точность движения агромоста по колеям.
Агромост используется следующим образом. На агромост навешивают до шести рядов сельхозорудий. При движении в одну сторону опускают, например, на грунт и используют три ряда орудий, а в другую – три других ряда. Например, сельхозорудие идущее первым – снимает урожай, а два последующих – выполняют, послеуборочную обработку почвы. Или так: два первых орудия готовят почву для посадки стеблей растений, а последнее третье – производит посадку.
Для разворота гусениц на 90° для перехода на соседние колеи агромост домкратами поочередно приподнимает края агромоста, при этом большая опорная поверхность досок 21 не портит грунтовые опорные колеи. Агромостом управляет оператор из поднятых вверх кабин, при этом ан ориентируется на освященное лазером пятно, которое должно находиться всегда перед ним посредине колеи. При необходимости проходов агромоста под водораспределительной трубой дождевальной машины кабины опускаются во внутренний объем дополнительных ферм. Объем срединной и дополнительных ферм может использоваться, например, для размещения накопительных бункеров и разгрузочных транспортеров при уборке урожая. В фермах могут располагаться емкости для запасов воды на полив сажаемых растений, бункеры с запасом удобрений или химикатов.
Полезный эффект устройства заключается в расширении функций агромоста и большей производительностью в сравнении с возможностями прототипа. На агромост могут навешиваться серийные сельхозагрегаты и серийные, например, от тракторов системы для навески агрегатов на агромост. Сельхозорудия агромоста могут обрабатывать полосы активной площади агроугодья, примыкающие непосредственно к колеям.
Формула изобретения
1. Агромост, включающий ферму, перемещающуюся на самоходных тележках с закрепленными на ней на повертывающихся кругах гусеничными движителями, платформы с закрепленными на них системами для навески рядов сменных сельхозорудий, домкраты, кабины управления, вспомогательное энергетическое и технологическое оборудование, отличающийся тем, что агромост имеет две дополнительные фермы, закрепленные на торцах самоходных тележек, при этом дополнительные фермы имеют закрепленные на них ряды платформ, причем на каждой из платформ с одной или обеих сторон закреплены системы для навески рядов сменных сельхозагрегатов.
2. Агромост по п.1, отличающийся тем, что каждый из домкратов состоит из гидроцилиндров, выдвижные штоки которых через шарниры скреплены с опорной доской, ширина которой равна ширине уплотненных грунтовых колей.
РИСУНКИ
MM4A – Досрочное прекращение действия патента СССР или патента Российской Федерации на изобретение из-за неуплаты в установленный срок пошлины за поддержание патента в силе
Дата прекращения действия патента: 15.07.2008
Извещение опубликовано: 10.07.2010 БИ: 19/2010
|
|