|
|
(21), (22) Заявка: 2003117411/12, 16.06.2003
(24) Дата начала отсчета срока действия патента:
16.06.2003
(43) Дата публикации заявки: 20.01.2004
(45) Опубликовано: 20.12.2004
(56) Список документов, цитированных в отчете о поиске:
RU 2175178 С2, 27.10.2001. RU 2163428 С2, 27.02.2001. RU 2142682 С1, 20.12.1999. RU 2029450 С1, 27.02.1995.
Адрес для переписки:
129226, Москва, ул. Докукина, 5, корп.1, кв.18, И.А. Майсову
|
(72) Автор(ы):
Майсов И.А. (RU)
(73) Патентообладатель(и):
Майсов Иван Александрович (RU)
|
(54) АГРОМОСТ ДЛЯ РЕМОНТА ПОСТОЯННЫХ КОЛЕЙ АГРОУГОДЬЯ
(57) Реферат:
Агромост для ремонта постоянных колей агроугодья содержит форму, гусеничные самоходные тележки, закрепленные на разворотных кругах, домкраты, кабины управления, лазерные указатели, рамы, вертикально перемещающиеся штыри с захватами для рам, вспомогательное энергетическое и технологическое оборудование. Агромост имеет конические бункеры для размещения в них ремонтной грунтовой смеси. Выходные отверстия бункеров имеют задвижки с приводом от реверсивных моторредукторов. Агромост имеет катки, закрепленные над колеями по обе стороны каждого бункера, причем катки могут смещаться по вертикали. Обеспечивает ремонт и улучшение качества постоянных грунтовых колей. 4 ил.

Изобретение относится к сельскохозяйственному машиностроению.
Известен агромост по патенту РФ 2163428, имеющий рамы-платформы с сельхозорудиями, каждая из которых подвешена на выдвинутых штырях, причем выдвижные штыри установлены с возможностью перемещений по вертикали одним моторредуктором через цепь.
Известен агромост с оснасткой для выполнения постоянных грунтовых колей различной конфигурации – по патенту РФ 2175178 А 01 В 49/00, принятый автором за прототип. Агромост имеет перемещающиеся по грунту агроугодья опорные щиты, закрепленные на каждой из самоходных тележек агромоста с возможностью их перемещений по вертикали, причем на плитах закреплены грунтовые фрезы с электроприводом, с помощью которых можно выполнять колеи различной конфигурации.
Предлагаемое устройство отличается тем, что позволяет засыпать размытые или чрезмерно продавившиеся колеи специально приготовленным грунтом со связующим, что исправляет колеи и придает им новое качество: они становятся более жесткими, удлиняется срок их эксплуатации без ремонта, они становятся более стойкими к размыванию их ливневыми стоками.
Цель – ремонт и улучшение качества постоянных грунтовых колей. Возможность использования агромоста для других сельхозработ.
Возможность достижения цели обеспечивается тем, что агромост имеет конические бункеры для размещения в них ремонтной грунтовой смеси, при этом выходные отверстия бункеров имеют задвижки с приводом от реверсивных моторредукторов, при этом устройство имеет катки, закрепленные на раме над колеями по обе стороны каждого бункера, причем катки могут смещаться по вертикали.
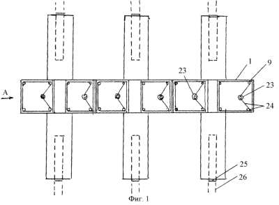
На фиг.1 – вид агромоста сверху.
На фиг.2 – вид агромоста сбоку. Гусеницы агромоста повернуты на 90°, и он движется по вспомогательным колеям слева-направо, чтобы последовательно захватить три рамы (показана одна) с бункерами, в которые загружена ремонтная грунтовая смесь.
На фиг.3 – вид агромоста с торца – по стрелке А на фиг.1.
На фиг.4 – вид захваченной штырями рамы агромоста с закрепленным на раме коническим бункером. Показано, что шторка бункера открыта и в размытую часть колеи поступает ремонтная смесь.
Устройство имеет ферму 1, гусеничные или колесные самоходные тележки 2, закрепленные на разворотных кругах 3, домкраты 4, кабины управления 5, 6, закрепленные на средней самоходной тележке, лазерные указатели 7, рамы 8, вертикально перемещающиеся штыри 9 с захватами для рам 8, снабженные автоматическими электрозащелками 10, вспомогательное энергетическое и технологическое оборудование (не показано), конические бункеры 11, загруженные ремонтной смесью 12. По обе стороны каждого бункера 11 закреплены катки 13. Выходные отверстия бункеров имеют задвижки 14 с приводом от реверсивных моторредукторов 15, закрепленных в кожухах 16. Выходные шестерни 17 моторредукторов 15 взаимодействуют с гайками-шестернями 16, которые, воздействуя на резьбу стержней 19, перемещают соединенные со стержнями задвижки 14.
На бункерах 11 закреплены вибраторы 21. Катки 13 закреплены на раме 9 с возможностью перемещения их осей в вертикальных прорезях 22. Перемещение штырей 9 выполняют реверсивные моторредукторы 23, каждый из которых цепью 24 перемещает сразу четыре штока 9. При захвате рам 8 используются одновременно два смежных моторредуктора 23. На ферме 1 закреплены дополнительные направляющие штыри 20, воспринимающие на себя большие тангенциальные нагрузки, если такие появятся при работе агромоста.
Гусеницы 24, 25 агромоста движутся по постоянным уплотненным грунтовым колеям 26. Гусеницы приводятся в движение моторредукторами 27 через цепи 28.
Агромост работает следующим образом. Он движется фронтально по колеям, засыпает углубления и вымоины на колеях. Дойдя до края агроугодья, ферму приподнимают, начиная с одного края, домкратами и, повернув гусеницы на 90°, переезжают на соседние колеи, снова развертывают гусеницы и следуют в обратном направлении. Высоту горловин бункеров регулирует оператор с помощью моторредукторов 23. Соответствующей высоты горка высыпанной смеси уплотняется сзади идущим катком 13. Смесь можно поутюжить. Во время повторного прохода смесь можно подсыпать дополнительно, чтобы выполнить колею заподлицо с уровнем агроугодья.
Порожние бункеры вывозятся на вспомогательную колею (см. фиг.3), ставятся на грунт, а после их заполнения ремонтной смесью агромост снова наезжает на рамы с бункерами и последовательно поднимает их на агромост. Наличие лазерных указателей 7, показывающих центр колеи, позволяет использовать агромост ночью.
Положительный эффект устройства в том, что оно может обеспечить высокую производительность при высоком качестве ремонта. Его можно использовать для выполнения многих сельхозработ. Для этого снимают рамы с бункерами и вместо них на ферму агромоста навешивают четыре рамы с нужными сельхозорудиями.
Формула изобретения
Агромост для ремонта постоянных колей агроугодья, содержащий ферму, гусеничные самоходные тележки, закрепленные на разворотных кругах, домкрат, кабины управления, лазерные указатели, рамы, вертикально перемещающиеся штыри с захватами для рам, вспомогательное энергетическое и технологическое оборудование, отличающийся тем, что агромост имеет конические бункеры для размещения в них ремонтной грунтовой смеси, при этом выходные отверстия бункеров имеют задвижки с приводом от реверсивных мотор-редукторов, при этом агромост имеет катки, закрепленные над колеями по обе стороны каждого бункера, причем катки могут смещаться по вертикали.
РИСУНКИ
MM4A – Досрочное прекращение действия патента СССР или патента Российской Федерации на изобретение из-за неуплаты в установленный срок пошлины за поддержание патента в силе
Дата прекращения действия патента: 17.06.2008
Извещение опубликовано: 20.06.2010 БИ: 17/2010
|
|