|
|
(21), (22) Заявка: 2002135213/09, 24.12.2002
(24) Дата начала отсчета срока действия патента:
24.12.2002
(43) Дата публикации заявки: 10.07.2004
(45) Опубликовано: 10.12.2004
(56) Список документов, цитированных в отчете о поиске:
SU 1654985 А1, 07.06.1991. SU 1088895 А, 30.04.1984. RU 2120199 С1, 10.10.1998. US 5380987 А, 10.01.1995. JP 1163990, 28.06.1989.
Адрес для переписки:
61108, Украина, г. Харьков, а/я 2095, А.С.Серюгиной
|
(72) Автор(ы):
Грепан Сергей Евгеньевич (UA)
(73) Патентообладатель(и):
Грепан Сергей Евгеньевич (UA)
|
(54) ТРУБЧАТЫЙ ЭЛЕКТРОНАГРЕВАТЕЛЬ
(57) Реферат:
Изобретение относится к электротехнике, а именно к нагревательным устройствам, и может быть использовано для нагрева жидкости различного назначения, например, для подогрева масла или топлива с целью улучшения пуска двигателя внутреннего сгорания в зимнее время года. В основу изобретения поставлена задача усовершенствования известного трубчатого электронагревателя, в котором, вследствие выполнения нагревательного элемента в виде спирали, обеспечивающей разные зоны удельной мощности, закрепления одного конца спирали на токовводе, а второго на противоположном конце трубки к ее корпусу, обеспечивается неравномерное рассеивание мощности, исключается вероятность возникновения искры между тэн’ом и массой, и за счет этого осуществляется дифференцированный нагрев отдельных элементов агрегатов в зависимости от их назначения и расположения, обеспечивается пожаробезопасность. Предлагаемое техническое решение обладает значительно более широкими функциональными возможностями в сравнении с известными. Оно обеспечивает безопасную работу трубчатого электронагревательного устройства в агрессивных средах, поскольку исключает возникновение искры. Устройство надежно и долговечно, гарантированный срок работы не менее 2-х лет. 4 ил., 1 табл.

Изобретение относится к электротехнике, а именно к нагревательным устройствам, и может быть использовано для нагрева жидкости различного назначения, например, для подогрева масла или топлива с целью улучшения пуска двигателя внутреннего сгорания в зимнее время года.
Известно, что для подогрева нефти, циркуляционного масла в емкостях, картерах автомашин, других вязких масел, охлаждающей воды, топлива, жидкости с высокой температурой застывания, для подогрева металла, например, экструдеров или двигателей применяют трубчатые электронагреватели (тэн’ы). Это связано с тем, что при низких температурах происходит изменение физических свойств жидкости и нарушается нормальная работа системы питания, например, двигателя внутреннего сгорания. С целью устранения отрицательного влияния низкой температуры, получения условий для надежного пуска и работы двигателей топливо нагревают наряду с одновременным повышением теплового состояния деталей [Козлов В.Е., Козлов В.В., Миндин Г.Р., Судаченко В.Н. Электронагревательные устройства автомобилей и тракторов. – Л.: Машиностроение, Ленингр. отд-ние, 1984. – 127 с.]. Для этого в системе двигателя внутреннего сгорания используют несколько тэн’ов, каждый из которых предназначен для работы в определенной полости. Тэн’ы при этом имеют, как правило, относительно небольшую длину, не более десятка сантиметров.
Известно, что для нагрева больших объемов применяют нагревательные кабели с различными типами изоляции, которые имеют экранирующую оплетку, используемую в качестве заземления. Однако изоляция кабелей не предназначена для работы в агрессивных средах. Кроме того, нагревательный гибкий кабель имеет постоянную удельную мощность по всей длине, что исключает его использование в устройствах сложной конфигурации, требующих для подогрева разных температурных режимов.
Наиболее близким к заявляемому по назначению, технической сущности и достигаемому результату при использовании является трубчатый электронагреватель, содержащий корпус в виде трубки с наполнителем, токоввод для питания и нагревательный элемент [см. описание к патенту РФ №2120199, М. Кл. Н 05 В 3/48, опубл. 10.10.1998 г.]. В этом устройстве нагревательный элемент выполнен в виде толстопленочного резистора на металлодиэлектрической подложке, а наполнителем является трансформаторное масло.
Такой нагревательный элемент устанавливают в картере, подключают к стационарному источнику напряжения до 36 В, и при этом происходит нагревание масла. Толстопленочный резистор на металлодиэлектрической подложке способствует увеличению площади рассеивания тепла. Однако такое устройство имеет практически постоянную удельную мощность по всей длине резистора. Кроме того, терморезистор чувствителен к изменению формы и практически не может быть использован в полостях сложной формы.
Поэтому целью заявляемого технического решения является расширение функциональных возможностей трубчатого электронагревателя и улучшение таких его свойств, как безопасность и надежность.
Поставленная цель достигается тем, что в известном трубчатом электронагревателе, содержащем корпус в виде трубки с наполнителем, токоввод для питания и нагревательный элемент, согласно изобретению, нагревательный элемент выполнен в виде спирали, обеспечивающей разные зоны удельной мощности, при этом один конец спирали закреплен на токовводе, а второй на противоположном конце трубки прикреплен к ее корпусу.
В качестве наполнителя использован кварцевый песок, а токоввод проходит через изолятор, размещенный на конце трубки, и герметизирован в корпусе смесью кварцевого песка, алебастра и цемента.
Как видно из изложения сущности заявляемого технического решения, оно отличается от прототипа и, следовательно, является новым.
Заявляемое решение обладает изобретательским уровнем. В основу изобретения поставлена задача усовершенствования известного трубчатого электронагревателя, в котором, вследствие выполнения нагревательного элемента в виде спирали, обеспечивающей разные зоны удельной мощности, закрепления одного конца спирали на токовводе, а второго на противоположном конце трубки к ее корпусу, обеспечивается неравномерное рассеивание мощности, исключается вероятность возникновения искры между тэн’ом и массой, и за счет этого осуществляется дифференцированный нагрев отдельных элементов агрегатов в зависимости от их назначения и расположения, обеспечивается пожаробезопасность.
Известно, что практически все транспортные средства, рассчитанные на работу в широком диапазоне температур, в частности минусовых, снабжены различными подогревательными устройствами, выполненными на основе трубчатых электронагревательных элементов (тэно’в). В настоящее время создано и эксплуатируется большое количество электронагревателей, изготовленных в местных условиях, различных по конструкции и создаваемому ими тепловому эффекту [Козлов В.Е., Козлов В.В., Миндин Г.Р., Судаченко В.Н. Электронагревательные устройства автомобилей и тракторов. – Л.: Машиностроение, Ленингр. отд-ние, 1984. – 127 с.]. Однако наименее эффективными оказываются нагреватели, например, дизельного топлива, особенно такого, которое предназначено для работы при низких температурах. Отсутствие надежной системы нагрева приводит к тому, что двигатели в определенное время года практически не выключают, что ведет к их быстрому износу.
Известно, например, устройство для предпускового подогрева топлива в подогревателе двигателя внутреннего сгорания, содержащее корпус с полостью, снабженной электронагревательным элементом, подключенным при помощи подводящего штуцера к питающему топливопроводу [см. описание к авт. св. СССР №973910, М. Кл. F 02 N 17/04, опубл. 15.11.82]. Устройство позволяет повысить надежность воспламенения топлива в предпусковой период. Однако использование описанного выше устройства не может обеспечить устойчивую работу двигателя в целом при низких температурах, поскольку нагревательный элемент работает в ограниченном объеме, и его работа не сказывается на подаче топлива из бака по топливопроводу.
Известно также устройство для нагрева текучей среды, содержащее цилиндрический корпус с отверстиями для подачи и отвода среды, внутри которого коаксиально ему с зазором установлен трубчатый нагреватель [см. описание к авт. св. СССР №1677878 А1, М кл. Н 05 В 3/60, опубл. 15.09.88]. Устройство предназначено для подогрева углеводородного топлива перед его подачей в двигатель в условиях низких температур. Оно позволяет повысить интенсивность теплообмена на 20-30%.
Однако конструкция описанного выше устройства сложна, поскольку предполагает использование специальных гофрированных труб и их дополнительную обработку. Кроме того, конструкция предполагает установку устройства непосредственно в топливопроводе, что может быть бесполезно, если топливо в баке обладает значительной вязкостью при низких температурах.
Заявляемое техническое решение принципиально решает проблему, предлагая тэн, который можно выполнить с различными зонами нагрева. Используя такое свойство медной оболочки, как низкое сопротивление изгибу после отжига, тэн’у можно придать любую необходимую форму и длину с учетом необходимого на том или ином участке удельного рассеяния мощности и обеспечить эффективный, безопасный нагрев, например, топлива.
Предлагаемое решение находит широкое применение в современной практике на транспортных средствах, работающих в условиях низких температур и в других отраслях, например, для размораживания холодильных установок, экструдеров и др.
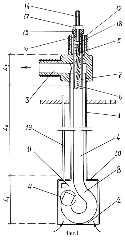
Фиг.1 – тэн для нагрева топлива в топливном баке.
Фиг.2 – тэн для нагрева топлива (вид сверху)
Фиг.3 – конец трубчатого нагревателя.
Фиг.4 – тэн для нагрева текучей среды.
Пример 1. Устройство для нагрева топлива содержит цилиндрический корпус с отверстиями для подачи 2 и отвода топлива 3, внутри которого коаксиально ему с зазором установлен трубчатый электронагреватель 4, выполненный согласно заявленному техническому решению. Трубчатый электронагреватель 4 содержит корпус 5, в котором расположены спираль 6 и наполнитель 7, в качестве которого использован кварцевый песок. Один конец трубчатого электронагревателя 4 изогнут в виде крюка 8.
Цилиндрический корпус 1 устройства снабжен установочным фланцем 9 и дополнительным цилиндром 10, в полости 11 которого размещен изогнутый конец 8 трубчатого электронагревателя 4. Другой конец трубчатого электронагревателя 4 зафиксирован в штуцере 12. Спираль 6 на одном конце соединена с заглушкой 13, что обеспечивает контакт с массой транспортного средства, на другом конце она соединена с токовводом 14. Второй конец токоввода 14 проходит через изолятор 15, который зафиксирован герметиком 16 и гайкой 17. Токоввод 14 в корпусе 5 электронагревателя 4 герметизирован смесью 18 кварцевого песка, алебастра и цемента. Устройство выполнено с датчиком температуры 19.
Вся длина трубчатого нагревателя 4 разделена на три зоны L1, L2, L3, как показано на фиг.1, которые имеют разные удельные мощности. Максимальная мощность трубчатого электронагревателя Р=2 кВт при Umax=28 В. Длины отдельных участков тэн’а и соответствующие рассеиваемые мощности показаны в таблице.
Устройство работает так, как работают все трубчатые электронагреватели. При прохождении электрического тока по спирали она нагревается и нагревает изолирующий кварцевый песок и оболочку, обеспечивая тепловой поток в зависимости от линейных и других характеристик тэн’а до 10,2 Вт/см2. Однако наибольшая мощность выделяется в основном объеме топлива на длине L1, а в других менее объемных каналах выделяется меньшая часть общей мощности.
Пример 2. Устройство для нагрева текучей среды содержит корпус 20 для жидкости с отверстиями для подачи 21 и отвода 22 среды. На крышке 23 корпуса 20 на установочном фланце 24 смонтирован трубчатый электронагреватель 26 с помощью штуцера 27 и гайки 28. Корпус 29 трубчатого электронагревателя 26 выполнен в виде спирали, погруженной в жидкость. Токоввод 30 и следовательно один конец спирали 31 соединены с фазой, а второй конец спирали присоединен к корпусу так, как показано на фиг.3, и, следовательно, как и трубчатый корпус 29 соединен с массой корпуса 20. Все витки спирали имеют равную длину, однако разную выделяющуюся на каждом витке мощность, как показано в таблице.
В этом случае для обеспечения эффективного массопереноса оказывается целесообразно при равной длине витков в большей степени нагревать жидкость в нижней части бака и в меньшей степени в верхней части бака. Максимальная мощность трубчатого электронагревателя Р=2 кВт при Umax=220 В.
В таблице приведены характеристики электронагревателей, изготовленных на основе заявляемого технического решения.

Как видно из описания примеров конкретного выполнения, предлагаемое техническое решение обладает значительно более широкими функциональными возможностями в сравнении с известными. Оно обеспечивает безопасную работу трубчатого электронагревательного устройства в агрессивных средах, поскольку исключает возникновение искры. Устройство надежно и долговечно, гарантированный срок работы не менее 2-х лет.
Формула изобретения
Трубчатый электронагреватель, содержащий корпус в виде трубки с электроизоляционным наполнителем, токоввод для подачи питания и нагревательный элемент, выполненный в виде спирали, отличающийся тем, что нагревательный элемент выполнен с возможностью образования разных зон выделяемой мощности от 2,0 до 25 Вт/см, при этом один конец спирали закреплен на токовводе, а второй на противоположном конце трубки прикреплен к ее заземленному корпусу.
РИСУНКИ
MM4A – Досрочное прекращение действия патента СССР или патента Российской Федерации на изобретение из-за неуплаты в установленный срок пошлины за поддержание патента в силе
Дата прекращения действия патента: 25.12.2007
Извещение опубликовано: 27.07.2009 БИ: 21/2009
|
|