|
|
(21), (22) Заявка: 2002133914/09, 16.12.2002
(24) Дата начала отсчета срока действия патента:
16.12.2002
(43) Дата публикации заявки: 20.07.2004
(45) Опубликовано: 10.12.2004
(56) Список документов, цитированных в отчете о поиске:
RU 98117453 А, 20.09.1999. JP 2001036515 А1, 09.02.2001. US 4115745, 19.09.1978. SU 1092745, 15.05.1984. FR 2368178, 15.05.1978.
Адрес для переписки:
344038, г.Ростов-на-Дону, ул. Нансена, 130, Ростовский НИИ радиосвязи
|
(72) Автор(ы):
Гончаров А.Ф. (RU), Посиделова М.А. (RU), Савушкин В.Т. (RU), Шаламов Г.Н. (RU)
(73) Патентообладатель(и):
Федеральное государственное унитарное предприятие “Ростовский-на-Дону научно-исследовательский институт радиосвязи” (RU)
|
(54) ПРИЕМНИК СИНХРОСИГНАЛА
(57) Реферат:
Изобретение относится к радиотехнике. Технический результат заключается в сокращении времени входа в синхронизм. Сущность изобретения заключается в том, что устройство содержит регистр сдвига, детектор кодовой комбинации синхросигнала, накопитель по выходу из синхронизма, генераторное оборудование, канальный распределитель и элементы логики (схемы И, НЕ), а также дополнительно содержит набор n блоков обработки, каждый из которых содержит m-разрядный регистр сдвига и коммутатор, при этом выходы коммутаторов подключены ко входам детектора кодовой комбинации синхросигнала. 1 ил.

Изобретение относится к области цифровой техники и может быть использовано в аппаратуре обработки сигналов спутниковых линий связи с временным уплотнением.
В цифровых системах связи используются для обеспечения кадровой синхронизации как сосредоточенные, так и рассредоточенные кодовые комбинации синхросигналов. При этом требования по обеспечению кадровой синхронизации противоречивы: вход в синхронизм должен происходить как можно быстрее и удерживаться, как можно дольше.
В линиях связи, работающих при регламентированных отношениях сигнал/шум и заданной вероятности искажения символов, эти требования выполняются. В условиях же, когда приходится работать при низких соотношениях сигнал/шум и больших вероятностях искажения символов, эти требования выполнить трудно, особенно для сигналов с рассредоточенными кодовыми комбинациями, поскольку каждый сбой кадровой сихронизации требует длительного времени входа в синхронизм, так как перебор всех возможных временных позиций синхросигнала осуществляется применением метода исключения одного такта из тактовой частоты контролируемого сигнала, что соответствует переходу на соседний бит. Исключение такта происходит по командам от решающей схемы при отсутствии синхронизма в течение четырех кадров.
Так, при длине подкадра М=32 бита, длине кадра N=32 подкадра и принятии решения о нахождении синхросигнала по К=4 кадрам потребуется для входа в синхронизм V бит
V=M× N× К× М 130 кбит,
что составляет существенные потери при передаче телеграфной информации и передаче данных и не удовлетворяет требованиям обеспечения хорошего качества на приемной стороне.
Другим недостатком устройства такого варианта построения приемника синхросигнала является невозможность работы по рассредоточенным кодовым комбинациям, если биты синхросигнала расположены неравномерно на длине кадра.
Для обеспечения синхронизации при сосредоточенных синхросигналах известен приемник [1], содержащий детектор кодовой комбинации кадровых синхросигналов, выход которого подключен к первым входам первого и второго элементов совпадения, а также кадровый счетчик, вход которого является входом тактовой частоты устройства, третий элемент совпадения, инвертор и накопитель, вход которого является выходом устройства и через инвертор подключен ко второму входу второго элемента совпадения, выход которого подключен к сбросовому входу кадрового счетчика, выход которого подключен ко второму входу первого элемента совпадения и первому входу третьего элемента совпадения, второй вход которого объединен со входом кадрового счетчика, при этом выходы первого и третьего элементов совпадения подключены ко входам накопительного счетчика.
Недостатком этого приемника является невозможность работы по рассредоточенным кодовым комбинациям синхросигналов как равномерно распределенным на длине кадра, так и, тем более, неравномерно распределенным при различной разрядности и структуре синхросигналов.
Использование принципа перебора всех временных позиций синхросигнала позволяет решить задачу работы по рассредоточенным синхросигналам, при этом время входа в синхронизм составляет 130 Кбит, что эквивалентно потере этого объема информации при сбоях кадровой синхронизации, при этом также невозможна работа по рассредоточенным неравномерно на длине кадра синхросигналам.
Для обеспечения кадровой синхронизации при сосредоточенных кодовых комбинациях синхросигнала известен приемник синхросигнала [2], взятый за прототип и содержащий регистр сдвига, дешифратор, схему НЕТ, схемы И, накопитель по входу в синхронизм, накопитель по выходу из синхронизма, схему восстановления тактовой частоты, генераторное оборудование и канальный распределитель.
Недостатком такого приемника является невозможность работы по сигналам с рассредоточенными синхросигналами различной структуры и разрядности, а также возрастание времени входа в синхронизм при малых соотношениях сигнал/шум, поскольку в качестве опознавателя синхросигнала используется дешифратор на безошибочную кодовую комбинацию, а не коррелятор с задаваемым порогом срабатывания.
Целью изобретения является сокращение времени входа в синхронизм (повышение помехоустойчивости) и обеспечение работы под произвольные сосредоточенные, равномерно и неравномерно рассредоточенные синхросигналы.
Для достижения указанной цели предлагается приемник синхросигнала, содержащий последовательно соединенные детектор кодовой комбинации синхросигнала (дешифратор), первую схему совпадения, накопитель по входу в синхронизм, накопитель по выходу из синхронизма, вторую схему совпадения, генераторное оборудование (ГО) и канальный распределитель, при этом выход второй схемы совпадения подключен ко второму входу накопителя по входу в синхронизм и второму входу накопителя по выходу из синхронизма, а второй выход генераторного оборудования подключен ко второму входу первой схемы совпадения и через элемент НЕТ к третьему входу накопителя по выходу из синхронизма, выход детектора кодовой комбинации синхросигнала подключен также ко вторым входам элемента НЕТ и второй схемы совпадения. Согласно изобретению, в него введены n (разрядность синхросигнала) последовательно соединенных блоков, состоящих из последовательно соединенных m (число бит в подкадре или число бит между смежными битами рассредоточенного синхросигнала)-разрядных регистров сдвига и коммутаторов, выходы которых подключены ко входам детектора кодовой комбинации синхросигнала, причем информационный вход первого m-разрядного регистра сдвига соединен со вторым входом канального распределителя, при этом информационным входом приемника синхросигнала является первый вход первого m-разрядного регистра сдвига, тактовыми входами являются объединенные вторые входы m-разрядных регистров сдвига, второй вход детектора кодовой комбинации синхросигнала и второй вход генераторного оборудования, а выходами приемника синхросигнала являются выходы канального распределителя.
Сочетание отличительных признаков и свойства предлагаемого изобретения из литературы не известны, решение задачи не очевидно, поэтому оно соответствует критериям новизны и изобретательского уровня.
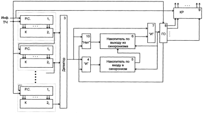
На чертеже приведена схема предлагаемого приемника. Приемник содержит последовательно соединенные набор n-последовательно соединенных m-разрядных регистров сдвига 11… 1n и коммутаторов 21… 2n, последовательно соединенные детектор кодовой комбинации 3, первая схема И 4, накопитель по входу в синхронизм 5, накопитель по выходу из синхронизма 6, вторая схема И 7, генераторное оборудование 8, канальный распределитель 9, а также элемент НЕТ 10. Входы детектора кодовой комбинации 3 подключены к выходам коммутаторов 21… 2n, а выход – к первому входу элемента НЕТ 10 и второму входу схемы И 7, выход которой подключен ко вторым входам накопителя по входу в синхронизм 5 и накопителю по выходу из синхронизма 6, выход генераторного оборудования 8 подключен ко вторым входам элемента НЕТ 10 и схемы И 4, выход элемента НЕТ 10 подключен к третьему входу накопителя по выходу из синхронизма 6.
Коммутаторы 21… 2n выполнены на переключателях (тумблер, клавиатура), детектор кодовой комбинации 3 выполнен в виде коррелятора с регулируемым порогом срабатывания.
Устройство работает в двух режимах
Коммутаторы 2 устанавливаются на первые разряды регистров сдвига 1, в результате чего образуется n-разрядный регистр сдвига из первых триггеров регистров сдвига 11… 1n и приемник готов к работе по сосредоточенным кодовым комбинациям.
Групповой поток в сопровождении тактовой частоты поступает на детектор 3 в параллельном коде с коммутаторов 2l… 2n. Каждая комбинация синхросигнала вызывает в детекторе 3 формирование сигналов на его выходе. Если приемник находится не в синхронизме, то первый же отклик детектора 3 через схему И 4 установит ГО 8 в начальное состояние. Следующий отклик детектора 3 при совпадении его отклика с сигналом синхросигнала от ГО 8 через схему И 4 запишется в накопитель по входу в синхронизм 5. Следующее совпадение по времени сигнала от детектора 3 и ГО 8 вызовет переполнение блока 5 и установку в нулевое состояние блока 6, то есть приемник вошел в синхронизм. При ложных комбинациях синхросигнала отклик детектора 3 и ГО 8 не совпадают по времени и приемник не входит в синхронизм.
При кратковременных искажениях синхросигнала, возникающих либо при сбоях синхронизации в системах более высокого порядка, либо под воздействием помех, сигнал с выхода ГО 8 проходит через элемент НЕТ 10 и заполняет счетчик накопителя по выходу из синхронизма 6. Однако, если блок 6 не переполняется, то сбоя синхронизации не происходит, и по первому же сигналу от блока 5 накопитель 6 обнуляется. Если же блок 6 переполнится, то приемник выходит из синхронизма и процесс входа в синхронизм повторяется.
2. Работа по синхросигналу равномерно или неравномерно рассредоточенному по длине кадра.
Пусть разрядность синхросигнала 20 бит, структура синхросигнала 1011.00001010.1110.1101, длина подкадра 32 бита, т.е. между смежными битами синхропризнака расположены 31 – информационный бит.
Проводим начальную установку приемника.
Коммутаторами 21… 220 подключаемся к 32-разрядам регистров сдвига 11… 120, в результате чего каждый 32 бит с регистров 11… 120 поступает на детектор и вход последующего регистра. Остальные коммутаторы 221…2n оставляем закрытыми, что равносильно маскированию детектора 3. Настраиваем детектор 3 на кодовую комбинацию синхросигнала со срабатыванием его при 2 ошибках в кодовой комбинации синхросигнала.
Информация и тактовые импульсы поступают на вход регистра сдвига 11 и с помощью коммутатора информация, задержанная на 32 такта, поступает на вход детектора 3 и вход следующего регистра 22. Таким образом, на детектор 3 поступает информация с двадцати коммутаторов 21… 220 с задержкой на каждом на 32 бита. Остальные коммутаторы закрыты.
Далее процесс входа в синхронизм, его удержание и выхода из синхронизма аналогичны ранее описанным процессам для сосредоточенных кодовых комбинаций.
Поскольку вход в синхронизм происходит за 3-4 кадра, то время входа в синхронизм сокращено с 130 Кбит до 4,096 кбит, т.е. обеспечен выигрыш во времени на три порядка, что резко повышает помехоустойчивость приемника.
При неравномерно распределенных битах синхросигнала на длине кадра с помощью коммутаторов 21… 2n задаются коды номеров бит, снимаемых с регистров 11… 1n на детектор, в остальном работа аналогична описанной выше.
На момент оформления материалов заявки в РНИИРС проверена работоспособность устройства и его реализуемость, результаты положительные.
Следует отметить, что возможности современных перепрограммируемых логических интегральных схем (ПЛИС) позволяют реализовать приемник на одной – двух микросхемах.
В результате использования предложения получаем следующий технико-экономический эффект: обеспечена возможность работы как по сосредоточенным, так и по рассредоточенным синхросигналам; сокращено время входа в синхронизм на два-три порядка по рассредоточенным кодовым комбинациям; повышена помехоустойчивость приемника за счет использования в качестве детектора коррелятора с регулируемым порогом срабатывания.
Литература.
1. Заявка №57-5377 (Япония). Сборник “Изобретения в СССР и за рубежом”.
2. Л.С.Левин, М.Л.Плоткин. Цифровые системы передачи информации. – М.: Радио и связь, 1982.
Формула изобретения
Приемник синхросигнала, содержащий последовательно соединенные детектор кодовой комбинации синхросигнала, первую схему совпадения, накопитель по входу в синхронизм, накопитель по выходу из синхронизма, вторую схему совпадения, генераторное оборудование и канальный распределитель, при этом выход второй схемы совпадения подключен ко второму входу накопителя по входу в синхронизм и второму входу накопителя по выходу из синхронизма, а второй выход генераторного оборудования подключен ко второму входу первой схемы совпадения и через элемент НЕТ к третьему входу накопителя по выходу из синхронизма, выход детектора кодовой комбинации синхросигнала подключен также ко вторым входам элемента НЕТ и второй схемы совпадения, отличающийся тем, что в него введены n последовательно соединенных блоков, состоящих из последовательно соединенных m-разрядных регистров сдвига и коммутаторов, выходы которых подключены ко входам детектора кодовой комбинации синхросигнала, причем информационный вход первого m-разрядного регистра сдвига соединен со вторым входом канального распределителя, при этом информационным входом приемника синхросигнала является первый вход первого m-разрядного регистра сдвига, тактовыми входами являются объединенные вторые входы m-разрядных регистров сдвига, второй вход детектора кодовой комбинации синхросигнала и второй вход генераторного оборудования, а выходами приемника синхросигнала являются выходы канального распределителя.
РИСУНКИ
MM4A – Досрочное прекращение действия патента СССР или патента Российской Федерации на изобретение из-за неуплаты в установленный срок пошлины за поддержание патента в силе
Дата прекращения действия патента: 17.12.2006
Извещение опубликовано: 20.02.2008 БИ: 05/2008
|
|