|
|
(21), (22) Заявка: 2002108117/09, 02.10.2000
(24) Дата начала отсчета срока действия патента:
02.10.2000
(30) Конвенционный приоритет:
02.10.1999 (пп.1-4, 10-13, 19, 21) KR 1999/43128 14.10.1999 (п.5) KR 1999/44627 15.10.1999 (п.6) KR 1999/45450 26.11.1999 (пп.7, 14, 15, 18, 20, 22-25, 28-31) KR 1999/53187 23.05.2000 (пп.8, 9, 16, 17, 26, 27) KR 2000/28775
(43) Дата публикации заявки: 27.10.2003
(45) Опубликовано: 10.12.2004
(56) Список документов, цитированных в отчете о поиске:
КЕ 10-89001308, 20.03.1989. RU 2113765 C1, 10.04.1998. US 4787095 A, 22.11.1988. EP 0827296 A, 04.03.1998. JP 10-094053 A, 10.04.1998.
(85) Дата перевода заявки PCT на национальную фазу:
01.04.2002
(86) Заявка PCT:
KR 00/01100 (02.10.2000)
(87) Публикация PCT:
WO 01/26269 (12.04.2001)
Адрес для переписки:
129010, Москва, ул. Б. Спасская, 25, стр.3, ООО “Юридическая фирма Городисский и Партнеры”, пат.пов. Ю.Д.Кузнецову, рег.№ 595
|
(72) Автор(ы):
ЧОЙ Хо-Киу (KR), ПАРК Чанг-Соо (KR), ХВАНГ Сунг-Ох (KR), ЛИ Хиун-Воо (KR), АХН Дзае-Мин (KR), КИМ Йоун-Сун (KR), МООН Хи-Чан (KR), ПАРК Сеонг-Илл (KR)
(73) Патентообладатель(и):
САМСУНГ ЭЛЕКТРОНИКС КО., ЛТД. (KR)
(74) Патентный поверенный:
Кузнецов Юрий Дмитриевич
|
(54) УСТРОЙСТВО И СПОСОБ СТРОБИРОВАНИЯ ДАННЫХ, ПЕРЕДАВАЕМЫХ ПО КАНАЛУ УПРАВЛЕНИЯ В СИСТЕМЕ СВЯЗИ МДКР
(57) Реферат:
Изобретение относится к способу передачи управляющих данных по нисходящему каналу связи и/или по восходящему каналу связи в системе мобильной связи, осуществляемому в базовой станции и/или в подвижной станции. Достигаемым техническим результатом является увеличение пропускной способности системы за счет минимизации времени, требуемого для процесса повторного установления синхронизации базовой станции, уменьшение уровня помех вследствие прерывистой передачи ВФКУ (выделенного физического канала управления) восходящего канала связи, увеличение срока службы аккумулятора подвижной станции и уменьшение уровня помех посредством передачи битов УМП (управления мощностью передачи) для восходящего канала связи. Для этого в одном из вариантов осуществления изобретения базовая станция определяет наличие данных, предназначенных для передачи в подвижную станцию по нисходящему каналу связи. В том случае, если в течение заранее заданного промежутка времени отсутствуют какие-либо данные, предназначенные для передачи по нисходящему каналу связи, базовая станция приводит в действие устройство выбора случайной позиции стробирования, посредством которого задают позицию стробирующего такта случайным образом, осуществляют пропускание управляющих данные в такте, имеющем заданную позицию, и отсекают управляющие данные, которые находятся в других позициях такта. Устройство выбора случайной позиции задает позицию стробирующего такта путем вычисления значения ‘х’, умножая системный номер кадра (СНК) принятого сигнала на некоторое конкретное целое число; перед тем, как осуществить стробирование во множестве временных отрезков, используемых для генерации сигнала нисходящего канала связи, оно осуществляет выбор n бит, начиная с позиции, отстоящей от точки начала кода скремблирования на ‘х’ элементов кода, период которого равен одному кадру, и задает позицию стробирующего такта соответствующей группы стробирующих тактов путем выполнения операции пересчета выбранных n бита по модулю, где значение модуля при операции пересчета по модулю равно количеству тактов в группе стробирующих тактов. 8 н. и 23 з.п. ф-лы. 49 ил., 3 табл.

Область техники
Настоящее изобретение относится, в целом, к устройству передачи данных и к способу для системы связи МДКР (множественного доступа с кодовым разделением каналов), в частности к устройству и способу стробирования данных в соответствии с наличием данных для передачи.
Предшествующий уровень техники
Обычные системы мобильной связи МДКР (множественного доступа с кодовым разделением каналов (CDMA)) обеспечивают, главным образом, обслуживание передачи речевых сигналов. Однако будущие системы мобильной связи МДКР должны поддерживать международный стандарт мобильной связи IMT-2000, который может обеспечивать обслуживание как передачи речевых сигналов, так и высокоскоростной передачи данных. В частности, международный стандарт мобильной связи IMT-2000 может обеспечивать обслуживание передачи речевых сигналов высокого качества, обслуживание передачи движущихся изображений, обслуживание поиска в сети Интернет и т.д. При обслуживании передачи данных системы мобильной связи, соответствующие международному стандарту IМТ-2000 мобильной связи, осуществляют передачу данных информационного обмена по каналу передачи данных и осуществляют передачу управляющих данных по каналу управления последовательно или параллельно с передачей данных информационного обмена. Здесь термин “данные информационного обмена” охватывает собой данные речевого сигнала, изображения и пакетной передачи, а термин “управляющие данные” охватывает собой управляющие и служебные данные (сигнализации), относящиеся к передаче данных информационного обмена.
В системе мобильной связи передача данных обычно отличается тем, что передачу пакетов данных чередуют с продолжительными периодами отсутствия передачи. Пакеты данных именуют “пакетами” или “пачками” данных. В обычной системе мобильной связи базовая станция и подвижная станция осуществляют непрерывную передачу данных по каналу управления в течение заранее заданного промежутка времени даже в случае отсутствия данных информационного обмена, предназначенных для передачи. То есть, базовая станция и подвижная станция непрерывно осуществляют передачу данных по каналу управления в течение даже того промежутка времени, когда отсутствуют какие-либо данные информационного обмена, предназначенные для передачи, несмотря на то, что это оказывает вредное воздействие на ограниченные ресурсы радиосвязи, пропускную способность базовой станции, потребляемую мощность подвижной станции и уровень помех. Эту непрерывную передачу осуществляют для минимизации времени задержки, обусловленной необходимостью повторного установления синхронизации при появлении новых данных информационного обмена, предназначенных для передачи. В случае отсутствия каких-либо передаваемых данных в течение заранее заданного промежутка времени базовая станция и подвижная станция осуществляют освобождение канала передачи данных и канала управления. Находясь в этом состоянии, в случае появления новых данных, предназначенных для передачи, базовая станция и подвижная станция устанавливают новый канал передачи данных и канал управления.
Международным стандартом IMT-2000 системы мобильной связи для обеспечения пакетной передачи данных в дополнение к передаче речевых сигналов определено множество состояний в зависимости от распределения каналов и существования/отсутствия информации о состоянии. Например, в разделе S2.03.99.04 документа 3GPP RAN TS S2 (общего протокола пакетной передачи) подробно описан шаблон переходов из одного состояния в другое для состояния наличия соединения с ячейкой сотовой связи, подсостояния наличия активности в несущем радиоканале (или режима АНРК (RBA)) и подсостояния ожидания в несущем радиоканале (или режима ОНКР (RBS))
На фиг.1А показаны переходы системы мобильной связи из одного состояния в другое при ее нахождении в состоянии наличия соединения с ячейкой сотовой связи. Со ссылкой на фиг.1А, состояние наличия соединения с ячейкой сотовой связи содержит в себе состояние канала поискового вызова (КПВ) (РСН), состояние канала произвольного доступа (КПД) (RACH) / совместно используемого канала связи в нисходящем направлении (СИНК) (DSCH), состояние КПД/канала доступа прямой линии связи (КДПС) (FACH), и состояние выделенного канала (ВК) (DCH) ВК/ВК, ВК/ВК+СИНК, ВК/СИНК+СИНК Упр (Канал управления).
На фиг.1Б показаны подсостояние наличия активности в однонаправленном канале радиосвязи (то есть, режим АНКР) и подсостояние ожидания в несущем радиоканале (то есть, режим ОНКР) при нахождении в состоянии ВК/ВК, ВК/ВК+СИНК, ВК/СИНК+СИНК Упр.
Во многих случаях передачу данных осуществляют с перерывами, например, для доступа в сеть Интернет и загрузки файлов. Поэтому, между сеансами передачи пакетных данных существует период времени отсутствия передачи. В обычном способе передачи данных осуществляют освобождение канала передачи данных на этот период времени или же постоянно сохраняют его в течение этого периода времени. В случае освобождения выделенного канала передачи данных необходимо длительное время для обеспечения повторного подключения канала, что создает сложности в обеспечении соответствующего обслуживания в реальном масштабе времени. С другой стороны, сохранение выделенного канала передачи данных приводит к непроизводительному расходованию ресурсов канала.
Нисходящий канал связи (или канал прямой связи), предназначенный для передачи сигналов из базовой станции в подвижную станцию, содержит в себе указанные ниже физические каналы. Описание физических каналов, которые не подпадают под объем патентных притязаний изобретения, приведено не будет с целью упрощения. Физические каналы, относящиеся к изобретению, включают в себя выделенный физический канал управления (именуемый ниже ВФКУ (DPCCH)), который содержит в себе контрольные пилот-символы, служащие для установления синхронизации и определения канала, выделенный физический канал передачи данных (именуемый ниже ВФКПД (DPDCH)), служащий для обмена информационными данными с конкретной подвижной станцией, и совместно используемый нисходящий канал связи (СИНК), служащий для передачи данных информационного обмена во множество подвижных станций. ВФКПД нисходящего канала связи содержит в себе данные информационного обмена, а ВФКУ нисходящего канала связи содержит в себе в каждом такте указатель совокупности транспортных форматов (именуемый ниже УСТФ (TFCI)), информацию об управлении мощностью передачи (именуемую ниже УМП (ТРС)) и пилот-символы, имеющие временное мультиплексирование в пределах одного такта. Восходящий канал связи (или канал обратной связи), по которому осуществляют передачу сигналов из подвижной станции в базовую станцию, также содержит в себе выделенный канал управления восходящим каналом связи и выделенный канал передачи данных.
Описание вариантов осуществления настоящего изобретения будет приведено со ссылкой на тот вариант, в котором продолжительность кадра равна 10 мс (миллисекундам), а каждый кадр содержит в себе 16 тактов, то есть, каждый такт имеет длительность 0,625 мс. Альтернативно, также будет приведено описание вариантов осуществления изобретения со ссылкой на другой вариант, в котором продолжительность кадра равна 10 мс, а каждый кадр содержит в себе 15 тактов, то есть, каждый такт имеет длительность 0,667 мс. Длительность такта может быть как равной длительности группы управления мощностью (ГУМ), так и отличной от длительности группы управления мощностью. Здесь полагают, что группа управления мощностью (0,625 мс или 0,667 мс) имеет такую же длительность по времени, как и такт (0,625 мс или 0,667 мс). Такт содержит в себе пилот-символ, данные информационного обмена, указатель совокупности транспортных форматов и бит команды управления мощностью. Указанные выше значения приведены только лишь в качестве примера.
На фиг.2А изображена структура такта, содержащая в себе ВФКПД и ВФКУ нисходящего канала связи. На Фиг 2А показано, что несмотря на то, что ВФКПД разделен на первые данные информационного обмена (Данные 1) и вторые данные информационного обмена (Данные 2), возможен случай, в котором в соответствии с типами данных информационного обмена первые данные информационного обмена не существуют, а существуют лишь только вторые данные информационного обмена. На фиг.2А ВФКУ состоит из, соответственно, УСТФ, УМП, и контрольного сигнала. В приведенной таблице 1 показаны символы, образующие собой поля ВФКПД/ВФКУ нисходящего канала связи, при этом количество битов УСТФ, УМП и пилот-битов в каждом такте может изменяться в соответствии со скоростью передачи данных и коэффициентом расширения по полосе частот (КРПЧ) (SF).
В отличие от ВФКПД и ВФКУ нисходящего канала связи, разделение ВФКПД и ВФКУ восходящего канала связи, служащего для передачи сигналов из подвижной станции в базовую станцию, осуществляют посредством независимых кодов разделения каналов.
На фиг.2Б изображена структура такта, содержащего в себе ВФКПД и ВФКУ восходящего канала связи, где номером позиции 211 обозначена структура такта ВФКПД, а номером позиции 213 обозначена структура такта ВФКУ. На фиг.2Б количество битов УСТФ, УОС, УМП и пилот-битов, относящихся к ВФКУ, может изменяться в зависимости от предоставляемого типа обслуживания (в том числе, от типа данных информационного обмена и от разнесения передающих антенн) либо от условий переключения связи. В приведенных таблицах 2 и 3 показаны символы, образующие собой поля, соответственно, ВФКПД и ВФКУ восходящего канала связи.




В таблицах с 1 по 3 показан пример, в котором существует только один ВФКПД, представляющий собой канал информационного обмена. Однако в соответствии с типами обслуживания могут существовать второй, третий и четвертый ВФКПД. Кроме того, как нисходящий канал связи, так и восходящий канал связи могут содержать в себе несколько ВФКПД. Несмотря на то, что описание передатчика базовой станции и передатчика подвижной станции будет приведено со ссылкой на тот случай, в котором существуют три ВФКПД, ограничения на количество ВФКПД отсутствуют.
На фиг.3А изображена конструкция обычного передатчика базовой станции. Со ссылкой на фиг.3А, посредством умножителей 111, 121, 131 и 132 осуществляют умножение сигналов с выхода формирователей 101, 102, 103 и 104 данных ВФКПД, ВФКПД1 (или СИНК), ВФКПД2 и ВФКПД3, для которых было осуществлено кодирование канала и перемежение, на коэффициенты усиления, соответственно, G1, G2, G3 и G4. Коэффициенты G1, G2, G3 и G4 усиления могут принимать различные значения в зависимости от ситуации, например, от выбранного типа обслуживания и передачи обслуживания. В мультиплексоре (МП) 112 осуществляют временное мультиплексирование сигнала ВФКУ и сигнала ВФКПД1 в тактовую структуру, изображенную на фиг.2А. Первый последовательно-параллельный (ПОСЛ/ПАР) (S/P) преобразователь 113 выполняет распределение выходного сигнала мультиплексора 112 в синфазный (I) канал и в квадратурный (Q) канал. Второй и третий последовательно-параллельные преобразователи 133 и 134 осуществляют последовательно-параллельное преобразование сигналов ВФКПД2 и ВФКПД3 и их распределение, соответственно, в синфазный (I) канал и в квадратурный (Q) канал.
После последовательно-параллельного преобразования осуществляют умножение сигналов синфазного и квадратурного каналов на коды Ккан1, Ккан2 и Ккан3 (Сch1, Cch2, Cch3) формирования каналов в умножителях 114, 122, 135, 136, 137 и 138 для обеспечения расширения по полосе частот и разделения каналов. В качестве кодов формирования каналов используют ортогональные коды. Сигналы синфазного и квадратурного каналов, умноженные на коды формирования канала в умножителях 114, 122, 135, 136, 137 и 138, суммируют посредством первого и второго сумматоров, соответственно, 115 и 123. То есть, суммирование сигналов (I) в синфазном канале выполняют посредством первого сумматора 115, а суммирование сигналов (Q) в квадратурном канале выполняют посредством второго сумматора 123. Посредством фазовращателя 124 осуществляют сдвиг фазы выходного сигнала второго сумматора 123 на 90°. Посредством сумматора 116 выполняют суммирование выходного сигнала первого сумматора 115 с выходным сигналом фазовращателя 124, осуществляя генерацию комплексного сигнала I+jQ. Посредством умножителя 117 осуществляют скремблирование комплексного сигнала с использованием псевдошумовой (ПШ) (PN) последовательности Кшифр (Cscramb), которую задают однозначным образом для каждой базовой станции, а посредством устройства 118 разделения сигналов скремблированный сигнал разделяют на вещественную часть и мнимую часть и распределяют их в синфазный (I) канал и в квадратурный (Q) канал. Посредством фильтров 119 и 125 нижних частот выполняют фильтрацию сигналов, соответственно, синфазного и квадратурного канала, полученных с выхода устройства 118 разделения сигналов, осуществляя генерацию сигналов с ограниченной шириной полосы частот. В умножителях 120 и 126 выполняют умножение сигналов, полученных с выхода фильтров, соответственно, 119 и 125, на несущие cos{2 fct) и sin{2 fct} для обеспечения преобразования сигналов с повышением частоты и ее сдвига в радиочастотный (РЧ) диапазон. Посредством сумматора 127 осуществляют суммирование сдвинутых по частоте сигналов синфазного (I) и квадратурного (Q) каналов.
На фиг.3Б изображена конструкция обычного передатчика подвижной станции. Со ссылкой на фиг.3Б, посредством умножителей 211, 221, 223 и 225 осуществляют умножение с выхода формирователей 201, 202, 203 и 204 данных ВФКУ, ВФКУ1, ВФКУ2 и ВФКУ3, для которых было осуществлено кодирование канала и перемежение, на соответствующие им коды формирования канала, соответственно, Ккан1, Ккан2, Ккан3 и Ккан4 для обеспечения расширения по полосе частот и разделения каналов. В качестве кодов формирования каналов используют ортогональные коды. В умножителях 212, 222, 224 и 226 выполняют умножение сигналов, полученных, соответственно, на выходе умножителей 211, 221, 223 и 225, на соответствующие им коэффициенты усиления G1, G2, G3 и G4. Коэффициенты усиления G1, G2, G3 и G4 могут принимать различные значения.
Посредством первого сумматора 213 осуществляют суммирование выходных сигналов умножителей 212 и 222 и их вывод в качестве сигнала (I) синфазного канала, а посредством второго сумматора 227 осуществляют суммирование выходных сигналов умножителей 224 и 226 и их вывод в качестве сигнала (Q) квадратурного канала. В фазовращателе 228 выполняют сдвиг фазы сигнала квадратурного (Q) канала, полученного на выходе второго сумматора 227, на 90°. В сумматоре 214 выполняют суммирование выходного сигнала первого сумматора 213 с выходным сигналом фазовращателя 228, осуществляя генерацию комплексного сигнала I+jQ. Посредством умножителя 215 осуществляют скремблирование комплексного сигнала с использованием псевдошумовой (ПШ) последовательности Кшифр (Cscramb), которую задают однозначным образом для каждой подвижной станции, а посредством устройства 229 разделения сигналов скремблированный сигнал разделяют на вещественную часть и мнимую часть и распределяют их в синфазный (I) канал и в квадратурный (Q) канал. Посредством фильтров 216 и 230 нижних частот выполняют фильтрацию сигналов, соответственно, синфазного и квадратурного канала, полученных с выхода устройства 229 разделения сигналов, осуществляя генерацию сигналов с ограниченной шириной полосы частот. В умножителях 217 и 231 выполняют умножение сигналов, полученных на выходе фильтров, соответственно, 216 и 230, на несущие cos{2 fct) и sin{2 fct) для обеспечения преобразования сигналов с повышением частоты и ее сдвига в радиочастотный (РЧ) диапазон. Посредством сумматора 218 осуществляют суммирование сигналов синфазного (I) и квадратурного (Q) каналов, для которых выполнено преобразование с повышением частоты.
На фиг.4А показан обычный способ передачи ВФКУ нисходящего канала связи и ВФКУ восходящего канала связи в режиме ОНКР в том случае, когда прекращена передача по ВФКПД восходящего канала связи. На фиг.4Б показан обычный способ передачи ВФКУ нисходящего канала связи и ВФКУ восходящего канала связи в режиме ОНКР в том случае, когда прекращена передача по ВФКПД нисходящего канала связи.
Как показано на фиг.4А и 4Б, подвижная станция осуществляет непрерывную передачу сигнала по ВФКУ восходящего канала связи в режиме ОНКР во избежание процесса повторного установления синхронизации в базовой станции. В том случае, когда в режиме ОНКР данные информационного обмена, предназначенные для передачи, отсутствуют в течение длительного времени, базовая станция и подвижная станция осуществляют переход в состояние разъединения связи с поддержкой УРР (Управлением Ресурсами Радиосвязи (RRC)). В этом состоянии передачу ВФКПД по восходящему каналу связи прекращают, но подвижная станция продолжает передачу пилот-символов и битов УМП (управления мощностью передачи) (ТРС) по ВФКУ до тех пор, пока не будет завершен переход, что приводит к возникновению излишних помех в восходящем канале связи. Наличие помех в восходящем канале связи приводит к снижению пропускной способности восходящего канала связи.
Несмотря на то, что осуществление непрерывной передачи ВФКУ по восходящему каналу связи в обычном способе имеет преимущество, заключающееся в том, что можно избежать процесса повторного установления синхронизации в базовой станции, это приводит к возрастанию уровня помех в восходящем канале связи, что вызывает снижение пропускной способности восходящего канала связи. Кроме того, что касается нисходящего канала связи, то осуществление непрерывной передачи битов управления мощностью передачи (УМП) по восходящему каналу связи приводит к возрастанию уровня помех в нисходящем канале связи и к снижению пропускной способности нисходящего канала связи. Поэтому необходимо минимизировать время, необходимое для процесса повторного установления синхронизации в базовой станции, минимизировать помехи, обусловленные передачей сигнала ВФКУ по восходящему каналу связи, а также минимизировать помехи, обусловленные передачей битов управления мощностью передачи (УМП) в восходящем канале связи, осуществляемой по нисходящему каналу связи.
СУЩНОСТЬ ИЗОБРЕТЕНИЯ
Следовательно, задачей настоящего изобретения является создание устройства и способа передачи по ВФКУ сигнала пропускания и отсечки при отсутствии в системе мобильной связи в течение заранее заданного промежутка времени каких-либо данных информационного обмена (данных пользователя или служебных сообщений), предназначенных для передачи по каналу передачи данных.
Другой задачей настоящего изобретения является создание устройства и способа потактового стробирования данных, передаваемых по ВФКУ, в виде нерегулярной последовательности в случае отсутствия в системе мобильной связи в течение заранее заданного промежутка времени каких-либо данных информационного обмена, предназначенных для передачи по каналу передачи данных.
Еще одной задачей настоящего изобретения является создание устройства и способа осуществления процедуры передачи со стробированием в системе мобильной связи в случае отсутствия в течение заранее заданного промежутка времени каких-либо данных информационного обмена, предназначенных для передачи по каналу передачи данных, и выполнения стробирования по случайному закону заданного такта в единичном элементе, представляющем собой группу стробирующих тактов, при выполнении процедуры передачи со стробированием.
Еще одной задачей настоящего изобретения является создание устройства и способа, посредством которых в случае отсутствия в системе мобильной связи в течение заранее заданного промежутка времени каких-либо данных информационного обмена, предназначенных для передачи по каналу передачи данных, базовая станция выполняет процедуру передачи со стробированием и осуществляет стробирование по случайному закону заданного такта в единичном элементе, представляющем собой группу стробирующих тактов, при выполнении процедуры передачи со стробированием.
Еще одной задачей настоящего изобретения является создание устройства и способа для системы мобильной связи, посредством которых подвижная станция после получения из базовой станции сообщения для выполнения процедуры передачи со стробированием выполняет процедуру передачи со стробированием и осуществляет стробирование по случайному закону заданного такта в единичном элементе, представляющем собой группу стробирующих тактов, при выполнении процедуры передачи со стробированием.
Еще одной задачей настоящего изобретения является создание устройства и способа осуществления процедуры передачи со стробированием в системе мобильной связи в случае отсутствия в течение заранее заданного промежутка времени каких-либо данных информационного обмена, предназначенных для передачи по каналу передачи данных, и выполнения стробирования заданного такта в единичном элементе, представляющем собой группу стробирующих тактов, который определяют в виде соответствующего номера кадра при выполнении процедуры передачи со стробированием.
Еще одной задачей настоящего изобретения является создание устройства и способа осуществления в системе мобильной связи потактового стробирования данных в ВФКУ посредством передачи пилот-символа такта, расположенного перед тем тактом, пропускание которого разрешено при стробировании, и передачи УСТФ и УМП такта, пропускание которого разрешено при стробировании.
И еще одной задачей настоящего изобретения является создание устройства и способа управления мощностью передачи управляющих данных в системе мобильной связи с использованием информации об управлении мощностью при выполнении стробирования данных, передаваемых по ВФКУ.
Для достижения вышеуказанных и иных целей предложен способ передачи управляющих данных по нисходящему каналу связи, осуществляемый в базовой станции системы мобильной связи. Базовая станция определяет наличие данных, предназначенных для передачи в подвижную станцию по нисходящему каналу передачи данных. В случае отсутствия каких-либо данных, предназначенных для передачи по нисходящему каналу передачи данных (ВК или СИНК), в течение заранее заданного промежутка времени базовая станция приводит в действие устройство выбора случайного позиции, которое определяет позицию стробирующего такта, осуществляя стробирование управляющих данных в такте, имеющем определенное таким способом позицию, и отсекая управляющие данные, находящиеся в других местах. Все данные канала систематизированы в виде потока кадров, каждый кадр содержит в себе множество тактов, такты в каждом кадре разделены на множество групп стробирующих тактов, а определенное вышеуказанным способом позицию такта представляет собой позицию такта, выбранное случайным образом в каждой из групп стробирующих тактов.
В предпочтительном варианте осуществления устройство выбора случайного позиции определяет позицию стробирующего такта посредством вычисления значения х, получаемого путем умножения системного номера кадра (СНК) (SFN) принятого сигнала на специфическое целое число; осуществляет выбор n битов в месте, расположенном на расстоянии “х” элементов кода от точки начала соответствующего кода Голда перед множеством импульсов стробирования, используемых для генерации сигнала в нисходящем канале связи; и определяет позицию стробирующего такта из соответствующей группы стробирующих тактов путем выполнения для выбранных битов операции пересчета по модулю, равному количеству тактов, образующих собой группу стробирующих тактов.
КРАТКОЕ ОПИСАНИЕ ЧЕРТЕЖЕЙ
Вышеуказанные и иные задачи, признаки и преимущества настоящего изобретения станут более очевидными из приведенного подробного описания при его рассмотрении совместно с сопроводительными чертежами на которых:
на фиг.1А изображен обычный шаблон переходов из одного состояния в другое для режима пакетной передачи данных;
на фиг.1Б изображен обычный шаблон переходов между режимом АНКР и режимом ОНКР для состояния ВК/ВК (DCH/DCH);
фиг.2А представляет собой диаграмму, на которой показана структура тактов ВФКПД и ВФКУ нисходящего канала связи в системе связи МДКР;
фиг.2Б представляет собой диаграмму, на которой показана структура тактов ВФКПД и ВФКУ восходящего канала связи в системе связи МДКР;
фиг.3А представляет собой схему, на которой показана конструкция обычного передатчика базовой станции в системе связи МДКР;
фиг.3Б представляет собой схему, на которой показана конструкция обычного передатчика подвижной станции в системе связи МДКР;
фиг.4А представляет собой диаграмму, на которой показан обычный способ передачи по ВФКУ нисходящего канала связи и по ВФКУ восходящего канала связи в том случае, когда в системе связи МДКР, находящейся в режиме ОНКР, прекращена передача по ВФКПД восходящего канала связи;
фиг.4Б представляет собой диаграмму, на которой показан обычный способ передачи по ВФКУ нисходящего канала связи и по ВФКУ восходящего канала связи в том случае, когда в системе связи МДКР, находящейся в режиме ОНКР, прекращена передача по ВФКПД нисходящего канала связи;
фиг.5А представляет собой схему, на которой показана конструкция передатчика базовой станции, выполняющего стробирование данных, передаваемых по ВФКУ, согласно варианту осуществления настоящего изобретения;
фиг.5Б представляет собой схему, на которой показана конструкция передатчика подвижной станции, выполняющего стробирование данных, передаваемых по ВФКПД, согласно варианту осуществления настоящего изобретения;
фиг.5В представляет собой схему, на которой показана конструкция передатчика базовой станции, снабженного устройством выбора позиции стробирования, выполняющим стробирование данных, передаваемых по ВФКПД, согласно варианту осуществления настоящего изобретения;
фиг.5Г представляет собой схему, на которой показана конструкция передатчика подвижной станции, снабженного устройством выбора позиции стробирования, выполняющим стробирование данных, передаваемых по ВФКПД, согласно варианту осуществления настоящего изобретения;
фиг.6А представляет собой диаграмму, на которой показан способ передачи сигнала в соответствии с диаграммой обычной передачи или передачи со стробированием для ВФКУ восходящего канала связи в режиме ОНКР согласно варианту осуществления изобретения;
фиг.6Б представляет собой диаграмму, на которой показан другой способ передачи сигнала в соответствии с диаграммой обычной передачи или передачи со стробированием для ВФКУ восходящего канала связи в режиме ОНКР согласно варианту осуществления изобретения;
фиг.7А представляет собой диаграмму, на которой показан способ передачи сигнала согласно варианту осуществления настоящего изобретения в том случае, когда при стробировании ВФКУ восходящего канала связи в режиме ОНКР осуществлена генерация сообщения о ВФКПД восходящего канала связи;
фиг.7Б представляет собой диаграмму, на которой показан другой способ передачи сигнала согласно варианту осуществления настоящего изобретения в том случае, когда при стробировании ВФКУ восходящего канала связи в режиме ОНКР осуществлена генерация сообщения о ВФКПД восходящего канала связи;
фиг.8А представляет собой диаграмму, на которой показан способ передачи сигналов в нисходящем канале связи и в восходящем канале связи согласно варианту осуществления настоящего изобретения в том случае, когда прекращена передача по ВФКПД нисходящего канала связи;
фиг.8Б представляет собой диаграмму, на которой показан способ передачи сигналов в нисходящем канале связи и в восходящем канале связи согласно варианту осуществления настоящего изобретения в том случае, когда прекращена передача по ВФКПД восходящего канала связи;
фиг.8В представляет собой диаграмму, на которой показан другой способ передачи сигналов в нисходящем канале связи и в восходящем канале связи согласно варианту осуществления настоящего изобретения в том случае, когда прекращена передача по ВФКПД нисходящего канала связи;
фиг.8Г представляет собой диаграмму, на которой показан другой способ передачи сигналов в нисходящем канале связи и в восходящем канале связи согласно варианту осуществления настоящего изобретения в том случае, когда прекращена передача по ВФКПД восходящего канала связи;
фиг.9А представляет собой диаграмму, на которой показан способ передачи сигналов в нисходящем канале связи и в восходящем канале связи согласно варианту осуществления настоящего изобретения в том случае, когда прекращена передача по ВФКПД нисходящего канала связи (передача со стробированием для ВФКУ нисходящего канала связи);
фиг.9Б представляет собой диаграмму, на которой показан способ передачи сигналов в нисходящем канале связи и в восходящем канале связи согласно варианту осуществления настоящего изобретения в том случае, когда прекращена передача по ВФКПД восходящего канала связи (передача со стробированием для ВФКУ нисходящего канала связи);
фиг.10А представляет собой схему, на которой изображена конструкция передатчика базовой станции согласно другому варианту осуществления настоящего изобретения;
фиг.10Б представляет собой схему, на которой изображена конструкция передатчика подвижной станции согласно другому варианту осуществления настоящего изобретения;
фиг.11А представляет собой диаграмму, на которой показана передача со стробированием для ВФКУ нисходящего канала связи и ВФКУ восходящего канала связи согласно первому варианту осуществления настоящего изобретения;
фиг.11Б представляет собой диаграмму, на которой показана передача со стробированием для ВФКУ нисходящего канала связи и ВФКУ восходящего канала связи согласно второму варианту осуществления настоящего изобретения;
фиг.11В представляет собой диаграмму, на которой показана передача со стробированием для ВФКУ нисходящего канала связи и ВФКУ восходящего канала связи согласно третьему варианту осуществления настоящего изобретения;
фиг.11Г представляет собой диаграмму, на которой показана передача со стробированием для ВФКУ нисходящего канала связи и ВФКУ восходящего канала связи согласно четвертому варианту осуществления настоящего изобретения;
На фиг.12А и 12Б изображены шаблоны, на которых показана передача со стробированием для ВФКУ нисходящего канала связи и ВФКУ восходящего канала связи согласно пятому варианту осуществления настоящего изобретения;
фиг.12В представляет собой диаграмму, на которой показана передача со стробированием для ВФКУ нисходящего канала связи и ВФКУ восходящего канала связи согласно шестому варианту осуществления настоящего изобретения;
фиг.12Г представляет собой диаграмму, на которой показана передача со стробированием для ВФКУ нисходящего канала связи и ВФКУ восходящего канала связи согласно седьмому варианту осуществления настоящего изобретения;
фиг.12Д представляет собой диаграмму, на которой показана передача со стробированием для ВФКУ нисходящего канала связи и ВФКУ восходящего канала связи согласно восьмому варианту осуществления настоящего изобретения;
фиг.13А представляет собой диаграмму, на которой показан способ определения бита выбора позиции во время передачи со стробированием по ВФКУ нисходящего канала связи и ВФКУ восходящего канала связи согласно первому варианту осуществления настоящего изобретения;
фиг.13Б представляет собой диаграмму, на которой показан способ определения бита выбора позиции во время передачи со стробированием по ВФКУ нисходящего канала связи и ВФКУ восходящего канала связи согласно второму варианту осуществления настоящего изобретения;
фиг.13В представляет собой диаграмму, на которой показан способ определения бита выбора позиции во время передачи со стробированием по ВФКУ нисходящего канала связи и ВФКУ восходящего канала связи согласно третьему варианту осуществления настоящего изобретения;
фиг.13Г представляет собой диаграмму, на которой показан способ определения бита выбора позиции во время передачи со стробированием по ВФКУ нисходящего канала связи и ВФКУ восходящего канала связи согласно четвертому варианту осуществления настоящего изобретения;
фиг.14А представляет собой диаграмму, на которой показана передача со стробированием для ВФКУ нисходящего канала связи и ВФКУ восходящего канала связи согласно девятому варианту осуществления настоящего изобретения;
фиг.14Б представляет собой диаграмму, на которой показана передача со стробированием для ВФКУ нисходящего канала связи и ВФКУ восходящего канала связи согласно десятому варианту осуществления настоящего изобретения;
фиг.14В представляет собой диаграмму, на которой показана передача со стробированием для ВФКУ нисходящего канала связи и ВФКУ восходящего канала связи согласно одиннадцатому варианту осуществления настоящего изобретения;
фиг.14Г представляет собой диаграмму, на которой показана передача со стробированием для ВФКУ нисходящего канала связи и ВФКУ восходящего канала связи согласно двенадцатому варианту осуществления настоящего изобретения;
фиг.15А представляет собой схему, на которой показан способ извлечения частичной последовательности, необходимой для генерации шаблона передачи со стробированием, из скремблирующего кода восходящего канала связи согласно варианту осуществления настоящего изобретения;
фиг.15Б представляет собой схему, на которой показан способ извлечения n-разрядной последовательности, необходимой для генерации шаблона передачи со стробированием, из фиксированной последовательности согласно варианту осуществления настоящего изобретения;
фиг.16 представляет собой схему, на которой показана конструкция устройства выбора позиции стробирования, посредством которого осуществляют выбор позиции стробирования с использованием кода скремблирования восходящего канала связи из фиг.15А и фиксированной последовательности из фиг.15Б совместно с номером связывающего кадра (НСК) (CFN), согласно варианту осуществления настоящего изобретения;
фиг.17А представляет собой диаграмму, на которой показана временная зависимость процесса управления мощностью при использовании частоты стробирования, равной 1/3, как для нисходящего канала связи, так и для восходящего канала связи, согласно варианту осуществления настоящего изобретения;
фиг.17Б представляет собой диаграмму, на которой показана временная зависимость процесса управления мощностью при использовании частоты стробирования, равной 1/5, как для нисходящего канала связи, так и для восходящего канала связи, согласно варианту осуществления настоящего изобретения;
фиг.18А представляет собой диаграмму, на которой показана временная зависимость процесса управления мощностью при использовании частоты стробирования, равной 1/3, только для нисходящего канала связи согласно варианту осуществления настоящего изобретения; и
фиг.18Б представляет собой диаграмму, на которой показана временная зависимость процесса управления мощностью при использовании частоты стробирования, равной 1/5, только для нисходящего канала связи согласно варианту осуществления настоящего изобретения; и
ПОДРОБНОЕ ОПИСАНИЕ ПРЕДПОЧТИТЕЛЬНОГО ВАРИАНТА ОСУЩЕСТВЛЕНИЯ ИЗОБРЕТЕНИЯ
Приведенное описание предпочтительных вариантов осуществления настоящего изобретения выполнено со ссылкой на сопроводительные чертежи. В нижеследующем описании подробное изложение известных функций или конструкций не приведено, поскольку оно затруднило бы понимание предмета изобретения из-за наличия излишних подробностей.
Используемый здесь термин “обычная передача” относится к непрерывной передаче УСТФ, УМП и пилот-символов, содержащихся в ВФКУ нисходящего или восходящего канала связи. Помимо этого, термин “передача со стробированием” относится к передаче УСТФ, УМП и пилот-символов, содержащихся только в конкретной группе управления мощностью (или в такте) ВФКУ нисходящего или восходящего канала связи, в соответствии с заранее заданной последовательностью (шаблоном), или относится к передаче сигнала ВФКУ, пропускание которого разрешено при стробировании, только при наличии пилот-символа такта, расположенного перед тем тактом, пропускание которого разрешено при стробировании, а также к передаче УСТФ и УМП такта, пропускание которого разрешено при стробировании, в соответствии с заранее заданной последовательностью (шаблоном) пропускания сигнала при стробировании. Информация, передачу которой в ВФКУ нисходящего канала связи прекращают во время передачи со стробированием, может содержать в себе либо все УСТФ, УМП и пилот-символы из одной группы управления мощностью (или такта), либо некоторые из них. Кроме того, используемый здесь термин “выбор позиции (местоположения) стробирования” относится к операции выбора местоположения (позиций) такта для осуществления передачи данных по ВФКУ во время передачи со стробированием, а термин “местоположение (позиция) стробирования” относится к такту, выбранному для осуществления передачи управляющих данных. Помимо этого, используемый здесь термин “управляющие данные” относится к сигналу ВФКУ, а термин “данные информационного обмена” относится к служебным данным и/или данным пользователя, пакетную передачу которых осуществляют между базовой станцией и подвижной станцией. “Управляющие данные” содержат в себе УСТФ, УМП, УОС (указатель обратной связи (FBI)) и пилот-символ. Несмотря на то, что описание изобретения изложено со ссылкой на пример стробирования данных, передаваемых по ВФКУ, способ передачи со стробированием согласно настоящему изобретению может быть также применен и для стробирования управляющих данных в любом другом канале, по которому осуществляют периодическую передачу управляющих данных.
Операция передачи со стробированием, описание которой будет приведено ниже, может быть использована как в случае, когда единичный элемент передачи со стробированием равен единичному такту, так и в случае, когда единичный элемент передачи со стробированием не равен единичному такту. В том случае, когда единичный элемент передачи со стробированием не равен единичному такту, предпочтительным вариантом является тот, в котором стробирование УМП, УСТФ и пилот-символа осуществляют раздельно. То есть, в качестве единичного элемента передачи со стробированием задают n-й пилот-символ и (n+1)-е УСТФ и УМП.
Кроме того, поскольку эффективность функционирования в начале кадра имеет очень большое значение, то в предпочтительных вариантах осуществления настоящего изобретения данные УМП, обеспечивающие управление мощностью первого такта следующего кадра, размещают в последнем такте одного кадра. То есть, биты УМП для ВФКУ нисходящего канала связи и ВФКУ восходящего канала связи размещают в последнем такте n-го кадра, а управление мощностью первого такта (n+1)-го кадра осуществляют с использованием битов УМП, находящихся в последнем такте n-го кадра.
В примере варианта осуществления настоящего изобретения при выполнении системой мобильной связи передачи со стробированием базовая станция и подвижная станция определяют позиции стробирующих тактов либо согласно заранее заданной обычному шаблону передачи, либо согласно шаблону передачи с нерегулярной структурой, который определяют путем назначения в качестве позиций стробирования заданных тактов из группы стробирующих тактов с использованием системного номера кадра (СНК) и номера связывающего кадра (НСК). Кроме того, в системе мобильной связи ВФКПД и один кадр ВФКПД могут состоять из множества тактов. В различных вариантах осуществления настоящего изобретения, один кадр может содержать в себе 15 или 16 тактов, а описание изобретения будет приведено для обоих случаев. Приведенное ниже описание операции передачи со стробированием, выполняемой с использованием обычного шаблона передачи, изложено со ссылкой на вариант, в котором один кадр содержит в себе 16 тактов, а описание передачи со стробированием, выполняемой с использованием шаблона передачи, имеющего нерегулярную структуру, изложено со ссылкой на вариант, в котором один кадр содержит в себе 15 тактов.
Основное внимание в описании изобретения сосредоточено на процессе выполнения передачи со стробированием с частотами 1/3 и 1/5 по ВФКУ нисходящего канала связи и ВФКУ восходящего канала связи из фиг.2А и 2Б. Определение местоположений при стробировании также может быть осуществлено согласно шаблонам стробирования со случайным распределением, изображенным на фиг.15А, 15Б и 16.
Ниже приведено описание конструкции аппаратных средств согласно варианту осуществления настоящего изобретения.
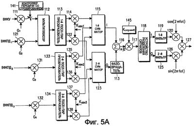
На фиг.5А изображена конструкция передатчика базовой станции согласно варианту осуществления настоящего изобретения. Передатчик базовой станции отличается от обычного передатчика из фиг.3А тем, что для ВФКУ нисходящего канала связи стробирование выходного сигнала умножителя 111 осуществляют посредством контроллера 141 передачи со стробированием. То есть, при отсутствии в течение заранее заданного промежутка времени формирования данных информационного обмена, предназначенных для передачи по ВФКПД нисходящего канала связи, или же при отсутствии в течение заранее заданного промежутка времени приема данных информационного обмена по ВФКПД восходящего канала связи контроллер 141 передачи со стробированием осуществляет передачу битов УСТФ и УМП следующего такта со стробированием по пилот-символу одного такта нисходящего канала связи ВФКУ в виде шаблона, согласованной с подвижной станцией. Кроме того, в режиме ОНКР при отсутствии данных информационного обмена, передаваемых по ВФКПД нисходящего канала связи и ВФКПД восходящего канала связи, контроллер 141 передачи со стробированием осуществляет передачу со стробированием одной группы управления мощностью (или одного полного такта), включающей в себя пилот-символы, биты УСТФ и УМП для ВФКУ нисходящего канала связи, находящихся в группе управления мощностью (или во временном такте), согласованной с подвижной станцией.
При одновременном стробировании сигналов ВФКУ нисходящего и восходящего канала связи шаблон стробирования в нисходящем канале связи идентичен шаблону стробирования в восходящем канале связи, но между ними может существовать сдвиг (смещение) для обеспечения эффективного управления мощностью. Сдвиг может быть задан в качестве системного параметра или же может быть осуществлена передача информации о нем посредством сообщения, в котором указан начальный момент передачи со стробированием. После отсутствия генерации данных информационного обмена, предназначенных для передачи по ВФКПД, в течение заранее заданного промежутка времени, из базовой станции в подвижную станцию осуществляют передачу сообщения с указанием начального момента стробирования для того, чтобы указать точку начала передачи со стробированием и частоту стробирования. Передача такого сообщения может также быть осуществлена из подвижной станции в базовую станцию. Кроме того, базовая станция может принимать решение о выдаче сообщения с указанием начального момента стробирования в ответ на запрос о стробировании, полученный из подвижной станции, и осуществлять передачу выданного сообщения в подвижную станцию.
Контроллер 141 передачи со стробированием может осуществлять стробирование как данных такта в ВФКУ, так и управляющих данных во множестве тактов. Один такт ВФКУ содержит в себе такие управляющие данные, как, например, пилот-символ, УСТФ и УМП (в подвижной станции он дополнительно содержит в себе УОС). При передаче со стробированием контроллер 141 передачи со стробированием может осуществлять стробирование всех управляющих данных, содержащихся в такте, расположенном в позиции стробирования. В альтернативном способе контроллер 141 передачи со стробированием может осуществлять стробирование пилот-символа длительности n-го такта, находящегося перед (n+1)-м тактом, расположенным в месте стробирования, и битов УМП и УСТФ (n+1)-го такта. Описание этого варианта осуществления настоящего изобретения приведено ниже со ссылкой на последний способ.
Кроме того, контроллер 141 передачи со стробированием размещает биты УМП в последнем такте одного кадра, причем эти биты УМП служат для управления мощностью первого такта следующего кадра, что обеспечивает надлежащее функционирование начальной части следующего кадра. То есть, биты УМП для ВФКУ нисходящего канала связи и ВФКУ восходящего канала связи находятся в последнем такте n-го кадра, а управление мощностью первого такта (n+1)-го кадра осуществляют с использованием битов УМП, находящихся в последнем такте n-го кадра.
В том случае, когда подвижная станция осуществляет передачу со стробированием, а базовая станция не осуществляет передачу со стробированием, передатчик базовой станции определяет бит УМП (управления мощностью передачи) путем измерения сигнала в одном такте ВФКУ, прерывистую передачу которого производят из подвижной станции, а затем выполняет передачу этого определенного бита УМП в каждом такте до тех пор, пока базовая станция не определяет новый бит УМП путем измерения сигнала в другом такте ВФКУ восходящего канала связи.
На фиг.5Б изображена структура передатчика подвижной станции согласно варианту осуществления настоящего изобретения. Передатчик подвижной станции отличается от обычного передатчика из фиг.3Б тем, что он снабжен контроллером 241 передачи со стробированием, посредством которого осуществляют стробирование передачи по ВФКУ восходящего канала связи. То есть, в случае отсутствия генерации данных информационного обмена, предназначенных для передачи по восходящим и нисходящим каналам передачи данных (ВФКПД или СИНК), в течение заранее заданного промежутка времени или в случае отсутствия генерации данных информационного обмена, предназначенных для передачи по ВФКПД восходящего канала связи, в течение заранее заданного промежутка времени, контроллер 241 передачи со стробированием осуществляет передачу со стробированием одной группы управления мощностью (или одного полного такта), в том числе, пилот-символов, битов УСТФ, УОС и УМП для ВФКУ восходящего канала связи, находящихся в группе управления мощностью (или в такте), согласованной с подвижной станцией.
Ниже приведено описание структуры сигнала, передаваемого базовой станцией и подвижной станцией, согласно варианту осуществления настоящего изобретения.
На фиг.6А показан способ передачи сигнала ВФКУ восходящего канала связи в соответствии с шаблоном обычной передачи или передачи со стробированием в случае отсутствия в течение заранее заданного промежутка времени, данных, предназначенных для передачи по ВФКПД, согласно варианту осуществления настоящего изобретения. На фиг.6А номерами позиций 301, 302, 303 и 304 обозначены различные частоты стробирования в соответствии с коэффициентом заполнения (ниже именуемым КЗ (DC)). Используемые здесь термины “коэффициент заполнения” (или “КЗ”) и “частота стробирования” являются эквивалентными. Номером 301 обозначен обычный способ передачи ВФКУ восходящего канала связи без стробирования (КЗ=1), а номером 302 обозначен способ регулярной передачи каждой второй группы управления мощностью (или такта) при КЗ=1/2 (осуществляют передачу всего лишь 1/2 всех тактов, находящихся в одном кадре). Номером 303 обозначен способ регулярной передачи каждого такта (3-го, 7-го, 11-го и 15-го тактов) при КЗ=1/4 (осуществляют передачу всего лишь 1/4 всех тактов, находящихся в одном кадре). Номером 304 обозначен способ регулярной передачи каждого восьмого такта (7-го и 15-го тактов) при КЗ=1/8 (осуществляют передачу всего лишь 1/8 всех тактов, находящихся в одном кадре).
В варианте осуществления, изображенном на фиг.6А при КЗ=1/2 и 1/4, несмотря на то, что контроллер 241 передачи со стробированием в подвижной станции выполняет регулярное стробирование тактов ВФКУ восходящего канала связи, также существует возможность осуществления стробирования произвольных тактов согласно соответствующему КЗ. То есть, при КЗ=1/2 вместо регулярной передачи каждого второго такта можно также осуществить непрерывное стробирование произвольных соседних тактов в соответствии с шаблоном стробирования, имеющим нерегулярную структуру. Кроме того, при КЗ=1/2 также существует возможность непрерывной передачи половины всех тактов, находящихся во второй половине кадра (такты с 8-го по 15-й). При КЗ=1/4 также существует возможность непрерывной передачи 1/4 всех тактов, начиная с точки, соответствующей 3/4 кадра (то есть, тактов с 12-го по 15-й). При КЗ=1/8 также существует возможность непрерывной передачи 1/8 всех тактов, начиная с точки, соответствующей 7/8 кадра (то есть, тактов с 14-го по 15-й).
Частота стробирования может быть изменена в течение передачи со стробированием. Для этого подвижная станция и базовая станция должны иметь информацию о том, когда и какую именно частоту стробирования они должны использовать, поэтому необходимо осуществлять передачу соответствующего сообщения. Частоту стробирования задают в начале передачи со стробированием, и в предпочтительном варианте ее не изменяют в течение передачи со стробированием.
На фиг.6Б показан способ передачи сигнала согласно шаблону обычной передачи или передачи со стробированием для ВФКУ восходящего канала связи согласно другому варианту осуществления настоящего изобретения. На фиг.6Б номерами 305, 306 и 307 обозначены различные частоты стробирования в соответствии с коэффициентом заполнения КЗ. Номером 305 обозначен способ передачи двух последовательных тактов, расположенных через регулярные интервалы (такты 2-й – 3-й, 6-й – 7-й, 10-й – 11-й и 14-й – 15-й) при КЗ=1/2 (осуществляют передачу всего лишь 1/2 всех тактов, находящихся в одном кадре). Номером 306 обозначен способ передачи двух последовательных тактов, расположенных через регулярные интервалы (такты 6-й – 7-й и 14-й – 15-й) при КЗ=1/4 (осуществляют передачу всего лишь 1/4 всех тактов, находящихся в одном кадре). Номером 307 обозначен способ передачи двух последовательных тактов, расположенных через регулярные интервалы (такты 14-й – 15-й) при КЗ=1/8 (осуществляют передачу всего лишь 1/8 всех тактов, находящихся в одном кадре).
В варианте осуществления из фиг.6Б при КЗ=1/2 и 1/4, несмотря на то, что контроллер 241 передачи со стробированием в подвижной станции выполняет регулярное стробирование тактов ВФКУ восходящего канала связи, также существует возможность осуществления стробирования произвольных тактов из всех групп управления мощностью согласно соответствующему КЗ. То есть, при КЗ=1/2 вместо регулярной передачи каждой второй пары последовательных тактов можно также осуществить непрерывное стробирование 4-х последовательных тактов (например, тактов со 2-го по 5-й) в соответствии с шаблоном стробирования, имеющим нерегулярную структуру.
Ниже приведено описание диаграмм передачи сигналов для базовой станции и подвижной станции согласно другому варианту осуществления, в котором позицию стробирования такта выбирают таким образом, что передача сигнала должна быть осуществлена в одном из трех последовательных тактов или пяти последовательных тактов. Описание варианта осуществления приведено для частоты стробирования 1/3 или 1/5 для того варианта, когда один кадр содержит в себе 15 тактов (то есть, групп управления мощностью).
На фиг.5В показана структура передатчика базовой станции, снабженного устройством выбора позиции стробирования согласно варианту осуществления настоящего изобретения. Отличие этого передатчика базовой станции от передатчика из фиг.5А состоит в том, что выбор позиций тактов передачи для ВФКУ нисходящего канала связи осуществляют посредством устройства 142 выбора позиции стробирования.
На фиг.5Г показана структура передатчика подвижной станции, снабженного устройством выбора позиции стробирования согласно варианту осуществления настоящего изобретения. Отличие этого передатчика подвижной станции от передатчика из фиг.5Б состоит в том, что выбор позиций тактов передачи для ВФКУ восходящего канала связи осуществляют посредством устройства 242 выбора позиции стробирования.
Нерегулярное упорядочение позиций стробирования тактов выполняют для предотвращения нежелательных эффектов, связанных с влиянием электромагнитных волн, которые обусловлены мощностью регулярно передаваемых сигналов. В этом варианте осуществления для нерегулярного стробирования передаваемых сигналов используют скремблирующий код.
Один из способов выбора позиций стробирования стробирующего такта состоит в использовании системного номера кадра (СНК) сигнала в нисходящем канале связи непосредственно перед передачей сигнала по восходящему каналу связи и скремблирующего кода, генерацию которого осуществляют для дескремблирования принятого сигнала нисходящего канала связи в подвижной станции. Подвижная станция осуществляет считывание битов кода в конкретной позиции скремблирующего кода, используя СНК сигнала нисходящего канала связи, и определяет стробирующие такты с использованием считанного значения. Поскольку передачу значения СНК от 0 до 71 производят непрерывно по широковещательному каналу из базовой станции, подвижная станция может осуществлять считывание СНК посредством приема данных по широковещательному каналу. В качестве кода скремблирования может быть использован вторичный скремблирующий код или первичный скремблирующий код. В том случае, если базовой станции известна позиция стробирования, выполняемого подвижной станцией, она может осуществлять точный прием данных, передача которых разрешена подвижной станцией при стробировании. Следовательно, предпочтительным вариантом является тот, в котором позиция стробирования должна быть согласована между передающей стороной и принимающей стороной. Для обеспечения такого согласования в этом варианте осуществления используют случайный код скремблирования, одинаковым образом используемый базовой станцией и подвижной станцией, и СНК для снижения повторяемости, определяя таким способом позицию стробирующего такта.
Контроллер 242 позиции стробирования (фиг.5Г) подвижной станции определяет позицию такта, пропускание которого разрешено при стробировании, посредством использования кода Голда, который представляет собой вещественную часть кода скремблирования, генерация которого осуществлена внутри станции для дескремблирования принятого сигнала, и СНК принятого сигнала. При КЗ=1/3 контроллер 242 позиции стробирования осуществляет выбор одного такта в произвольной позиции совокупности из 3-х тактов (группы стробирующих тактов), а при КЗ=1/5 контроллер 242 позицией стробирования осуществляет выбор одного такта в произвольной позиции совокупности из 5-ти тактов (группы стробирующих тактов). Термином “длительность стробирования” или “группа стробирующих тактов” здесь именуют длительность 3-х тактов для КЗ=1/3 и 5-ти тактов для КЗ=1/5.
Первый способ определения по случайному закону такта в единичном элементе, представляющем собой группу стробирующих тактов, пропускание которого разрешено при стробировании, согласно варианту осуществления настоящего изобретения выполняют в указанном ниже порядке. Этому способу соответствуют чертежи фиг.13А, 13Б, 14А и 14Б.
1. Системный номер кадра (СНК), принимающий значения от 0 до 71, сигнала, принятого непосредственно перед осуществлением передачи, умножают на целое число в интервале от 1 до 35. Допустим, что результат вычисления равен ‘х’ (0 х 2485).
2а. Для КЗ=1/3 осуществляют выбор одного бита из вещественной части скремблирующего кода, расположенного в той позиции, которая отстоит на “х” элементов кода от границы группы стробирования, что показано на фиг.13А. Выбранный один бит может быть использован для определения позиции стробирующего такта в следующей группе стробирующих тактов. То есть, позиция стробирующего такта в текущей группе стробирующих тактов может быть определена по одному биту, выбранному в предыдущей группе стробирующих тактов.
2б. Для КЗ=1/5 осуществляют выбор двух битов из вещественной части кода скремблирования, расположенных в той позиции, которая отстоит на “х” элементов кода от границы группы стробирования, что показано на фиг.13Б.
3а. Для КЗ=1/3 позицию стробирующего такта, предназначенного для передачи, определяют с использованием одного выбранного бита. Поскольку используют только один бит, то из трех возможных позиций тактов для передачи случайный выбор позиций осуществляют из двух тактов, определенных посредством согласования.
3б. Для КЗ=1/5 позицию передаваемого такта определяют с использованием двух выбранных битов. Поскольку используют два бита, то из пяти возможных позиций тактов для передачи случайный выбор позиций осуществляют из четырех позиций тактов, определенных посредством согласования.
4. При изменении СНК вышеуказанную процедуру выполняют снова, начиная с этапа 1, для нового значения. В этом случае сохраняют в силе целочисленное значение (в интервале от 1 до 35), которое было использовано при выполнении этапа 1.
Что касается позиций тактов стробирования передачи по нисходящему каналу связи, то шаблон стробирования нисходящего канала связи (или шаблон передачи со стробированием по нисходящему каналу связи) эквивалентен шаблону стробирования восходящего канала связи. Однако между тактами, пропускание которых разрешено при стробировании, в восходящем канале связи и в нисходящем канале связи может существовать специальный сдвиг для обеспечения эффективного управления мощностью. Этот сдвиг задают в качестве системного параметра. Кроме того, шаблон стробирования нисходящего канала связи может быть определен с использованием заранее заданных позиций вне зависимости от шаблона стробирования восходящего канала связи.
На фиг.14А показан способ выбора позиций стробирования в группах стробирующих тактов для КЗ=1/3. Контроллер 242 позиции стробирования в подвижной станции производит прием кода скремблирования и СНК сигнала нисходящего канала связи и осуществляет выбор одного бита из вещественной части скремблирующего кода. Выбранный один бит используют для определения такта, разрешающего пропускание при стробировании, следующей группы стробирующих тактов. Другими словами, позиция такта, разрешающего пропускание при стробировании, в текущей группе стробирующих тактов определяют по одному биту, выбранному в предыдущей группе стробирующих тактов. В общем случае, разница во времени в единицах тактов между текущей группой стробирующих тактов и группой стробирующих тактов, из которой осуществлен выбор одного бита, может быть больше единицы. При этом базовая станция осуществляет передачу стробирующего такта нисходящего канала связи в той позиции, которая отстоит на заранее заданное количество тактов от позиции стробирующего такта, принятого в восходящем канале связи.
На фиг.14Б показан способ выбора позиций стробирования в группах стробирующих тактов для КЗ=1/5. Контроллер 242 позиции стробирования в подвижной станции производит прием скремблирующего кода и СНК сигнала нисходящего канала связи, и осуществляет выбор двух битов из вещественной части скремблирующего кода. Выбранные два бита используют для определения такта, разрешающего пропускание при стробировании, следующей группы стробирующих тактов. Другими словами, позиция такта, разрешающего пропускание при стробировании, в текущей группе стробирующих тактов определяют по двум битам, выбранным в предыдущей группе стробирующих тактов. В общем случае, разница во времени в единицах тактов между текущей группой стробирующих тактов и группой стробирующих тактов, из которой осуществлен выбор двух битов, может быть большей, чем единица. При этом базовая станция осуществляет передачу стробирующего такта нисходящего канала канал связи, в котором разрешено пропускание, в том месте, которое отстоит на заранее заданное количество тактов от позиции стробирующего такта, в котором разрешено пропускание, принятого в восходящем канале связи.
При определении позиции вещественной части кода скремблирования в дополнение к СНК также можно использовать номер кода формирования канала для сигнала нисходящего канала связи, который задают однозначным образом для каждой подвижной станции. Код формирования канала для сигнала нисходящего канала связи используют для предотвращения передачи стробирующих тактов в сигналах нисходящего канала связи в один и тот же момент времени для различных подвижных станций.
На фиг.13В, 13Г, 14В и 14Г показан другой способ выбора стробирующего такта из группы стробирующих тактов. В этом способе позиции стробирования определяют путем выполнения операции пересчета по модулю 3 или по модулю 5 для десятичного значения N битов из конкретной области вещественной части кода скремблирования.
Второй способ случайного выбора произвольного такта в единичном элементе, представляющем собой группу стробирующих тактов, согласно этому варианту осуществления настоящего изобретения выполняют в следующем порядке.
1. Системный номер кадра (СНК), принимающий значения от 0 до 71, сигнала, принятого непосредственно перед осуществлением передачи, умножают на целое число в интервале от 1 до 35. Допустим, что результат вычисления равен ‘х’ (0 х 2485).
2а. Для КЗ=1/3 осуществляют выбор N бит из вещественной части кода скремблирования, расположенных в той позиции, которая отстоит на “х” элементов кода от границы группы тактов стробирования, что показано на фиг.13В. Выбранные N бит могут быть использованы для определения позиции стробирующего такта в следующей группе стробирующих тактов. То есть, позиция стробирующего такта в текущей группе стробирующих тактов может быть определена по N битам, выбранным в предыдущей группе стробирующих тактов.
2б. Для КЗ=1/5 осуществляют выбор N бит из вещественной части кода скремблирования, расположенных в той позиции, которая отстоит на “х” элементов кода от границы группы тактов стробирования, что показано на фиг.13Г. Выбранные N бит могут быть использованы для определения позиции стробирующего такта в следующей группе стробирующих тактов. То есть, позиция стробирующего такта в текущей группе стробирующих тактов может быть определена по N битам, выбранным в предыдущей группе стробирующих тактов.
3а. Для КЗ=1/3 позицию стробирующего такта, предназначенного для передачи, определяют с использованием значения, полученного путем выполнения операции пересчета десятичного значения, соответствующего выбранным N битам, по модулю 3, Поскольку значение, полученное в результате операции пересчета по модулю 3 равно либо 0, либо 1, либо 2, то каждое из этих значений определяет собой позицию произвольного такта в отрезке времени, соответствующем длительности стробирования (или в группе стробирующих тактов).
3б. Для КЗ=1/5 позицию такта, предназначенного для передачи, определяют с использованием значения, полученного путем выполнения операции пересчета десятичного значения, соответствующего выбранным N битам, по модулю 5. Поскольку значение, полученное в результате операции пересчета по модулю 3, равно либо 0, либо 1, либо 2, либо 3, либо 4, либо 5, то каждое из этих значений определяет собой позицию произвольного такта в группе стробирующих тактов.
4. При изменении СНК вышеуказанную процедуру выполняют снова, начиная с этапа 1, для нового значения сдвига “х”. В этом случае сохраняют в силе целочисленное значение (в интервале от 1 до 35), которое было использовано при выполнении этапа 1.
В способе выбора позиции стробирующего такта выбор позиции стробирования в группе стробирующих тактов осуществляют с использованием вещественной части кода скремблирования и СНК, который принимает значения в интервале от 0 до 71. Следовательно, шаблон стробирующих тактов, в которых разрешено пропускание, имеет период, равный 720 мс (миллисекунд). Для того, чтобы получить период шаблона стробирования больший, чем 720 мс, можно осуществлять изменение значения “х” всякий раз, когда СНК становится равным конкретному значению.
На фиг.14В показан способ выбора позиций стробирования в группах стробирующих тактов для КЗ=1/3. Контроллер 242 позиции стробирования в подвижной станции производит прием кода скремблирования и СНК сигнала нисходящего канала связи, и осуществляет выбор N бит из вещественной части кода скремблирования. Выбранный один бит используют для определения стробирующего такта следующей группы стробирующих тактов. Другими словами, позицию стробирующего такта в текущей группе стробирующих тактов определяют, исходя из результата операции пересчета N битов по модулю 3 N битов, выбранных в предыдущей группе стробирующих тактов. В общем случае, разница во времени в единицах тактов между текущей группой стробирующих тактов и группой стробирующих тактов, из которой осуществлен выбор N бит, может быть большей, чем единица. При этом базовая станция осуществляет передачу стробирующего такта нисходящего канала канал связи в той позиции, которая отстоит на заранее заданное количество тактов от позиции стробирующего такта, принятого в восходящем канале связи.
На фиг.14Г показан способ выбора позиций стробирования в группе стробирующих тактов для КЗ=1/5. Контроллер 242 позиции стробирования в подвижной станции производит прием кода скремблирования и СНК сигнала нисходящего канала связи, и осуществляет выбор N бит из вещественной части кода скремблирования. Выбранные N бит используют для определения стробирующего такта следующей группы стробирующих тактов. Другими словами, позицию стробирующего такта в текущей группе стробирующих тактов определяют, исходя из результата операции пересчета по модулю 5 N битов, выбранных в предыдущей группе стробирующих тактов. В общем случае, разница во времени в единицах тактов между текущей группой стробирующих тактов и группой стробирующих тактов, из которой осуществлен выбор N битов, может быть большей, чем единица. При этом базовая станция осуществляет передачу стробирующего такта нисходящего канала канал связи в той позиции, которая отстоит на заранее заданное количество тактов от позиции стробирующего такта, принятого в восходящем канале связи.
Нерегулярное упорядочение позиций стробирования тактов выполняют для предотвращения нежелательных эффектов, связанных с влиянием электромагнитных волн, которые обусловлены мощностью регулярно передаваемых сигналов. Для обеспечения случайного стробирования передаваемых сигналов этот вариант осуществления представляет собой пример использования произвольного числа для определения кадра восходящего канала связи/нисходящего канала связи совместно с кодом скремблирования восходящего канала связи или фиксированной последовательностью. Произвольное число для определения кадра восходящего канала связи/нисходящего канала связи может представлять собой СНК или НСК (номер связывающего кадра), а также может представлять собой произвольный системный параметр, служащий для определения кадра восходящего канала связи/нисходящего канала связи. Во втором способе стробирования выбранного случайным образом такта из группы стробирующих тактов согласно этому варианту осуществления настоящего изобретения случайное стробирование выбранного случайным образом такта выполняют с использованием НСК. То есть, во втором способе случайного стробирования согласно этому варианту осуществления настоящего изобретения в качестве произвольного числа для определения кадра восходящего канала связи/нисходящего канала связи используют НСК, а НСК представляет собой значение, одинаковым образом используемое каждой базовой станцией, поддерживающей связь с конкретной подвижной станцией (или с абонентской аппаратурой). Кроме того, НСК указывают посредством 8-ми бит, и он представляет собой номер кадра с периодом повторения, равным 256 (от 0 до 255).
На фиг.15А показан способ извлечения частичной последовательности, необходимой при генерации шаблона стробирования, исходя из кода скремблирования восходящего канала связи. Код скремблирования сигнала восходящего канала связи используют для распознавания абонентской аппаратуры (АА) (UE) в системе мобильной связи и подразделяют на длинный код скремблирования и короткий код скремблирования. Длинный код скремблирования имеет длину 33554432 бита, и его применяют для сигнала, состоящего из одного кадра, который передают из абонентской аппаратуры с использованием кода длиной всего лишь 38400 бит, состоящего из битов полной длины с 0-го по 38399-й, служащего для распознавания абонентской аппаратуры. Короткий код скремблирования имеет длину 256 бит, и его повторяют 150 раз в пределах одного кадра, передаваемого из абонентской аппаратуры. Короткий код скремблирования представляет собой код скремблирования идентификатора пользователя, который используют в том случае, когда базовая станция содержит в себе, например, устройство устранения помех, представляющее собой отдельное устройство.
Со ссылкой на фиг.15А, такт 1511 представляет собой первый такт кадра 1501 и имеет номер такта, равный 0. Для кода скремблирования, применяемого для такта 1511, в длинном коде скремблирования используют биты с 0-го по 2559-й, а короткий код скремблирования повторяет код скремблирования с 0-го по 255-й бит 10 раз. В приведенном ниже описании кодом скремблирования именуют оба кода скремблирования: длинный код скремблирования и короткий код скремблирования. В этом изобретении может быть использован как длинный код скремблирования, так и короткий код скремблирования. На фиг.15А, номером позиции 1512 обозначен 0-й бит кода скремблирования первого такта 1511, номером позиции 1513 обозначен 1-й бит кода скремблирования, а номером позиции 1514 обозначен 2559-й бит кода скремблирования.
На фиг.15А номером позиции 1501 обозначена длительность одного кадра. Кадр 1501 содержит в себе 15 тактов: с 0-го такта 1511 по 14-й такт 1519. Ниже будет приведено описание способа выбора позиции стробирующего такта из группы стробирующих тактов в кадре 1501.
Кадр 1501 разделяют на группы стробирующих тактов, каждая из которых согласно КЗ состоит из 3-х или 5-ти тактов. То есть, для КЗ=1/3 кадр 1501 разделяют на 5 групп стробирующих тактов, каждая из которых содержит в себе 5 тактов (то есть, группа № 0 стробирующих тактов содержит в себе такты с 0-го по 2-й, группа № 1 стробирующих тактов содержит в себе такты с 3-го по 5-й, группа № 2 стробирующих тактов содержит в себе такты с 6-го по 8-й, группа № 3 стробирующих тактов содержит в себе такты с 9-го по 11-й, а группа № 4 стробирующих тактов содержит в себе такты с 12-го по 14-й). Для КЗ=1/5 кадр 1501 разделяют на 3 группы стробирующих тактов, каждая из которых содержит в себе 5 тактов (то есть, группа № 0 стробирующих тактов содержит в себе такты с 0-го по 4-ый, группа № 1 стробирующих тактов содержит в себе такты с 5-го по 9-й, группа № 2 стробирующих тактов содержит в себе такты с 10-го по 14-й).
На фиг.15А кадр 1501 разделяют на 3 или на 5 групп стробирующих тактов в соответствии с КЗ, а каждая группа стробирующих тактов имеет сдвиг, значение которого равно номеру группы стробирующих тактов для соответствующих групп стробирующих тактов. Для КЗ=1/3 значение сдвига стробирующего такта в группе № 0 равно 0, значение сдвига стробирующего такта в группе № 1 равно 1, значение сдвига стробирующего такта в группе № 2 равно 2, значение сдвига стробирующего такта в группе № 3 равно 3, а значение сдвига стробирующего такта в группе № 4 равно 4. Для КЗ=1/5 значение сдвига стробирующего такта в группе № 0 равно 0, значение сдвига стробирующего такта в группе № 1 равно 1, а значение сдвига стробирующего такта в группе № 2 равно 2. Ниже приведено описание способа использования значений сдвига.
На фиг.15А n извлеченных битов обозначены битами с 1551-й по 1554-й. Следовательно, выбор n битов, с 1551-го по 1554-й бит, осуществляют с 0-го бита 1512 по 2559-й бит 1514 кода скремблирования, используемого для такта 1511, согласно предписанному взаимному согласованию между базовой станцией и подвижной станцией. Здесь ‘n’ является положительным числом, кратным 8, которое может быть задано произвольным образом. Способ выбора n бит, с бита 1551 по бит 1554, из кода скремблирования, применяемого для такта 1511, заключается в следующем. Для принятия решения о выборе стробирующего такта из текущей группы стробирующих тактов используют n бит из кода скремблирования, используемого для предыдущей группы стробирующих тактов, со сдвигом, при этом сдвигу подвергают первый бит кода скремблирования предыдущей группы стробирующих тактов.
(1) Для КЗ=1/3 кадр разделяют на 5 групп стробирующих тактов, с группы № 0 по группу № 4. В качестве n бит, используемых для выбора позиции стробирования в группе № 0 стробирующих тактов, используют n бит, начиная с 30724-го бита кода скремблирования предыдущего кадра. Здесь 30724-й бит представляет собой бит, который подвергают сдвигу на 4 относительно границы стробирующего такта группы № 4 из предыдущего кадра. То есть, этот бит представляет собой 30720-й бит, который является начальным битом кода скремблирования, применяемого для группы № 4 стробирующих тактов предыдущего кадра. А начальным битом совокупности из n бит (которая будет использована для группы № 0 стробирующих тактов в текущем кадре) является 30724-й бит, который определяют путем использования значения сдвига (=4) группы № 4 стробирующих тактов предыдущего кадра для группы № 0 стробирующих тактов. Следовательно, начальным битом выбора кода скремблирования, используемым при выборе позиции стробирования для группы № 0 стробирующих тактов, становится 30724-й бит.
Аналогичным образом, поскольку значение сдвига для группы № 0 стробирующих тактов равно 0, то в качестве n бит, используемых для выбора позиции стробирования в группе № 1 стробирующих тактов, осуществляют последовательное извлечение n бит, начиная с 0-го бита кода скремблирования группы № 0 стробирующих тактов. В качестве n бит, используемых для выбора позиции стробирования в группе № 2 стробирующих тактов, осуществляют последовательное извлечение n бит, начиная с 7681-го бита кода скремблирования, применяя значение сдвига (то есть, значения сдвига = 1), соответствующее группе № 1 стробирующих тактов. В качестве n бит, используемых для выбора позиции стробирования в группе № 3 стробирующих тактов, осуществляют последовательное извлечение n бит, начиная с 15362-го бита кода скремблирования, применяя значение сдвига (то есть, значения сдвига=2), соответствующее группе № 2 стробирующих тактов. В качестве n бит, используемых для выбора позиции стробирования в группе № 4 стробирующих тактов, осуществляют последовательное извлечение n бит, начиная с 23043-го бита кода скремблирования, применяя значение сдвига (то есть, значения сдвига=3), соответствующее группе № 3 стробирующих тактов. Как описано выше, в качестве n бит, используемых для выбора позиции стробирования в группе № 0 стробирующих тактов, осуществляют последовательное извлечение n бит, начиная с 30724-го бита кода скремблирования, применяя значение сдвига (то есть, значение сдвига = 4), соответствующее группе № 4 стробирующих тактов из предыдущего кадра. Другими словами, выбор n бит, используемых для определения позиции стробирующего такта в группе № (р+1) стробирующих тактов, осуществляют начиная с бита номер y, где y = {1-й бит группы № р стробирующих тактов} + {сдвиг группы № р стробирующих тактов}, за исключением операции определения позиции стробирующего такта в группе № 0 стробирующих тактов. При определении позиции стробирующего такта в группе № 0 стробирующих тактов выбор n бит, используемых для определения позиции стробирующего такта в группе № 0 стробирующих тактов, осуществляют начиная с бита номер y, где y = {1-й бит группы № 4 стробирующих тактов предыдущего кадра} + {сдвиг группы № 4 стробирующих тактов}.
Другими словами, выбор n бит, используемых для определения позиции стробирующего такта в группе № (р+1) стробирующих тактов, осуществляют начиная с бита номер у, где y = {1-й бит группы № р стробирующих тактов} + {сдвиг группы № р стробирующих тактов}, за исключением операции определения позиции стробирующего такта в группе № 0 стробирующих тактов. При определении позиции стробирующего такта в группе № 0 стробирующих тактов выбор n бит, используемых для определения позиции стробирующего такта в группе № 0 стробирующих тактов, осуществляют начиная с бита номер y, где y = {1-й бит группы № 4 стробирующих тактов предыдущего кадра} + {сдвиг группы № 4 стробирующих тактов}.
(2) Для КЗ=1/5 кадр разделяют на 3 группы стробирующих тактов, с группы № 0 стробирующих тактов по группу № 2 стробирующих тактов. В качестве n бит, используемых для выбора позиции стробирования в группе № 0 стробирующих тактов, осуществляют последовательное извлечение n бит, начиная с 25602-го бита кода скремблирования предыдущего кадра. В качестве n бит, используемых для выбора позиции стробирования в группе № 1 стробирующих тактов, осуществляют последовательное извлечение n бит, начиная с 0-го бита кода скремблирования. В качестве n бит, используемых для выбора позиции стробирования в группе № 2 стробирующих тактов, осуществляют последовательное извлечение n бит, начиная с 12801-го бита кода скремблирования.
На фиг.15Б изображена шаблон для объяснения третьего способа выполнения случайного стробирования согласно варианту осуществления настоящего изобретения. Этот способ осуществляют с использованием НСК. На фиг.15Б показан способ извлечения последовательности из n бит, необходимой для генерации шаблона стробирования из фиксированной последовательности А.
Со ссылкой на фиг.15Б, для определения шаблона передачи, имеющего нерегулярную структуру, в каждой из групп стробирующих тактов используют последовательности из n бит (из 16-ти бит). Последовательности из n бит (из 16-ти бит) получают путем выбора со сдвигом из фиксированной последовательности (то есть, А=а0, а1, а2… А18=1011010011011101001) с использованием сдвига j (0, 1, 2, 3). Для КЗ=1/5 могут быть использованы А0 и A1. A0 состоит из 16-ти бит (с а0 по а15) и A1 состоит из 16-ти бит (и а1 по а16). Для КЗ=1/3 могут быть использованы А0, A1, А2 и А3. В этом случае А0 состоит из элементов с а0 по а15, извлеченных из фиксированной последовательности А со сдвигом 0, A1 состоит из элементов с а1 по а16, извлеченных из фиксированной последовательности А со сдвигом 1, A2 состоит из элементов с а2 по а17, извлеченных из фиксированной последовательности А со сдвигом 2, а A3 состоит из элементов с а3 по а18, извлеченных из фиксированной последовательности А со сдвигом 3. А0 используют для вычисления стробирующего такта 0-й группы стробирующих тактов, a A1 используют для вычисления стробирующего такта 1-й группы стробирующих тактов. A2 и А3 используют для вычисления стробирующего такта 2-й и 3-й групп стробирующих тактов при КЗ=1/3. Поэтому, А0 и A1 или А0-А3 периодически используют в каждом кадре. На фиг.15Б показана последовательность из n бит, которая получена посредством применения сдвига к фиксированной последовательности, где значение сдвига равно номеру текущей группы стробирующих тактов. Поскольку выбор последовательности, предназначенной для использования в каждой группе стробирующих тактов, осуществляют путем применения сдвига к фиксированной последовательности А, то А не может быть использована в качестве приведенных ниже последовательностей.
1. Случай, в котором последовательности, выбранные после применения сдвига, становятся одинаковыми.
Ех) А=1010101010101010101010
Сдвиг 0: А0=1010101010101010101010
Сдвиг 1: A1=0101010101010101010101
Сдвиг 2: A2=1010101010101010101010
2. Последовательность, состоящая только из единиц или только из нулей.
Ех) А=00000000000000000000000
Ех)А=11111111111111111111111
На фиг.16 показан пример схемы аппаратной реализации операции выбора позиции стробирования с использованием n биты, используемых в способе выбора позиции стробирующего такта из фиг.15А и 15Б. На фиг.16 изображено устройство, реализующее способ выбора позиции стробирующего такта посредством использования кода скремблирования восходящего канала связи, показанного на фиг.15А, совместно с НСК или посредством использования фиксированной последовательности, показанной на фиг.15Б, совместно с НСК.
Со ссылкой на фиг.16, в устройстве 1601 памяти запоминают n бит кода скремблирования, выбранных посредством способа, описанного со ссылкой на фиг.15А, или запоминают n бит (то есть, 16 бит) из фиксированной последовательности А, полученных согласно способу выбора, описанному со ссылкой на фиг.15Б.
В устройстве 1603 памяти осуществляют многократное запоминание НСК, каждый из которых имеет длину n бит (16 бит), которые одинаковым образом используют в абонентской аппаратуре и в базовой станции, поддерживающей связь с абонентской аппаратурой. Осуществляют многократное увеличение НСК с 0 до 255, что может быть отображено посредством 8-ми бит, и его запоминание в устройстве 1603 памяти после повторения этой процедуры n/8 раз для того, чтобы длина битовой комбинации, запомненной в устройстве 1603 памяти, была равна значению ‘n’. Бит 1631, запомненный в устройстве 1603 памяти, представляет собой 0-й бит, который является старшим значащим битом (СЗБ) (MSB) ИСК, а бит 1638 представляет собой 7-й бит, который является младшим значащим битом (МЗБ) (LSB) НСК. Бит 1639, запомненный в устройстве 1603 памяти, представляет собой СЗБ НСК и имеет то же самое значение, что и бит 1631, а бит 163n представляет собой МЗБ НСК и имеет то же самое значение, что и бит 1638. В устройстве 1603 памяти из фиг.16 порядок размещения СЗБ и МЗБ НСК может быть изменен.
Умножитель 1604 из фиг.16 содержит в себе n устройств 1641-164n выполнения операции “исключающее ИЛИ” (XOR). Умножитель 1604 выполняет операцию “исключающее ИЛИ” над n битами, запомненными в устройстве 1601 памяти и над битами НСК, запомненными в устройстве 1603 памяти, и подает результаты операции в десятичный преобразователь 1605. То есть, n устройств 1641-164n выполнения операции выполняют операцию “исключающее ИЛИ” над битами 1611-161n, полученными с выхода устройства 1601 памяти, и над битами 1631-163n, полученными с выхода устройства 1603 памяти.
Десятичный преобразователь 1605 осуществляет преобразование результатов операции, выполняемой посредством умножителя 1604, в десятичное число. То есть, десятичный преобразователь 1605 содержит в себе устройства 1651-165n памяти, служащие для запоминания n значений результатов операций, полученных с выхода устройств 1641-164n выполнения операции “исключающее ИЛИ” умножителя 1604, и осуществляет преобразование хранящихся в них значений результатов операций в десятичное число. Значение десятичного числа задают в соответствии со значением ‘n’. Десятичное число, полученное на выходе десятичного преобразователя 1605, подают в устройство 1607 выполнения операции пересчета по модулю. На выходе устройства 1607 выполнения операции пересчета по модулю получают значение, зависящее от значения КЗ. Для КЗ=1/3 на выходе устройства 1607 выполнения операции пересчета по модулю получают одно из следующих значений: 0, 1 и 2. Для КЗ=1/5 на выходе устройства 1607 выполнения операции пересчета по модулю получают одно из следующих значений: 0, 1, 2, 3 и 4. Исходя из полученных на выходе результатов, осуществляют определение тактов, не предназначенных для передачи в группе стробирующих тактов, к которой применены результаты, полученные на выходе устройства 1607 выполнения операции пересчета по модулю. Десятичный преобразователь 1605 и устройство 1607 выполнения операции пересчета по модулю могут быть также реализованы программными средствами.
Фиг.15А и 16 могут быть описаны посредством приведенного ниже уравнения (1).

где G: номер текущей группы стробирующих тактов;
Gпред: номер предыдущей группы стробирующих тактов;
Сi: номер HСК i-го кадра и
Т: величина, обратная КЗ;
S: код скремблирования.
Для лучшего понимания уравнения (1) будет приведено описание Фиг.15А и 16 для случая, в котором рассматриваемой группой стробирующих тактов является первая, n=16, НСК=100011002 и КЗ=1/3.
В устройстве 1601 памяти, изображенном на фиг.16, запоминают значение ‘1101001010111000’ кода скремблирования, состоящее из 16-ти бит, которое выбрано посредством способа, поясненного на фиг.15А. Кроме того, поскольку НСК=10001100, то в устройстве 1603 памяти из фиг.16 запоминают значение ‘1000110010001100’. Умножитель 1604 содержит в себе 16 устройств выполнения операции “исключающее ИЛИ” и осуществляет вывод результата операции “исключающее ИЛИ”, значение которого равно ‘0101111000110100’. Десятичный преобразователь 1605 осуществляет преобразование значения, полученного на выходе умножителя 1604, в десятичное значение, равное ‘11386’ (или ‘24116’). Для КЗ=1/3, устройство 1607 выполнения операции пересчета по модулю выполняет операцию пересчета по модулю 3 для значения ‘11386’ (или ‘24116’), полученного на выходе десятичного преобразователя 1605, и осуществляет вывод значения 1 (или 2 в случае ‘24,116’). Поэтому, для передачи УСТФ, УМП и пилот-символа, представляющих собой управляющие данные ВФКПД, из 3 тактов, содержащихся в группе № 2 стробирующих тактов, осуществляют передачу второго (или третьего) такта.
Фиг.15Б и 16 могут быть описаны посредством приведенного ниже уравнения (2).

где Aj: последовательность, полученная путем сдвига фиксированной последовательности А на j бит,
Ci: последовательность, полученная путем повторения текущего ИСК,
Sg: количество тактов, образующих собой одну группу стробирующих тактов, и
NG: количество групп стробирующих тактов, образующих собой один кадр.
Ниже будет приведено подробное описание уравнения (2).
В уравнении (2) посредством s(i,j) обозначен номер такта, который должен быть передан, из тактов, образующих собой j-ю группу стробирующих тактов i-го кадра. При этом присвоение номера такта осуществляют не в единичном кадре, а в единичном элементе, представляющем собой группу стробируемых тактов. Aj обозначает собой последовательность из n бит, полученную путем применения сдвига j для фиксированной последовательности, как показано на фиг.15Б, где величина j сдвига равна номеру каждой группы стробирующих тактов, Ci обозначает собой последовательность из n бит, созданную путем повторения текущего НСК (8 бит). НСК – это номер связывающего кадра. С самого начала сеанса связи базовая станция и подвижная станция осуществляют многократный подсчет НСК (от 0 до 255). SG обозначает собой количество тактов в одной группе стробирующих тактов. Для КЗ=1/3 SG равно 3, а для КЗ=1/5 SG равно 5. NG обозначает собой количество групп стробирующих тактов в одном кадре. Для КЗ=1/3 NG равно 5, а для 1 КЗ=1/5 NG равно 3. Для j=0 (то есть, в первой группе стробирующих тактов кадра) выполняют операцию “исключающее ИЛИ” для А0 и текущего НСК (Ci), а затем добавляют ‘1’ к значению, полученному в результате выполнения операции пересчета по модулю (SG-1) результата операции “исключающее ИЛИ”. В результате этой операции при стробировании всегда отсекают первый такт каждого кадра (то есть, не осуществляют его передачу). Кроме того, для j=NG-1 (то есть, в последней группе стробирующих тактов кадра) при стробировании всегда разрешено пропускание (то есть, передача) только последнего такта SG-1. Для остальных групп стробирующих тактов (0G-1) над Aj и Ci выполняют операцию “исключающее ИЛИ”, а затем выполняют операцию пересчета значения, полученного в результате операции “исключающее ИЛИ”, по модулю SG. Причина иной обработки первой и последней групп стробирующих тактов, чем других групп стробирующих тактов, состоит в содействии осуществлению оценки канала. На фиг.15В показано правило генерации. Позицию стробирования также можно определить с использованием приведенного ниже уравнения (3), в котором одно и то же правило применяют для каждого

Описание операции определения позиции стробирования тактов в группе стробирующих тактов с использованием уравнений (2) и (3) будет приведено со ссылкой на фиг.16, 10А и 10Б.
Структура, изображенная на фиг.16, соответствует устройству 150 выбора позиции стробирования из фиг.10А и устройству 250 выбора позиции стробирования из фиг.10Б. Описание функционирования устройства выбора позиции стробирования будет приведено со ссылкой на фиг.16.
В устройстве 1601 памяти запоминают n бит, выбор которых осуществлен способом, описанным со ссылкой на фиг.15Б, а ‘n’ представляет собой положительное число, кратное 8. При этом последовательность, запомненная в устройстве 1601 памяти, представляет собой последовательность Aj, которая получена путем сдвига фиксированной последовательности А на j бит. В устройстве 1603 памяти запоминают повторяемые НСК длиной n бит, которые одинаковым образом используют в абонентской аппаратуре и в каждой базовой станции, поддерживающей связь с абонентской аппаратурой. Последовательность, запомненная в устройстве 1603 памяти, представляет собой последовательность Gi, полученную путем многократного повторения текущего НСК. Умножитель 1604 содержит в себе n устройств выполнения операции “исключающее ИЛИ”, которые побитно выполняют операцию “исключающее ИЛИ” с последовательностью Aj и последовательностью Ci, запомненными в устройствах 1601 и 1603 памяти, осуществляя генерацию результата операции Аj Сi, и подает этот результат операции в десятичный преобразователь 1605. Десятичный преобразователь 1605 осуществляет преобразование результата операции, выполняемой в умножителе 1604, в десятичное число и подает десятичное значение, полученное в результате преобразования, в устройство 1607 выполнения операции пересчета по модулю. На выходе устройства 1607 выполнения операции пересчета по модулю получают значение, которое зависит от количества SG тактов, образующих собой одну группу стробирующих тактов. То есть, при SG, равном 3 (то есть, КЗ=1/5), на выходе устройства 1607 выполнения операции пересчета по модулю получают значения 0, 1 и 2, а при SG, равном 5 (то есть, КЗ=1/3), на выходе устройства 1607 выполнения операции пересчета по модулю получают значения 0, 1, 2, 3 и 4.
Кроме того, устройство 1607 выполнения операции пересчета по модулю может выполнять ту же самую операцию пересчета по модулю, что и в уравнении (2), в соответствии с количеством групп стробирующих тактов в одном кадре. То есть, если текущая группа стробирующих тактов соответствует группе номер один стробирующих тактов в кадре, то позицию стробирования определяют таким образом, чтобы не осуществлять передачу данных в первом такте из первой группы стробирующих тактов. И наоборот, если текущая группа стробирующих тактов имеет номер, соответствующий последней группе стробирующих тактов, то позицию стробирования определяют таким образом, чтобы всегда была выполнена передача данных последнего такта из последней группы стробирующих тактов.
Определенную таким способом информацию о позиции стробирования для каждой группы стробирующих тактов подают в контроллер 141 передачи со стробированием из фиг.10А или в контроллер 241 передачи со стробированием из фиг.10Б. Контроллер передачи со стробированием разрешает передачу стробируемых данных по ВФКУ в течение длительности такта в той позиции стробирования, которая определена посредством устройства выбора позиции стробирования, и отсекает передачу данных по ВФКУ во время других тактов.
Для того, чтобы базовая станция и подвижная станция могли осуществлять передачу со стробированием, система мобильной связи имеет следующие способы перехода из одного состояния в другое, которые определяют в соответствии с установкой системы. В одном из способов переход осуществляют по заданному значению таймера или посредством командного сообщения о переходе, полученного из базовой станции. В другом способе осуществляют последовательный переход при изменении частоты стробирования. В этот момент частота стробирования КЗ может быть определена с учетом пропускной способности соответствующей подвижной станции и режимов работы канала. Предположим, что один кадр содержит в себе 16 тактов. В этом случае в прежнем способе осуществления перехода из одного состояния в другое выполняют непосредственный переход от одной частоты стробирования к другой, от КЗ=1/1 – к КЗ=1/2, от КЗ=1/1 – к КЗ=1/4 или от КЗ=1/1 – к КЗ=1/8. В последнем способе осуществления перехода из одного состояния в другое выполняют последовательный переход от одной частоты стробирования к другой, от КЗ=1/1 – к КЗ=1/2, от КЗ=1/2 – к КЗ=1/4 и от КЗ=1/4 – к КЗ=1/8. Описание способа передачи со стробированием согласно варианту осуществления настоящего изобретения будет приведено как для случая, в котором один кадр содержит в себе 16 тактов, так и для случая, в котором один кадр содержит в себе 15 тактов. В том случае, когда один кадр содержит в себе 16 тактов, частота стробирования может принимать значения 1/2, 1/4 и 1/8, а в том случае, когда один кадр содержит в себе 15 тактов, частота стробирования может принимать значения 1/3 и 1/5.
На фиг.7А и 7Б показан ВФКУ восходящего канала связи в том случае, когда при отсутствии данных ВФКПД в течение заранее заданного промежутка времени осуществлена генерация сигнала выделенного логического канала УДСП (управления доступом к среде передачи) (MAC) и по ВФКПД восходящего канала связи производят передачу соответствующего сообщения о переходе согласно фиг.6А и 6Б.
Номером 311 на фиг.7А обозначен случай, в котором осуществляют генерацию сообщения о ВФКПД восходящего канала связи, но при этом передачу со стробированием по ВФКУ восходящего канала связи не производят (то есть, при выполнении непрерывной передачи по ВФКУ восходящего канала связи (КЗ=1/1)). Номером 312 обозначен случай, в котором осуществляют генерацию сообщения о ВФКПД восходящего канала связи, и при этом по ВФКУ восходящего канала связи производят передачу со стробированием с КЗ=1/2. Номером 313 обозначен случай, в котором осуществляют генерацию сообщения о ВФКПД восходящего канала связи, и при этом по ВФКУ восходящего канала связи производят передачу со стробированием с КЗ=1/4. Номером 314 обозначен случай, в котором осуществляют генерацию сообщения о ВФКПД восходящего канала связи, и при этом по ВФКУ восходящего канала связи производят передачу со стробированием с КЗ=1/8. Даже для тактов, обозначенных номерами 312, 313 и 314, передачу которых согласно шаблону передачи со стробированием не осуществляют, передачу тактов в соответствующем отрезке времени выполняют обычным способом при передаче ВФКПД восходящего канала связи в течение соответствующих отрезков времени. В тактах, предназначенных для обычной передачи, биты УМП, служащие для управления мощностью нисходящего канала связи, могут быть опущены, а длительность (или период) контрольной последовательности может быть увеличена до длительности такта перед передачей. Начиная с тактов, идущих после передачи сообщения о ВФКПД восходящего канала связи, осуществляемой посредством обычной передачи тактов, передачу ВФКУ восходящего канала связи можно выполнять без стробирования или же можно продолжать передачу со стробированием с первоначальной частотой стробирования до тех пор, пока из базовой станции не будет получено сообщение о прекращении стробирования. То есть, в том случае, когда во время передачи со стробированием с КЗ=1/2 осуществлена передача сообщения о ВФКПД восходящего канала связи, существует возможность осуществлять обычную передачу такта вышеуказанной длительности, после этого снова выполнять передачу со стробированием с КЗ=1/2, а затем прекращать передачу со стробированием (КЗ=1) при передаче данных абонента после получения из базовой станции сообщения о прекращении стробирования.
Как и в случае ВФКУ восходящего канала связи, даже для тех тактов, передачу которых согласно шаблону передачи со стробированием не осуществляют, передачу тактов в соответствующем отрезке времени выполняют обычным способом в случае генерации сообщения о ВФКПД нисходящего канала связи во время передачи со стробированием по ВФКПД нисходящего канала связи. В тактах, предназначенных для обычной передачи, биты УМП, служащие для управления мощностью восходящего канала связи, могут быть опущены, а длительность пилот-последовательности может быть увеличена до длительности такта.
Начиная с тактов, идущих после передачи сообщения о ВФКПД нисходящего канала связи, выполняемой посредством обычной передачи тактов, можно осуществлять передачу ВФКУ нисходящего канала связи без стробирования или же можно продолжать передачу со стробированием с первоначальной частотой стробирования до тех пор, пока из подвижной станции не будет получено сообщение с запросом о прекращении стробирования. То есть, в том случае, когда во время передачи со стробированием с КЗ=1/2 осуществлена передача сообщения о ВФКПД нисходящего канала связи, существует возможность осуществлять обычную передачу такта вышеуказанной длительности, после этого снова выполнять передачу со стробированием с КЗ=1/2, а затем прекращать передачу со стробированием (КЗ=1) при передаче данных абонента после получения из подвижной станции сообщения о прекращении стробирования.
Номером 315 на фиг.7Б обозначен случай, в котором генерация сообщения о ВФКПД восходящего канала связи осуществлена при выполнении передачи со стробированием по ВФКУ восходящего канала связи с КЗ=1/2. Номером 316 обозначен случай, в котором генерация сообщения о ВФКПД восходящего канала связи осуществлена при выполнении передачи со стробированием по ВФКУ восходящего канала связи с КЗ=1/4. Номером 317 обозначен случай, в котором генерация сообщения о ВФКПД восходящего канала связи осуществлена при выполнении передачи со стробированием по ВФКУ восходящего канала связи с КЗ=1/8. Даже для тактов, обозначенных номерами 315, 316 и 317, передачу которых согласно шаблону передачи со стробированием не осуществляют, передачу тактов в соответствующем отрезке времени выполняют обычным способом при передаче ВФКПД восходящего канала связи в течение соответствующих отрезков времени. В тактах, предназначенных для обычной передачи, биты УМП, служащие для управления мощностью нисходящего канала связи, могут быть опущены, а длительность пилот-последовательности может быть увеличена до длительности такта перед передачей. Начиная с тактов, идущих после передачи сообщения о ВФКПД восходящего канала связи, осуществляемой посредством обычной передачи групп управления мощностью, передачу ВФКУ восходящего канала связи можно выполнять без стробирования или же можно продолжать передачу со стробированием с первоначальной частотой стробирования до тех пор, пока из базовой станции не будет получено сообщение о прекращении стробирования. То есть, в том случае, когда во время передачи со стробированием с КЗ=1/2 осуществлена передача сообщения о ВФКПД восходящего канала связи, существует возможность осуществлять обычную передачу такта вышеуказанной длительности, после этого снова выполнять передачу со стробированием с КЗ=1/2, а затем прекращать передачу со стробированием (КЗ=1) при передаче данных абонента после получения из базовой станции сообщения о прекращении стробирования.
Также существует возможность осуществлять одновременное стробирование передачи как ВФКУ восходящего канала связи, так и ВФКУ нисходящего канала связи, согласно одному и тому же шаблону стробирования. Начиная с тактов, идущих после передачи сообщения о ВФКПД нисходящего канала связи, выполняемой посредством обычной передачи тактов, генерация которого осуществлена в течение передачи ВФКУ нисходящего канала связи со стробированием, можно осуществлять передачу ВФКУ нисходящего канала связи без стробирования или же можно осуществлять стробирование передачи ВФКУ нисходящего канала связи с первоначальной частотой стробирования до тех пор, пока из подвижной станции не будет получено сообщение о прекращении стробирования. То есть, в том случае, когда передача сообщения о ВФКПД нисходящего канала связи осуществлена в течение передачи со стробированием при КЗ=1/2, существует возможность осуществлять обычную передачу такта вышеуказанной длительности, после этого снова выполнять передачу со стробированием с КЗ=1/2, а затем прекращать передачу со стробированием (КЗ=1) при передаче данных абонента после получения из подвижной станции сообщения о прекращении стробирования.
На фиг.8А показан способ передачи сигналов в нисходящем канале связи и в восходящем канале связи в том случае, когда прекращена передача ВФКПД нисходящего канала связи. Когда в режиме АНКР при отсутствии каких-либо данных информационного обмена, предназначенных для передачи по ВФКПД восходящего канала связи, передача ВФКПД нисходящего канала связи прекращена, что обозначено посредством позиции 801, базовая станция и подвижная станция начинают стробирование в том случае, если истекло установленное время таймера и получено сообщение о начале стробирования. Несмотря на то, что на фиг.8А показан вариант осуществления, в котором генерацию сообщения о начале стробирования выполняет базовая станция, передачу сообщения с запросом на выполнение стробирования в базовую станцию в случае отсутствии ВФКПД нисходящего канала связи и ВФКПД восходящего канала связи также может осуществлять и подвижная станция. Как показано на фиг.8А, во время передачи ВФКУ нисходящего канала связи также может быть осуществлена передача всех УСТФ, УМП и пилот-символов без стробирования. Поскольку биты УМП содержат в себе не имеющие смысла значения УМП, полученные путем измерения уровня мощности пилот-символов стробированных тактов в ВФКУ восходящего канала связи, подвижная станция не учитывает не имеющие смысла значения УМП, переданные из базовой станции, выполняя управление мощностью восходящего канала связи с учетом шаблона стробирования для ВФКУ восходящего канала связи, и осуществляет передачу с той же самой мощностью передачи, как и мощность передачи предыдущего такта.
В альтернативном варианте при передаче ВФКУ нисходящего канала связи согласно фиг.8А также можно осуществить стробирование только битов УСТФ и УМП в ВФКУ нисходящего канала связи, не выполняя при этом стробирование пилот-символов в ВФКУ нисходящего канала связи. Здесь шаблон стробирования идентичен шаблону стробирования для ВФКУ восходящего канала связи подвижной станции. Такт, в котором осуществляют стробирование битов УМП в ВФКУ нисходящего канала связи, соответствует битам УМП, генерация которых осуществлена путем измерения пилот-символов, соответствующих такту, для которого выполнено стробирование, в ВФКУ, переданном из подвижной станции.
Номером позиции 802 обозначена ситуация, в которой передачу сообщения, генерация которого выполнена базовой станцией, в подвижную станцию осуществляют по ВФКПД нисходящего канала связи. В этом случае подвижная станция, осуществлявшая стробирование передачи по ВФКУ восходящего канала связи, после получения сообщения может прекратить передачу со стробированием и выполнять обычную передачу (с КЗ=1). В альтернативном варианте подвижная станция, осуществлявшая стробирование передачи ВФКУ восходящего канала связи, может продолжать передачу со стробированием даже после получения сообщения, а затем выполнять обычную передачу (с КЗ=1) после получения сообщения о прекращении стробирования.
На фиг.8Б показан способ передачи сигналов в нисходящем канале связи и в восходящем канале связи в том случае, когда прекращена передача ВФКПД восходящего канала связи. Когда в режиме АНКР при отсутствии ВФКПД нисходящего канала связи передача ВФКПД нисходящего канала связи прекращена, что обозначено посредством номера позиции 803, базовая станция и подвижная станция осуществляют переход из одного состояния в другое в назначенный (или запланированный) ими обеими момент времени по истечении заданного времени таймера или после обмена сообщениями о переходе из одного состояния в другое. Несмотря на то, что на фиг.8Б показан вариант осуществления, в котором генерацию сообщения о переходе из одного состояния в другое выполняют посредством ВФКПД нисходящего канала связи, генерация сообщения о переходе из одного состояния в другое может быть осуществлена даже и в ВФКПД восходящего канала связи подвижной станции. Как показано на фиг.8Б, при передаче ВФКУ нисходящего канала связи может быть осуществлена передача всех УСТФ, УМП и пилот-символов без стробирования. Поскольку биты УМП содержат в себе не имеющие смысла значения УМП, определенные путем измерения уровня мощности пилот-символов стробированных тактов в ВФКУ восходящего канала связи, подвижная станция не учитывает не имеющие смысла значения УМП, переданные из базовой станции, выполняя управление мощностью восходящего канала связи с учетом шаблона стробирования для ВФКУ восходящего канала связи, и осуществляет передачу с той же самой мощностью передачи, как и мощность передачи предыдущего такта.
В альтернативном варианте при передаче ВФКУ нисходящего канала связи согласно фиг.8Б также можно осуществить стробирование только битов УСТФ и УМП в ВФКУ нисходящего канала связи, не выполняя при этом стробирование пилот-символов в ВФКУ нисходящего канала связи. Здесь шаблон стробирования идентичен шаблону стробирования для ВФКУ восходящего канала связи подвижной станции. Такт, в котором осуществляют стробирование битов УМП в ВФКУ нисходящего канала связи, соответствует битам УМП, генерация которых осуществлена путем измерения пилот-символов, соответствующих такту, для которого выполнено стробирование, в ВФКУ, переданном из подвижной станции.
Номером позиции 804 обозначена ситуация, в которой передачу сообщения о переходе из одного состояния в другое, генерация которого выполнена базовой станцией, в подвижную станцию осуществляют по ВФКПД нисходящего канала связи. В этом случае подвижная станция, осуществлявшая стробирование передачи по ВФКУ восходящего канала связи, после получения сообщения о переходе из одного состояния в другое может прекратить передачу со стробированием и выполнять обычную передачу (с КЗ=1). В альтернативном варианте подвижная станция, осуществлявшая стробирование передачи ВФКУ восходящего канала связи, может продолжать передачу со стробированием даже после получения сообщения о переходе из одного состояния в другое, а затем в точке перехода из одного состояния в другое, указанной посредством сообщения о переходе из одного состояния в другое, прекратить передачу со стробированием и выполнять обычную передачу (с КЗ=1).
На фиг.8В показан способ передачи сигналов в нисходящем канале связи и в восходящем канале связи в том случае, когда прекращена передача ВФКПД нисходящего канала связи. Когда в режиме АНКР при отсутствии ВФКПД восходящего канала связи передача ВФКПД нисходящего канала связи прекращена, что обозначено посредством номера позиции 805, базовая станция и подвижная станция осуществляют переход в режим ОНКР по истечении заданного времени таймера или в случае генерации сообщения о переходе из одного состояния в другое для ВФКПД нисходящего канала связи. Несмотря на то, что на фиг.8В показан вариант осуществления, в котором генерацию сообщения о переходе в режим АНКР осуществляет базовая станция, при отсутствии ВФКПД нисходящего канала связи и ВФКПД восходящего канала связи передачу сообщения с запросом на выполнение перехода из одного состояния в другое в базовую станцию также может осуществлять и подвижная станция. Как показано на фиг.8В, при передаче ВФКУ нисходящего канала связи может быть осуществлена передача всех УСТФ, УМП и пилот-символов без стробирования. Поскольку биты УМП содержат в себе не имеющие смысла значения УМП, определенные путем измерения уровня мощности пилот-символов стробированных тактов в ВФКУ восходящего канала связи, подвижная станция не учитывает не имеющие смысла значения УМП, переданные из базовой станции, выполняя управление мощностью восходящего канала связи с учетом шаблона стробирования для ВФКУ восходящего канала связи, и осуществляет передачу с той же самой мощностью передачи, как и мощность передачи предыдущего такта.
В альтернативном варианте при передаче ВФКУ нисходящего канала связи согласно фиг.8В также можно осуществить стробирование только битов УСТФ и УМП в ВФКУ нисходящего канала связи, не выполняя при этом стробирование пилот-символов в ВФКУ нисходящего канала связи. Здесь шаблон стробирования идентичен шаблону стробирования для ВФКУ восходящего канала связи подвижной станции. Такт, в котором осуществляют стробирование битов УМП в ВФКУ нисходящего канала связи, соответствует битам УМП, генерация которых осуществлена путем измерения пилот-символов, соответствующих такту, для которого выполнено стробирование, в ВФКУ, переданном из подвижной станции.
Номером позиции 806 обозначена ситуация, в которой передачу сообщения о переходе из одного состояния в другое, генерация которого выполнена подвижной станцией, в базовую станцию осуществляют по ВФКПД нисходящего канала связи. В этом случае подвижная станция, осуществлявшая стробирование передачи по ВФКУ восходящего канала связи, после передачи сообщения о переходе из одного состояния в другое по ВФКПД восходящего канала связи может прекратить передачу со стробированием, а затем выполнять обычную передачу (с КЗ=1). В альтернативном варианте подвижная станция, осуществлявшая стробирование передачи ВФКУ восходящего канала связи, может продолжать передачу со стробированием даже после передачи сообщения о переходе из одного состояния в другое, а затем в точке перехода из одного состояния в другое прекратить передачу со стробированием и выполнять обычную передачу (с КЗ=1).
На фиг.8Г показан способ передачи сигналов в нисходящем канале связи и в восходящем канале связи в том случае, когда прекращена передача ВФКПД восходящего канала связи. Когда в режиме АНКР при отсутствии ВФКПД нисходящего канала связи передача ВФКПД восходящего канала связи прекращена, что обозначено посредством номера позиции 807, базовая станция и подвижная станция осуществляют переход из одного состояния в другое в назначенный (или запланированный) ими обеими момент времени по истечении заданного времени таймера или после обмена сообщениями о переходе из одного состояния в другое. Несмотря на то, что на фиг.8Г показан вариант осуществления, в котором генерацию сообщения о переходе из одного состояния в другое осуществляют посредством ВФКПД нисходящего канала связи, генерация сообщения о переходе из одного состояния в другое может быть также выполнена и в ВФКПД восходящего канала связи подвижной станции. Как показано на фиг.8Г, при передаче ВФКУ нисходящего канала связи также может быть осуществлена передача всех УСТФ, УМП и пилот-символов без стробирования. Поскольку биты УМП содержат в себе не имеющие смысла значения УМП, определенные путем измерения уровня мощности пилот-символов стробированных тактов в ВФКУ восходящего канала связи, подвижная станция не учитывает не имеющие смысла значения УМП, переданные из базовой станции, выполняя управление мощностью восходящего канала связи с учетом шаблона стробирования для ВФКУ восходящего канала связи, и осуществляет передачу с той же самой мощностью передачи, как и мощность передачи предыдущего такта.
В альтернативном варианте при передаче ВФКУ нисходящего канала связи согласно фиг.8Г также можно осуществить стробирование только битов УСТФ и УМП в ВФКУ нисходящего канала связи, не выполняя при этом стробирование пилот-символов в ВФКУ нисходящего канала связи. Здесь шаблон стробирования идентичен шаблону стробирования для ВФКУ восходящего канала связи подвижной станции. Такт, в котором осуществляют стробирование битов УМП в ВФКУ нисходящего канала связи, соответствует битам УМП, генерация которых осуществлена путем измерения пилот-символов, соответствующих такту, для которого выполнено стробирование, в ВФКУ, переданном из подвижной станции.
Номером позиции 808 обозначена ситуация, в которой сообщение о переходе из одного состояния в другое, генерация которого выполнена подвижной станцией, передают в базовую станцию, осуществляемое по ВФКПД восходящего канала связи. В этом случае подвижная станция, осуществлявшая стробирование передачи по ВФКУ восходящего канала связи, после передачи сообщения о переходе из одного состояния в другое по ВФКПД восходящего канала связи может прекратить передачу со стробированием, а затем выполнять обычную передачу (с КЗ=1). В альтернативном варианте подвижная станция, осуществлявшая стробирование передачи ВФКУ восходящего канала связи, может продолжать передачу со стробированием даже после передачи сообщения о переходе из одного состояния в другое, а затем в точке перехода из одного состояния в другое прекратить передачу со стробированием и выполнять обычную передачу (с КЗ=1).
На фиг.9А показан способ передачи сигналов в нисходящем канале связи и в восходящем канале связи в том случае, когда прекращена передача ВФКПД нисходящего канала связи. Когда передача ВФКПД нисходящего канала связи прекращена, базовая станция и подвижная станция осуществляют переход из одного состояния в другое в назначенный ими обеими момент времени по истечении заданного времени таймера или после обмена сообщениями о переходе из одного состояния в другое. На фиг.9А изображен случай, в котором шаблон стробирования для ВФКУ нисходящего канала связи идентичен шаблону стробирования для ВФКУ восходящего канала связи. Несмотря на то, что на фиг.9А показан вариант осуществления, в котором передачу сообщения о переходе из одного состояния в другое выполняют посредством ВФКПД нисходящего канала связи, передача сообщения о переходе из одного состояния в другое может быть также осуществлена посредством ВФКПД восходящего канала связи подвижной станции.
На фиг.9Б показан способ передачи сигналов в нисходящем канале связи и в восходящем канале связи в том случае, когда прекращена передача ВФКПД восходящего канала связи. Когда передача ВФКПД восходящего канала связи прекращена, базовая станция и подвижная станция осуществляют переход из одного состояния в другое в назначенный ими обеими момент времени по истечении заданного времени таймера или после обмена сообщениями о переходе из одного состояния в другое. На фиг.9Б изображен случай, в котором шаблон стробирования для ВФКУ нисходящего канала связи идентичен шаблону стробирования для ВФКУ восходящего канала связи. Несмотря на то, что на фиг.9Б показан вариант осуществления, в котором передачу сообщения о переходе в другое состояние выполняют посредством ВФКПД нисходящего канала связи, передача сообщения о переходе из одного состояния в другое может быть также осуществлена посредством ВФКПД восходящего канала связи подвижной станции.
В приведенном выше описании и на чертежах кадры нисходящего канала связи и восходящего канала связи имеют одинаковую начальную точку кадра. Однако в системе мобильной связи УНРА (UTRA) (системе универсальной наземной мобильной радиосвязи с абонентами (UMTS Terrestrial Radio Access)) начальная точка кадра восходящего канала связи имеет искусственную задержку на 250 мкс (микросекунд) по сравнению с начальной точкой кадра нисходящего канала связи. Это выполняют для того, чтобы время задержки управления мощностью было равно одному такту (=0,625 мс) с учетом задержки на прохождение сигнала передачи в том случае, когда радиус зоны сотовой связи составляет менее 30 км. Поэтому на фиг.11А по 11Д показаны способы передачи сигнала ВФКУ со стробированием, в которых обеспечен должный учет искусственно введенного времени задержки между временем начала кадра в нисходящем канале связи и в восходящем канале связи. На фиг.10А и 10Б показано устройство, соответственно, передатчика базовой станции и передатчика подвижной станции, которые позволяют осуществлять такую передачу со стробированием.
На фиг.10А показана структура передатчика базовой станции согласно другому варианту осуществления настоящего изобретения. Этот передатчик базовой станции отличается от передатчика, изображенного на фиг.5А, тем, что в нем посредством контроллера 141 передачи со стробированием может быть осуществлено раздельное стробирование пилот-символов, битов УСТФ и УМП, образующих ВФКУ нисходящего канала связи, согласно различным шаблонам стробирования. То есть, в режиме ОНКР, в котором отсутствует передача данных информационного обмена по ВФКПД восходящего канала связи и по ВФКПД нисходящего канала связи, контроллер 141 передачи со стробированием осуществляет стробирование передачи пилот-символов, битов УСТФ и УМП для ВФКУ нисходящего канала связи, находящихся в такте (или в отрезке времени), согласованном с подвижной станцией. Посредством использования контроллера 141 передачи со стробированием единичный элемент передачи со стробированием также можно скомпоновать из пилот-символа из (n-1)-гo такта вместе с битами УСТФ и УМП из n-го такта. В том случае, когда во время передачи со стробированием в режиме ОНКР базовая станция выполняет передачу служебных данных с использованием контроллера 141 передачи со стробированием, существует возможность не осуществлять стробирование передачи пилот-символов и УСТФ в течение времени передачи служебных данных.
В альтернативном варианте осуществления, в режиме ОНКР, в котором отсутствует передача данных информационного обмена по ВФКПД восходящего канала связи и ВФКПД нисходящего канала связи, контроллер 141 передачи со стробированием может выполнять передачу со стробированием одного такта (или одного полного такта), содержащего в себе пилот-символы, биты УСТФ и УМП для ВФКУ нисходящего канала связи, которые находятся в том такте (или в отрезке времени), очередность которого согласована с подвижной станцией.
Несмотря на то, что шаблон передачи со стробированием в нисходящем канале связи идентичен шаблону передачи со стробированием в восходящем канале связи, между ними может существовать сдвиг, обеспечивающий эффективное управление мощностью. Этот сдвиг задают в качестве системного параметра.
Контроллер 141 передачи со стробированием может осуществлять выбор позиции стробирования тактов либо случайным образом, либо через одинаковые интервалы, в соответствии с выходным сигналом устройства 150 выбора позиции стробирования. То есть, устройство 150 выбора позиции стробирования может задавать позицию стробирования тактов таким образом, что они будут расположены через одинаковые интервалы. Например, при КЗ=1/3 осуществляют передачу (или пропускание при стробировании) 3-го, 6-го, 9-го, … тактов. Кроме того, устройство 150 выбора позиции стробирования может осуществлять выбор позиции стробирования тактов случайным образом посредством способа, описанного со ссылкой на фиг.15А, 15Б и 16. В этом случае позицию стробируемых тактов задают в соответствии с шаблоном стробирования по случайному закону.
На фиг.10Б показана структура передатчика подвижной станции согласно другому варианту осуществления настоящего изобретения. Этот передатчик подвижной станции отличается от передатчика, изображенного на фиг.5Б, тем, что в нем посредством контроллера 241 передачи со стробированием может быть осуществлено раздельное стробирование пилот-символов, битов УСТФ, УОС и УМП, образующих собой ВФКУ восходящего канала связи, согласно различным шаблонам стробирования. В режиме ОНКР, в котором отсутствует передача данных информационного обмена по ВФКПД восходящего канала связи и по ВФКПД нисходящего канала связи, контроллер 241 передачи со стробированием осуществляет стробирование передачи пилот-символов, битов УСТФ, УОС и УМП для ВФКУ восходящего канала связи, находящихся в группе управления мощностью (или в такте), согласованной с подвижной станцией. В том случае, когда во время передачи со стробированием в режиме ОНКР базовая станция осуществляет передачу служебных данных с использованием контроллера 241 передачи со стробированием, существует возможность не осуществлять стробирование передачи пилот-символов и УСТФ в течение времени передачи служебных данных.
В альтернативном варианте осуществления, в режиме ОНКР, в котором отсутствует передача данных информационного обмена по ВФКПД восходящего канала связи и ВФКПД нисходящего канала связи, контроллер 241 передачи со стробированием может выполнять передачу со стробированием одного такта, содержащего в себе пилот-символы, биты УСТФ, УОС и УМП для ВФКУ восходящего канала связи, которые находятся в такте, согласованном с подвижной станцией.
Несмотря на то, что шаблон передачи со стробированием в нисходящем канале связи идентичен шаблону передачи со стробированием в восходящем канале связи, между ними может существовать сдвиг, обеспечивающий эффективное управление мощностью. Этот сдвиг задают в качестве системного параметра.
Контроллер 241 передачи со стробированием может осуществлять выбор позиции стробирования тактов либо случайным образом, либо через одинаковые интервалы, в соответствии с выходным сигналом устройства 250 выбора позиции стробирования. То есть, устройство 250 выбора позиции стробирования может задавать позицию стробирования тактов таким образом, что они будут расположены через одинаковые интервалы. Например, при КЗ=1/3 осуществляют передачу (или пропускание при стробировании) 3-го, 6-го, 9-го, … тактов. Кроме того, устройство 250 выбора позиции стробирования может осуществлять выбор позиции стробирования тактов случайным образом посредством способа, описанного со ссылкой на фиг.15А, 15Б и 16. В этом случае позицию стробируемых тактов задают в соответствии с шаблоном стробирования по случайному закону.
На чертежах с фиг.11А по 11Д и с фиг.12А по 12Д изображены шаблоны передачи сигналов для передачи со стробированием, осуществляемой передатчиками базовой станции и подвижной станции из фиг.10А и 10Б. На чертежах с фиг.11А по 11Д показано то, как можно осуществить передачу со стробированием в том случае, когда длительность кадра равна 10 мс, а каждый кадр содержит в себе 16 тактов, то есть, каждый такт имеет длительность 0,625 мс. На чертежах с фиг.12А по 12Д показано то, как можно осуществить передачу со стробированием в том случае, когда длительность кадра равна 10 мс, а каждый кадр содержит в себе 15 тактов, то есть, каждый такт имеет длительность 0,667 мс.
На фиг.11А изображена передача со стробированием для ВФКУ нисходящего канала связи и ВФКУ восходящего канала связи согласно первому варианту осуществления настоящего изобретения. Как показано на фиг.11А, единичный элемент передачи со стробированием для ВФКУ нисходящего канала связи может быть не равен одному такту. То есть, для двух соседних тактов в качестве единичного элемента передачи со стробированием для ВФКУ нисходящего канала связи задают пилот-символ из n-го такта и биты УСТФ и УМП из (n+1)-го такта. Например, для частоты стробирования, равной 1/2, в качестве единичного элемента передачи со стробированием для ВФКУ нисходящего канала связи задают пилот-символ из такта, имеющего номер 0, и биты УСТФ и УМП из такта номер 1. Для частоты стробирования, равной 1/4, в качестве единичного элемента передачи со стробированием для ВФКУ нисходящего канала связи задают пилот-символ из такта номер 2 и биты УСТФ и УМП из такта номер 3. Для частоты стробирования, равной 1/8, в качестве единичного элемента передачи со стробированием для ВФКУ нисходящего канала связи задают пилот-символ из такта номер 6 и биты УСТФ и УМП из такта номер 7. При этом единичный элемент передачи со стробированием для ВФКУ нисходящего канала связи задают таким, чтобы он отличался от существующего единичного такта, поскольку n-й пилот-символ может потребоваться в приемнике для демодуляции (n+1)-го УМП согласно способу демодуляции сигнала УМП.
В том случае, когда во время такой передачи со стробированием осуществлена генерация сообщения о передаче служебных сигналов, то передачу сообщения о передаче служебных сигналов выполняют по ВФКПД нисходящего канала связи или ВФКПД восходящего канала связи. Поэтому эффективность функционирования в начальной точке кадра имеет очень большое значение. Как показано на фиг.11А, в изобретении УМП для ВФКУ нисходящего канала связи и УМП для ВФКУ восходящего канала связи размещают в такте номер 15 (то есть, в 16-м такте, который представляет собой последний такт n-го кадра), что обеспечивает возможность управления мощностью первого такта (n+1)-го кадра с использованием битов УМП, находящихся в последнем такте n-го кадра. То есть, УМП, служащий для управления мощностью первого такта следующего кадра, размещают в последнем такте настоящего кадра.
Между тем, в упомянутой выше системе УНРА сдвиг между моментами времени начала кадров в нисходящем канале связи и в восходящем канале связи является фиксированным и равен 250 мкс. Однако при передаче со стробированием ВФКУ нисходящего канала связи и ВФКУ восходящего канала связи величина сдвига может изменяться и принимать произвольное значение при осуществлении обмена параметром передачи со стробированием по ВФКУ между базовой станцией и подвижной станцией в процессе установления вызова. В процессе установления вызова задают надлежащее значение величины сдвига с учетом задержки на прохождение сигнала между базовой станцией и подвижной станцией. То есть, в том случае, когда радиус зоны сотовой связи превышает 30 км, значение величины сдвига задают большим, чем обычное значение сдвига, равное 250 мкс, используемое для передачи со стробированием по ВФКУ, а это значение может быть определено экспериментально.
На фиг.11Б показана передача со стробированием для ВФКУ нисходящего канала связи и ВФКУ восходящего канала связи согласно второму варианту осуществления настоящего изобретения. На фиг.11Б изображен случай, в котором при выполнении передачи со стробированием с частотами стробирования, равными 1/2, 1/4 и 1/8, передачу ВФКУ нисходящего канала связи осуществляют перед передачей ВФКУ восходящего канала связи. Эту разность (то есть, сдвиг) обозначают как “временной интервал между нисходящим и восходящим каналами связи” (время НК-ВК) (“DL-UL timing”) для частот стробирования 1/2, 1/4 и 1/8.
Со ссылкой на фиг.11Б, для двух соседних тактов в качестве единичного элемента передачи со стробированием для ВФКУ нисходящего канала связи задают пилот-символ из n-го такта и биты УСТФ и УМП из (n+1)-го такта. Например, для частоты стробирования, равной 1/2, в качестве единичного элемента передачи со стробированием для ВФКУ нисходящего канала связи задают пилот-символ из такта номер 0 и УСТФ и УМП из такта номер 1. Для частоты стробирования, равной 1/4, в качестве единичного элемента передачи со стробированием для ВФКУ нисходящего канала связи задают пилот-символ из такта номер 2 и УСТФ и УМП из такта номер 3. Для частоты стробирования, равной 1/8, в качестве единичного элемента передачи со стробированием для ВФКУ нисходящего канала связи задают пилот-символ из такта номер 6 и УСТФ и УМП из такта номер 7.
Кроме того, указано, что УМП, служащий для управления мощностью первого такта следующего кадра, находится в последнем такте текущего кадра. То есть, как УМП для ВФКУ нисходящего канала связи, так и УМП для ВФКУ восходящего канала связи, расположены в такте номер 15 (то есть, в 16-м такте).
На фиг.11В показана передача со стробированием для ВФКУ нисходящего канала связи и ВФКУ восходящего канала связи согласно третьему варианту осуществления настоящего изобретения. На фиг.11В изображен случай, в котором при выполнении передачи со стробированием с частотами стробирования 1/2, 1/4 и 1/8 передачу ВФКУ восходящего канала связи осуществляют перед передачей ВФКУ нисходящего канала связи.
Со ссылкой на фиг.11В, для двух соседних тактов в качестве единичного элемента передачи со стробированием для ВФКУ нисходящего канала связи задают пилот-символ из заранее заданного n-го такта и УСТФ и УМП из (n+1)-го такта. Например, для частоты стробирования, равной 1/2, в качестве единичного элемента передачи со стробированием для ВФКУ нисходящего канала связи задают пилот-символ из такта номер 1 и УСТФ и УМП из такта номер 2. Для частоты стробирования, равной 1/4, в качестве единичного элемента передачи со стробированием для ВФКУ нисходящего канала связи задают пилот-символ из такта номер 2 и УСТФ и УМП из такта номер 3. Для частоты стробирования, равной 1/8, в качестве единичного элемента передачи со стробированием для ВФКУ нисходящего канала связи задают пилот-символ из такта номер 6 и УСТФ и УМП из такта номер 7.
Кроме того, указано, что УМП, служащий для управления мощностью первого такта следующего кадра, находится в последнем такте текущего кадра. То есть, как УМП для ВФКУ нисходящего канала связи, так и УМП для ВФКУ восходящего канала связи, расположены в такте номер 15 (то есть, в 16-м такте).
На фиг.11Г показана передача со стробированием для ВФКУ нисходящего канала связи и ВФКУ восходящего канала связи согласно четвертому варианту осуществления настоящего изобретения. На фиг.11Г изображен случай, в котором при выполнении передачи со стробированием с частотами стробирования 1/2, 1/4 и 1/8 передачу ВФКУ нисходящего канала связи осуществляют перед передачей ВФКУ восходящего канала связи, а шаблоны стробирования нисходящего и восходящего каналов связи заданы имеющими одинаковый период.
Со ссылкой на фиг.11Г, для двух соседних тактов в качестве единичного элемента передачи со стробированием для ВФКУ нисходящего канала связи задают пилот-символ из заранее заданного n-го такта и УСТФ и УМП из (n+1)-го такта. Например, для частоты стробирования, равной 1/2, в качестве единичного элемента передачи со стробированием для ВФКУ нисходящего канала связи задают пилот-символ из такта номер 0 и УСТФ и УМП из такта номер 1. Для частоты стробирования, равной 1/4, в качестве единичного элемента передачи со стробированием для ВФКУ нисходящего канала связи задают пилот-символ из такта номер 0 и УСТФ и УМП из такта номер 1. Для частоты стробирования, равной 1/8, в качестве единичного элемента передачи со стробированием для ВФКУ нисходящего канала связи задают пилот-символ из такта номер 2 и УСТФ и УМП из такта номер 3.
Кроме того, указано, что УМП, служащий для управления мощностью первого такта следующего кадра, находится в последнем такте текущего кадра. То есть, как УМП для ВФКУ нисходящего канала связи, так и УМП для ВФКУ восходящего канала связи, расположены в такте номер 15 (то есть, в 16-м такте).
На фиг.12А и 12Б показана передача со стробированием для ВФКУ нисходящего канала связи и ВФКУ восходящего канала связи согласно пятому варианту осуществления настоящего изобретения. На фиг.12А и 12Б изображен случай, в котором частота стробирования для передачи со стробированием ВФКУ нисходящего канала связи и ВФКУ восходящего канала связи равна 1/3, то есть, осуществление передачи при стробировании разрешают в промежутки времени, соответствующие 1/3 из всех тактов. То есть, передачу со стробированием осуществляют в те промежутки времени, которые соответствуют 5-ти тактам из общего количества тактов, равного 15-ти. Здесь единичный элемент передачи со стробированием для ВФКУ нисходящего канала связи задают таким, что он отличается от единичного такта. То есть, для двух соседних тактов в качестве единичного элемента передачи со стробированием для ВФКУ нисходящего канала связи задают пилот-символ из заранее заданного n-го такта и УСТФ и УМП из (n+1)-го такта. Соответственно, очередность осуществления передачи обусловлена порядком следования пилот-символа из n-го такта и УМП и символов УСТФ из (n+1)-го такта.
В <Варианте 1> из фиг.12А показан случай, в котором в начале передачи со стробированием осуществляют одновременную передачу ВФКУ восходящего канала связи и ВФКУ нисходящего канала связи, а шаблоны стробирования нисходящего и восходящего каналов связи имеют одинаковый заданный период. Для двух соседних тактов в качестве единичного элемента передачи со стробированием для ВФКУ нисходящего канала связи заданы пилот-символ из 1-го такта и УСТФ и УМП из 2-го такта; в качестве единичного элемента передачи со стробированием для ВФКУ нисходящего канала связи заданы пилот-символ из 4-го такта и УСТФ и УМП из 5-го такта; в качестве единичного элемента передачи со стробированием для ВФКУ нисходящего канала связи заданы пилот-символ из 7-го такта и УСТФ и УМП из 8-го такта; в качестве единичного элемента передачи со стробированием для ВФКУ нисходящего канала связи заданы пилот-символ из 10-го такта и УСТФ и УМП из 11-го такта; а также в качестве единичного элемента передачи со стробированием для ВФКУ нисходящего канала связи заданы пилот-символ из 13-го такта и УСТФ и УМП из 14-го такта.
В <Варианте 2> показан случай, в котором в начале передачи со стробированием передачу ВФКУ восходящего канала связи осуществляют перед передачей ВФКУ нисходящего канала связи. Здесь для двух соседних тактов в качестве единичного элемента передачи со стробированием для ВФКУ нисходящего канала связи заданы пилот-символ из 0-го такта и УСТФ и УМП из 1-го такта; в качестве единичного элемента передачи со стробированием для ВФКУ нисходящего канала связи заданы пилот-символ из 3-го такта и УСТФ и УМП из 4-го такта; в качестве единичного элемента передачи со стробированием для ВФКУ нисходящего канала связи заданы пилот-символ из 6-го такта и УСТФ и УМП из 7-го такта; в качестве единичного элемента передачи со стробированием для ВФКУ нисходящего канала связи заданы пилот-символ из 9-го такта и УСТФ и УМП из 10-го такта; а также в качестве единичного элемента передачи со стробированием для ВФКУ нисходящего канала связи заданы пилот-символ из 12-го такта и УСТФ и УМП из 13-го такта.
В <Варианте 3> из фиг.12Б показан случай, в котором в начале передачи со стробированием передачу ВФКУ восходящего канала связи осуществляют перед передачей ВФКУ нисходящего канала связи. Здесь для двух соседних тактов в качестве единичного элемента передачи со стробированием для ВФКУ нисходящего канала связи заданы пилот-символ из 1-го такта и УСТФ и УМП из 2-го такта; в качестве единичного элемента передачи со стробированием для ВФКУ нисходящего канала связи заданы пилот-символ из 4-го такта и УСТФ и УМП из 5-го такта; в качестве единичного элемента передачи со стробированием для ВФКУ нисходящего канала связи заданы пилот-символ из 7-го такта и УСТФ и УМП из 8-го такта; в качестве единичного элемента передачи со стробированием для ВФКУ нисходящего канала связи заданы пилот-символ из 10-го такта и УСТФ и УМП из 11-го такта; а также в качестве единичного элемента передачи со стробированием для ВФКУ нисходящего канала связи заданы пилот-символ из 13-го такта и УСТФ и УМП из 14-го такта.
В <Варианте 4> показан случай, в котором в начале передачи со стробированием передачу ВФКУ восходящего канала связи осуществляют перед передачей ВФКУ нисходящего канала связи. Здесь для двух соседних тактов в качестве единичного элемента передачи со стробированием для ВФКУ нисходящего канала связи заданы пилот-символ из 14-го такта и УСТФ и УМП из 0-го такта; в качестве единичного элемента передачи со стробированием для ВФКУ нисходящего канала связи заданы пилот-символ из 2-го такта и УСТФ и УМП из 3-го такта; в качестве единичного элемента передачи со стробированием для ВФКУ нисходящего канала связи заданы пилот-символ из 5-го такта и УСТФ и УМП из 6-го такта; в качестве единичного элемента передачи со стробированием для ВФКУ нисходящего канала связи заданы пилот-символ из 8-го такта и УСТФ и УМП из 9-го такта; а также в качестве единичного элемента передачи со стробированием для ВФКУ нисходящего канала связи заданы пилот-символ из 11-го такта и УСТФ и УМП из 12-го такта.
В <Варианте 5> показан случай, в котором в начале передачи со стробированием передачу ВФКУ восходящего канала связи осуществляют перед передачей ВФКУ нисходящего канала связи. Здесь для двух соседних тактов в качестве единичного элемента передачи со стробированием для ВФКУ нисходящего канала связи заданы пилот-символ из 0-го такта и УСТФ и УМП из 1-го такта; в качестве единичного элемента передачи со стробированием для ВФКУ нисходящего канала связи заданы пилот-символ из 3-го такта и УСТФ и УМП из 4-го такта; в качестве единичного элемента передачи со стробированием для ВФКУ нисходящего канала связи заданы пилот-символ из 6-го такта и УСТФ и УМП из 7-го такта; в качестве единичного элемента передачи со стробированием для ВФКУ нисходящего канала связи заданы пилот-символ из 9-го такта и УСТФ и УМП из 10-го такта; а также в качестве единичного элемента передачи со стробированием для ВФКУ нисходящего канала связи заданы пилот-символ из 12-го такта и УСТФ и УМП из 13-го такта.
На фиг.12В показана передача со стробированием для ВФКУ нисходящего канала связи и ВФКУ восходящего канала связи согласно шестому варианту осуществления настоящего изобретения. На фиг.12В изображен случай, в котором частота стробирования для передачи со стробированием ВФКУ нисходящего канала связи и ВФКУ восходящего канала связи равна 1/5, то есть, по сравнению с передачей всех тактов при обычной передаче, при передаче со стробированием осуществляют передачу только 1/5 всех тактов. То есть, передачу со стробированием осуществляют таким образом, чтобы обеспечить передачу 3-х тактов из общего количества тактов, которое обычно равно 15-ти. Здесь единичный элемент передачи со стробированием для ВФКУ нисходящего канала связи задают таким, чтобы он отличался от единичного такта. То есть, для двух соседних тактов в качестве единичного элемента передачи со стробированием для нисходящего канала связи ВФКУ задают пилот-символ из заранее заданного n-го такта и УСТФ и УМП из (n+1)-го такта. Следовательно, передачу пилот-символа, УМП и УСТФ осуществляют в 5-ти тактах, а передачу символов осуществляют в последовательности, обусловленной порядком следования пилот-символа n-го такта и символов УМП и УСТФ из (n+1)-го такта. Здесь передачу символа УМП и символа УСТФ осуществляют непрерывно.
Со ссылкой на фиг.12В, для двух соседних тактов в качестве единичного элемента передачи со стробированием для ВФКУ нисходящего канала связи заданы пилот-символ из 3-го такта и УСТФ и УМП из 4-го такта; в качестве единичного элемента передачи со стробированием для ВФКУ нисходящего канала связи заданы пилот-символ из 8-го такта и УСТФ и УМП из 9-го такта; а также в качестве единичного элемента передачи со стробированием для ВФКУ нисходящего канала связи заданы пилот-символ из 13-го такта и УСТФ и УМП из 14-го такта.
На фиг.12Г показана передача со стробированием для ВФКУ нисходящего канала связи и ВФКУ восходящего канала связи согласно седьмому варианту осуществления настоящего изобретения. Со ссылкой на фиг.12Г, шаблон стробирования задают таким образом, чтобы в режиме ОНКР обеспечить отсутствие стробирования последнего такта в ВФКУ восходящего канала связи. Такой шаблон стробирования имеет высокую эффективность при оценке канала, поскольку базовая станция может осуществлять оценку канала с использованием пилот-символов из последнего такта кадра. Кроме того, существует возможность увеличения времени, требуемого для обработки базовой станцией битов УОС, переданных из подвижной станции.
На фиг.12Д показана передача со стробированием для ВФКУ нисходящего канала связи и ВФКУ восходящего канала связи согласно восьмому варианту осуществления настоящего изобретения. Показан шаблон стробирования, обеспечивающий передачу сообщения по нисходящему каналу связи при передаче со стробированием в режиме ОНКР.
Со ссылкой на фиг.12Д, в течение того промежутка времени кадра, в течение которого осуществляют передачу сообщения по нисходящему каналу связи (то есть, периода времени передачи по ВФКПД нисходящего канала связи), передачу со стробированием пилот-сигнала и УСТФ прекращают, и продолжают передачу со стробированием только УМП согласно шаблону стробирования. Как показано на фиг.12Д, для того промежутка времени кадра, в течение которого осуществляют передачу сообщения по восходящему каналу связи (то есть, периода времени передачи по ВФКПД восходящего канала связи), также существует возможность прекратить стробирование пилот-сигнала и УСТФ, и осуществлять непрерывное стробирование УОС и УМП согласно шаблону стробирования.
При осуществлении системой мобильной связи функции передачи со стробированием согласно настоящему изобретению необходимо обеспечить возможность управления мощностью передачи данных ВФКУ даже в состоянии передачи со стробированием. Здесь будет приведено описание операции, при выполнении которой подвижная станция и базовая станция осуществляют генерацию и передачу бит УМП путем измерения сигнала, принятого от противоположной стороны во время передачи со стробированием, и управление мощностью передачи данных с использованием принятого бита УМП.
Стробирование данных ВФКУ начинают и заканчивают в моменты времени, указанные посредством верхнего уровня системы. В режиме передачи со стробированием базовая станция и подвижная станция функционируют различным образом в соответствии с тем, существует ли ВФКПД в ВФК (в выделенном физическом канале) (DPCH), предназначенном для передачи. В том случае, когда ВФК не содержит в себе ВФКПД, контроллер передачи со стробированием с передающей стороны путем управления данными ВФКУ разрешает передачу данных выбранного такта из соответствующей группы стробирующих тактов и отсекает данные других тактов. При этом способ определения позиции стробирования тактов в единичном элементе, представляющем собой группу стробирующих тактов, может быть реализован согласно заранее заданному шаблону стробирования, или же позиция стробирования тактов может быть также задана в виде шаблона стробирования, имеющего нерегулярную структуру, с использованием СНК или НСК согласно приведенному выше описанию. В противном случае, при существовании данных ВФКПД в ВФК передатчик осуществляет передачу (или пропускание) каждого временного такта. Однако в качестве достоверного такта с точки зрения управления мощностью принимающая сторона распознает только тот такт из всех тактов принятого кадра, который расположен в выбранной позиции стробирования. Такая передача со стробированием может быть использована либо только для нисходящего канала связи между базовой станцией и подвижной станцией, либо для обоих каналов связи: восходящего канала связи и нисходящего канала связи. Управление мощностью осуществляют различным образом для случая, в котором передачу со стробированием используют только для нисходящего канала связи, и для случая, в котором передачу со стробированием применяют для обоих каналов связи: восходящего канала связи и нисходящего канала связи.
Процедура управления мощностью восходящего канала связи содержит в себе первый способ, в котором базовая станция осуществляет генерацию бита УМП (управления мощностью передачи) путем измерения качества связи в восходящем канале связи, и второй способ, в котором подвижная станция осуществляет управление своей мощностью передачи согласно биту УМП, переданному из базовой станции по нисходящему каналу связи. Процедура управления мощностью нисходящего канала связи содержит в себе первый способ, в котором подвижная станция осуществляет генерацию бита УМП путем измерения качества связи в нисходящем канале связи, и второй способ, в котором базовая станция осуществляет управление своей мощностью передачи согласно биту УМП, переданному из подвижной станции по восходящему каналу связи. При описании способа управления мощностью при передаче со стробированием, описание момента времени, в который осуществляют генерацию бита УМП и его передачу, и момента времени, в который осуществляют управление мощностью передачи с использованием принятого бита УМП, будет приведено раздельно по отношению к базовой станции и к подвижной станции.
Сначала приведено описание операции управления мощностью для того случая, в котором операцию передачи со стробированием выполняют для обоих каналов связи: восходящего канала связи и нисходящего канала связи.
Поскольку при осуществлении операции передачи со стробированием в восходящем канале связи и в нисходящем канале связи такты, передача которых может быть произведена базовой станцией и подвижной станцией, существуют в виде шаблона, имеющего нерегулярную структуру, то управление мощностью следует выполнять с учетом наличия шаблона с нерегулярной структурой. На фиг.17А и 17Б показана временная зависимость процедуры управления мощностью при осуществлении передачи со стробированием в обоих каналах связи: в восходящем канале связи и в нисходящем канале связи.
Управление мощностью передачи в восходящем канале связи, осуществляемое подвижной станцией.
Подвижная станция извлекает биты УМП из действительного такта, принятого последним из базовой станции, то есть, из такта нисходящего канала связи, передача которого разрешена при стробировании, и осуществляет управление мощностью передачи своих данных ВФКУ в соответствии со значением битов УМП. При этом поскольку в соответствии с типом шаблона стробирования, имеющего нерегулярную структуру, действительный такт нисходящего канала связи может отличаться от действительного такта восходящего канала связи, то подвижная станция производит запоминание принятых действительных битов УМП, а затем при наличии такта, предназначенного для передачи, осуществляет его передачу согласно запомненным битам УМП.
Генерация и передача бита УМП для управления мощностью в нисходящем канале связи
Подвижная станция осуществляет генерацию бита УМП путем измерения качества связи в нисходящем канале связи в течение действительного (или разрешенного для передачи при стробировании) такта нисходящего канала связи. Перед передачей полученный в результате генерации бит УМП сохраняют до тех пор, пока не будет осуществлена передача действительного такта по восходящему каналу связи.
Управление мощностью передачи в нисходящем канале связи, осуществляемое базовой станцией
Базовая станция извлекает биты УМП из действительного такта, принятого последним из подвижной станции, то есть, из такта восходящего канала связи, передача которого разрешена при стробировании, и осуществляет управление мощностью передачи своего сигнала согласно значению битов УМП. При этом поскольку в соответствии с типом шаблона стробирования, имеющего нерегулярную структуру, действительный такт восходящего канала связи может отличаться от действительного такта нисходящего канала связи, то подвижная станция производит запоминание принятых действительных битов УМП, а затем при наличии такта, предназначенного для передачи, осуществляет его передачу согласно запомненным битам УМП.
Генерация и передача бита УМП для управления мощностью в восходящем канале связи
Базовая станция осуществляет генерацию бита УМП путем измерения качества связи в восходящем канале связи в течение действительного (или разрешенного для передачи при стробировании) такта в восходящем канале связи. Перед передачей полученный в результате генерации бит УМП сохраняют до тех пор, пока не будет осуществлена передача действительного такта по нисходящему каналу связи.
Ниже приведено описание операции управления мощностью в системе мобильной связи, имеющей функцию передачи со стробированием, для того случая, в котором операцию передачи со стробированием выполняют только для нисходящего канала связи.
В том случае, когда в системе мобильной связи передачу со стробированием применяют только в нисходящем канале связи, подвижная станция осуществляет непрерывную передачу данных ВФКУ, а базовая станция осуществляет передачу только данных такта из единичного элемента, представляющего собой группу стробирующих тактов, в выбранной позиции стробирования.
Поскольку такты, предназначенные для передачи, имеют вид шаблона с нерегулярной структурой, то, следовательно, в базовой станции должен быть реализован способ управления мощностью, отличающийся от способа управления мощностью для того варианта, в котором передачу со стробированием выполняют и базовая станция, и подвижная станция. На фиг.18А и 18Б показана временная зависимость процедуры управления мощностью для случая, в котором передачу со стробированием выполняют только в нисходящем канале связи.
Управление мощностью передачи в восходящем канале связи, осуществляемое подвижной станцией.
Подвижная станция извлекает биты УМП из действительного такта, принятого последним из базовой станции, то есть из такта нисходящего канала связи, позиция стробирования которого выбрана из единичного элемента, представляющего собой группу стробирующих тактов, и осуществляет управление мощностью передачи своего сигнала согласно значению битов УМП. При этом поскольку в соответствии с типом шаблона стробирования, имеющего нерегулярную структуру, действительный такт нисходящего канала связи может отличаться от действительного такта восходящего канала связи, то подвижная станция производит запоминание принятых действительных битов УМП, а затем при наличии такта, предназначенного для передачи, осуществляет его передачу согласно запомненным битам УМП.
Генерация и передача бита УМП для управления мощностью в нисходящем канале связи
Подвижная станция осуществляет генерацию бита УМП путем измерения качества связи в нисходящем канале связи в течение действительного такта нисходящего канала связи. Подвижная станция немедленно передает полученный в результате генерации бит УМП в базовую станцию и выполняет многократную передачу бита УМП до тех пор, пока не будет осуществлена генерация нового бита УМП. Причина выполнения многократной передачи бита УМП заключается в обеспечении приема базовой станцией, по меньшей мере, одного бита УМП до того такта, в котором базовая станция может осуществлять передачу по нисходящему каналу связи, и в обеспечении возможности уменьшения частоты появления ошибок УМП за счет повторной передачи.
Управление мощностью передачи в нисходящем канале связи, осуществляемое базовой станцией
Базовая станция извлекает биты УМП, принятые из подвижной станции, и осуществляет управление мощностью передачи своего сигнала согласно значению битов УМП. При этом базовая станция может производить извлечение битов УМП с использованием, по меньшей мере, одного бита УМП, многократно передаваемого подвижной станцией.
Как описано выше, в варианте осуществления настоящего изобретения существует возможность управления мощностью передачи базовой станции и подвижной станции не только в том случае, в котором осуществляют стробирование сигнала ВФКУ восходящего канала связи, а стробирование сигнала ВФКУ нисходящего канала связи не производят, или же в случае, в котором осуществляют стробирование сигнала ВФКУ нисходящего канала связи, а стробирование сигнала ВФКУ восходящего канала связи не производят, но также и в случае стробирования данных ВФКУ как в восходящем канале связи, так и в нисходящем канале связи.
Как описано выше, изобретение может обеспечивать увеличение пропускной способности системы за счет минимизации времени, требуемого для процесса повторного установления синхронизации базовой станцией, уменьшения уровня помех вследствие прерывистой передачи ВФКУ восходящего канала связи, увеличения срока службы аккумулятора подвижной станции и уменьшения уровня помех посредством передачи битов УМП для восходящего канала связи.
Несмотря на то, что раскрытие и описание изобретения было приведено со ссылкой на определенные предпочтительные варианты его осуществления, для специалистов в данной области техники понятно, что могут быть выполнены различные изменения, касающиеся его формы и отдельных подробностей, не выходя за пределы существа и объема изобретения, определяемых формулой изобретения.
Формула изобретения
1. Способ передачи управляющих данных, включающих в себя биты указателя совокупности транспортных форматов (УСТФ, TFCI), управления мощностью передачи (УМП, ТРС) и пилот-символы, в нисходящем канале связи для системы мобильной связи, осуществляемый в базовой станции, который содержит следующие этапы: определяют, имеются ли в базовой станции данные информационного обмена, предназначенные для передачи по нисходящему каналу связи и по восходящему каналу связи, приводят в действие устройство выбора случайной позиции для задания случайной позиции стробирующегося такта в том случае, если в течение заранее заданного промежутка времени отсутствуют какие-либо данные информационного обмена, при стробировании осуществляют передачу управляющих данных, находящихся в стробирующемся такте с заданной позицией, и при стробировании отсекают управляющие данные, расположенные в других позициях такта, при этом кадр передачи включает в себя множество тактов, такт в каждом кадре разделяется на множество групп стробирующихся тактов.
2. Способ по п.1, в котором данные канала содержат последовательности кадров, причем каждый кадр включает в себя множество тактов, такты в каждом кадре разделены на множество групп стробирующихся тактов, а каждая группа стробирующихся тактов имеет стробирующийся такт с заданной позицией.
3. Способ по п.2, в котором кадр содержит 15 тактов, группа тактов содержит в себе 5 тактов, а заданной позицией такта является такая позиция такта, которая выбрана случайным образом из тактов, содержащихся в группе тактов.
4. Способ по п.2, в котором кадр содержит в себе 15 тактов, а каждая группа стробирующихся тактов содержит в себе 3 такта.
5. Способ по п.2, в котором устройство выбора случайной позиции задает позицию стробирующегося такта посредством следующих этапов: вычисляют значение ‘х’ путем умножения системного номера кадра (СНК) непосредственно перед его передачей на конкретное целое число, осуществляют выбор N бит, причем выбор указанных N бит начинают с позиции, которая отстоит от точки начала кода скремблирования предыдущей группы стробирующихся тактов на ‘х’ элементов кода, и задают позицию стробирующегося такта для каждой группы стробирующихся тактов посредством выполнения для выбранных n бит операции пересчета по модулю, причем указанную операцию пересчета по модулю выполняют по модулю, равному количеству тактов в группе стробирующихся тактов.
6. Способ по п.2, в котором устройство выбора случайной позиции задает позицию стробирующегося такта с использованием приведенного ниже уравнения

где G – номер группы стробирующихся тактов;
S – код скремблирования;
Gпред – номер предыдущей группы стробирующихся тактов;
Сi – номер связывающего кадра (НСК) i-того кадра, представленного в двоичном коде , где означает j-ю двоичную цифру;
К – величина смещения, добавляемого во входную последовательность;
Т – величина, обратная частоте стробирования.
7. Способ по п.2, в котором устройство выбора случайной позиции задает позицию стробирующегося такта с использованием приведенного ниже уравнения для каждой группы, за исключением первой группы стробирующихся тактов и последней группы стробирующихся тактов:

где Aj – последовательность, полученная путем сдвига фиксированной последовательности А на j бит;
Ci – последовательность, полученная путем повторения номера связывающего кадра (НСК);
SG – количество тактов в одной группе стробирующихся тактов;
NG – количество групп стробирующихся тактов в одном кадре.
8. Способ по п.7, в котором дополнительно устройство выбора случайной позиции задает позицию стробирующегося такта в первой группе стробирующихся тактов, за исключением первого такта.
9. Способ по п.8, в котором дополнительно устройство выбора случайной позиции задает позицию стробирующегося такта в последней группе стробирующихся тактов таким образом, чтобы им являлся последний такт.
10. Способ по п.2, в котором передаваемые в результате стробирования управляющие данные содержат в себе пилот-символ и бит УМП (управления мощностью передачи).
11. Способ по п.2, в котором передаваемые в результате стробирования управляющие данные содержат в себе бит УМП (управления мощностью передачи), находящийся в стробирующемся такте с заданной позицией, и пилот-символ, находящийся в такте, расположенном перед стробирующимся тактом с заданной позицией.
12. Способ по п.1, в котором в случае отсутствия каких-либо данных в канале информационного обмена нисходящего канала связи и восходящего канала связи в течение заранее заданного промежутка времени базовая станция осуществляет передачу информации о стробировании, которая включает в себя время начала стробирования и частоту стробирования.
13. Способ передачи управляющих данных, включающих в себя биты указателя совокупности транспортных форматов (УСТФ, TFCI), управления мощностью передачи (УМП, ТРС) и пилот-символы, в восходящем канале связи для системы мобильной связи, осуществляемый в подвижной станции, который содержит следующие этапы: определяют, имеются ли в подвижной станции данные информационного обмена, предназначенные для передачи по восходящему каналу связи в базовую станцию, осуществляют передачу в базовую станцию запроса на выполнение стробирования управляющих данных восходящего канала связи в том случае, если в течение заранее заданного промежутка времени отсутствуют какие-либо данные, предназначенные для передачи по восходящему каналу передачи данных, приводят в действие устройство выбора случайной позиции, для задания случайной позиции стробирующегося такта при приеме подвижной станцией информации о стробировании, содержащей в себе время начала стробирования и частоту стробирования, поступающей из базовой станции, при стробировании осуществляют передачу управляющих данных, находящихся в стробирующемся такте с заданной позицией, и при стробировании отсекают управляющие данные, находящиеся в других позициях такта, при этом кадр передачи включает в себя множество тактов, такт в каждом кадре разделяется на множество групп стрбирующихся тактов.
14. Способ стробирования данных с использованием множества тактов i-того кадра из потока кадров, в котором каждый кадр содержит в себе множество тактов, а такты в каждом кадре разделены на множество групп стробирующихся тактов, причем каждая группа стробирующихся тактов включает в себя множество тактов, а способ содержит этап: осуществляют передачу данных в позиции такта, заданной посредством приведенных ниже Уравнений (1)-(3):

где j – номер группы стробирующихся тактов в i-том кадре;
Сi – последовательность, полученная путем повторения номера i-го связывающего кадра (НСК);
Aj – последовательность, соответствующая j-той группе стробирующихся тактов, причем указанную последовательность получают путем сдвига заданной последовательности на j бит;
SG – количество тактов в одной группе стробирующихся тактов;
NG – количество групп стробирующихся тактов в одном кадре.
15. Способ стробирования данных с использованием множества тактов i-того кадра из потока кадров, в котором каждый кадр содержит в себе множество тактов, а такты в каждом кадре разделены на множество групп стробирующихся тактов, причем каждая группа стробирующихся тактов содержит в себе множество тактов, а способ содержит следующие этапы: задают позиции стробирующихся тактов из групп стробирующихся тактов с использованием приведенной ниже формулы задания позиции стробирующегося такта:

где s(i, j) – позиция такта в j-той группе стробирующихся тактов i-того кадра;
j – номер группы стробирующихся тактов в i-том кадре;
Ci – последовательность, полученная путем повторения номера i-го связывающего кадра (НСК);
Aj – последовательность, соответствующая j-той группе стробирующихся тактов, причем указанную последовательность получают путем сдвига заданной последовательности на j бит;
при стробировании осуществляют передачу бита УМП, находящегося в стробирующемся такте, с заданной позицией, и
при стробировании отсекают биты УМП, находящиеся в других тактах.
16. Способ по п.15, в котором этап передачи при стробировании содержит следующие этапы: при стробировании осуществляют передачу бита УМП из стробирующегося такта, имеющего заданную позицию, и при стробировании осуществляют передачу пилот-символа в такте, который расположен перед стробирующимся тактом, имеющим заданную позицию.
17. Способ по п.15, в котором операция задания позиции стробирующегося такта дополнительно содержит следующий этап: задают позицию стробирующегося такта в первой группе стробирующихся тактов i-того кадра посредством следующей формулы:

18. Способ по п.15, в котором этап задания позиции стробирующегося такта дополнительно содержит следующий этап: задают позицию стробирующегося такта в последней группе стробирующихся тактов i-того кадра в качестве последнего такта.
19. Способ передачи в системе мобильной связи, осуществляемый посредством передачи со стробированием данных выделенного физического канала управления (ВФКУ) по восходящей линии связи, представляющих собой последовательности кадров, причем кадр содержит в себе множество тактов, а способ содержит следующие этапы: осуществляют прием поступающей из базовой станции информации о стробировании, в которой указаны время начала стробирования и частота стробирования, в течение заранее заданного промежутка времени осуществляют передачу сигнала такта ВФКУ по случайному шаблону, причем случайный шаблон представляет собой стробирующийся такт, случайным образом выбранный среди тактов передачи.
20. Способ по п.19, в котором формирование случайного шаблона осуществляют путем задания позиции передаваемого при стробировании такта с использованием следующего уравнения:

где j – номер группы стробирующихся тактов в i-том кадре;
Ci – последовательность, полученная путем повторения номера i-го кадра;
Aj – последовательность, полученная путем сдвига заданной последовательности на j бит;
SG – количество тактов в одной группе стробирующихся тактов;
NG – количество групп стробирующихся тактов в одном кадре.
21. Передатчик базовой станции в системе мобильной связи, в которой данные канала информационного обмена и данные выделенного физического канала управления (ВФКУ) содержат последовательности кадров, а каждый кадр состоит из множества тактов, содержащий устройство выбора позиции стробирования, посредством которого при отсутствии в течение заранее заданного промежутка времени каких-либо данных, предназначенных для передачи по каналу информационного обмена, задают позицию стробирующегося такта, посредством которого подразделяют такты в каждом кадре на множество групп стробирующихся тактов, причем позиция стробирующегося такта в каждой из указанных групп стробирующихся тактов является случайной; контроллер передачи со стробированием, посредством которого осуществляют управление тактом ВФКУ, соответствующим выбранной позиции стробирующегося такта.
22. Передатчик базовой станции по п.21, в котором устройство выбора позиции стробирования задает позицию стробирующегося такта посредством приведенных ниже формул (1)-(3):

где j – номер группы стробирующихся тактов в i-том кадре;
Ci – последовательность, полученная путем повторения номера i-го кадра (НСК=i);
Aj – последовательность, соответствующая j-той группе стробирующихся тактов, причем указанную последовательность получают путем сдвига заданной последовательности на j бит;
SG – количество тактов в одной группе стробирующихся тактов;
NG – количество групп стробирующихся тактов в одном кадре.
23. Передатчик базовой станции по п.21, в котором устройство выбора позиции стробирования задает позицию стробирующегося такта посредством приведенной ниже формулы:

где s(i, j) – позиция такта в j-той группе стробирующихся тактов i-того кадра;
j – номер группы стробирующихся тактов в i-том кадре;
Ci – последовательность, полученная путем повторения номера i-го кадра; и
Aj – последовательность, соответствующая j-той группе стробирующихся тактов, причем указанную последовательность получают путем сдвига заданной последовательности на j бит.
24. Передатчик базовой станции по п.21, в котором устройство выбора позиции стробирования задает позицию стробирующегося такта посредством приведенной ниже формулы:

где s(i, j) – позиция такта в j-той группе стробирующихся тактов i-того кадра;
j – номер группы стробирующихся тактов в i-том кадре;
Ci – последовательность, полученная путем повторения номера i-го кадра;
Aj – последовательность, соответствующая j-той группе стробирующихся тактов, причем указанную последовательность получают путем сдвига заданной последовательности на j бит.
25. Передатчик базовой станции по п.21, в котором устройство выбора позиции стробирования задает позицию стробирующегося такта посредством приведенной ниже формулы:

где s(i, j) – позиция такта в j-той группе стробирующихся тактов i-того кадра;
j – номер группы стробирующихся тактов в i-том кадре;
Ci – последовательность, полученная путем повторения номера i-го кадра.
26. Передатчик базовой станции по п.22, в котором контроллер передачи со стробированием при стробировании осуществляет передачу пилот-символа, находящегося в такте, который расположен перед заданным стробирующимся тактом, а также передачу, по меньшей мере, одного бита управления мощностью передачи (УМП) и, по меньшей мере, одного бита указателя совокупности транспортных форматов (УСТФ), находящихся в заданном стробирующемся такте.
27. Передатчик подвижной станции в системе мобильной связи, в которой данные канала информационного обмена и данные выделенного физического канала управления (ВФКУ) состоят из последовательности кадров, а каждый кадр состоит из множества тактов, содержащий устройство выбора позиции стробирующегося такта, посредством которого при получении подвижной станцией информации о стробировании, включающей в себя время начала стробирования и частоту стробирования, которая поступает из базовой станции, задают позицию стробирующегося такта и осуществляют подразделение тактов в каждом кадре на множество групп стробирующихся тактов, причем в каждой из указанных групп стробирующихся тактов имеется позиция стробирующегося такта; контроллер передачи со стробированием, посредством которого при стробировании осуществляют передачу сигнала в стробирующемся такте, имеющем заданную позицию, и отсекают другой сигнал такта в группе стробирующихся тактов.
28. Передатчик, выполняющий стробирование данных множества тактов i-того кадра из последовательности кадров, в котором каждый кадр состоит из множества тактов, а такты в каждом кадре подразделены на множество групп стробирующихся тактов, причем каждая группа стробирующихся тактов включает в себя множества тактов, а передатчик содержит первое устройство памяти, посредством которого осуществляют сохранение последовательности Ci, причем указанная последовательность получена путем повторения номера i-го кадра;
второе устройство памяти, посредством которого осуществляют сохранение последовательности Aj, соответствующей j-той группе стробирующихся тактов, причем указанную последовательность Aj получают с помощью последовательности, связанной с j-м стробирующимся тактом;
умножитель, посредством которого выполняют операцию “Исключающее ИЛИ” над последовательностями Ci и Aj; устройство выполнения операции пересчета по модулю для выполнения операции пересчета по модулю для сигнала, полученного на выходе умножителя, причем значение модуля в указанной операцию пересчета по модулю равно количеству тактов в группе стробирующихся тактов, в результате чего получают позицию стробирующегося такта в j-той группе стробирующихся тактов; контроллер передачи со стробированием, посредством которого при стробировании осуществляют передачу данных в стробирующемся такте, имеющем заданную позицию, и отсекают данные, находящиеся в других тактах из группы стробирующихся тактов.
29. Передатчик по п.28, в котором контроллер передачи со стробированием осуществляет передачу бита управления мощностью передачи (УМП) в стробирующемся такте, имеющем заданную позицию, и передачу пилот-символов такта, находящегося перед стробирующимся тактом, имеющим заданную позицию.
30. Передатчик по п.28, в котором устройство выполнения операции пересчета по модулю задает позицию стробирующегося такта в первой группе стробирующихся тактов таким образом, чтобы им не являлся первый такт.
31. Передатчик по п.28, в котором устройство выполнения операции пересчета по модулю задает позицию стробирующегося такта в последней группе стробирующихся тактов таким образом, чтобы им являлся последний такт.
РИСУНКИ
MM4A – Досрочное прекращение действия патента СССР или патента Российской Федерации на изобретение из-за неуплаты в установленный срок пошлины за поддержание патента в силе
Дата прекращения действия патента: 03.10.2009
Извещение опубликовано: 27.09.2010 БИ: 27/2010
|
|