|
|
(21), (22) Заявка: 2003118181/09, 16.06.2003
(24) Дата начала отсчета срока действия патента:
16.06.2003
(45) Опубликовано: 10.12.2004
(56) Список документов, цитированных в отчете о поиске:
RU 2202849 С1, 20.04.2003. RU 2000131085 А, 10.02.2003. SU 1790023 А1, 23.01.1993. ЕР 0425805 А1, 14.09.1990. DE 3916187 А1, 22.11.1990. КУЗНЕЦОВ Н.Г., АБРАМОВ О.Л., ХОРЬКОВ А.К. Турбогенератор скважинных инклинометрических систем герметичного исполнения на базе постоянных магнитов из редкоземельных металлов, НТЖ Автоматизация, телемеханизация и связь в нефтяной промышленности. – М.: ВНИИОЭНГ, 1997, вып.1. АБРАМОВ Г.С., АБРАМОВ О.Л., САРАЕВ А.Н. Новое поколение турбогенераторов для забойных телесистем, НТЖ Автоматизация, телемеханизация и связь в нефтяной промышленности. – М.: ВНИИОЭНГ, 2000, вып.4.
Адрес для переписки:
634034, г.Томск, пр. Ленина, 30, Томский политехнический университет, Отдел интеллектуальной и промышленной собственности
|
(72) Автор(ы):
Муравлев О.П. (RU), Леонов С.В. (RU), Каранкевич А.Г. (RU)
(73) Патентообладатель(и):
Томский политехнический университет (RU)
|
(54) СКВАЖИННЫЙ ЭЛЕКТРОМАШИННЫЙ ИСТОЧНИК ПИТАНИЯ ИНКЛИНОМЕТРИЧЕСКОЙ СИСТЕМЫ
(57) Реферат:
Изобретение относится к области электротехники, а именно к скважинным электрическим машинам с постоянными магнитами, и может найти применение для электропитания системы определения инклинометрических параметров и системы передачи данных в бурящихся скважинах. Изобретение позволяет повысить надежность работы и улучшить энергетические показатели, упростить конструкции и повысить технологичность изготовления источника. Сущность изобретения состоит в следующем. Скважинный электромашинный источник питания инклинометрической системы состоит из кожуха, в котором заключены гидротурбина и корпус с размещенным в нем электромашинным генератором. Основными узлами данного генератора являются статор, представляющий собой ярмо с шестью стержнями магнитопровода, на котором расположены катушки обмотки, и ротор с высококоэрцитивным многополюсным кольцевым постоянным магнитом. Между статором и ротором установлен осевой подшипник скольжения, который позволяет снизить механические вибрации, облегчить установку ротора и увеличить энергетические характеристики генератора. Технический результат – увеличение выходной мощности и надежности работы предлагаемого источника питания. 5 ил.

Изобретение относится к электротехнике, а именно к электрическим машинам с постоянными магнитами, и предназначено для электропитания системы определения инклинометрических параметров и системы передачи данных в бурящихся скважинах.
Известен скважинный синхронный генератор забойной инклинометрической системы ЗИС-4, представляющий собой электрическую машину переменного тока с радиальным магнитным потоком, ротор которой выполнен на основе постоянных магнитов. Ротор приводится в движение установленными на корпусе четырьмя ступенями турбин, которые вращаются под действием потока бурового раствора. На валу ротора находятся три шарикоподшипника, защищенные на выходе из корпуса торцевым уплотнителем. Статорная секция генератора закреплена неподвижно относительно корпуса и защищена от проворота посредством пазов и выступов в сердечнике. Выводы статорной обмотки подключены к разъему, через который осуществляется электрическое соединение обмоток генератора с электронным блоком скважинного прибора. По техническому условию ТУ 41-17-028-87 мощность синхронного генератора на активной нагрузке 6 Ом при частоте вращения ротора 1800 об/мин, составляет не менее 120 Вт (ТУ 41-17-028-87 Система забойная инклинометрическая ЗИС-4. Зарегистрировано БЦСМ №056/001128 от 31.03.87 г.).
Основным недостатком указанного скважинного генератора является низкая герметичность корпуса и как следствие попадание абразивных частиц и агрессивного в химическом отношении бурового раствора в область обмотки статора. Буровой раствор приводит к уменьшению омического сопротивления обмотки статора и к срыву передачи данных о местоположении низа буровой колонны. В результате возникает необходимость в подъеме буровой колонны на поверхность и проведении текущего ремонта или замены скважинного генератора. Вызванный тем самым простой оборудования приводит к значительному увеличению затрат на проведение буровых работ.
Недостатками данной конструкции являются: сложность и нетехнологичность изготовления магнитной муфты малого диаметра, что снижает надежность работы всего устройства в целом; ухудшение удельных энергетических показателей генератора вследствие проскальзывания магнитной муфты при увеличении нагрузки.
К недостаткам вышеописанного генератора относятся: большой воздушный зазор; сложность изготовления и сборки из-за возможности перекосов и касаний ротором поверхности статора; ненадежность подшипникового узла по причине больших механических нагрузок. Кроме того, возможно снижение энергетических характеристик генератора при утечке масла с ферромагнитным порошком.
Известен, выбранный в качестве прототипа, скважинный синхронный генератор, представляющий собой электрическую машину переменного тока с аксиальным магнитным потоком и с четырех-полюсным ротором из постоянных магнитов. Ротор приводится в движение гидротурбиной, которая вращается под действием потока бурового раствора. На валу ротора находятся два радиально-упорных шарикоподшипника. Статорная секция генератора имеет четыре зубца с расположенной на них обмоткой, которая герметично защищена от действия бурового раствора со стороны ротора немагнитной перегородкой. Выводы статорной обмотки подключены к разъему, через который осуществляется электрическое соединение катушек обмотки между собой с помощью коммутатора, схема соединений которого зависит от сопротивления нагрузки. Мощность скважинного генератора на активном сопротивлении 5 Ом при частоте вращения вала 1500 об/мин составляет порядка 100 Вт (Патент РФ №2202849 на изобретение “Скважинный электромашинный источник питания инклинометрической системы”, МПК Н 02 К 21/00, 5/132. БИ №11-2003).
Недостатки данного генератора – это неэффективное исполнение полюсной системы вследствие неполного заполнения активного объема ротора материалом постоянных магнитов, использование радиально-упорных подшипников, установленных на валу ротора, что ограничивает срок службы электрической машины, кроме того, имеются технологические трудности при сборке такой конструкции из-за возможных перекосов и касаний ротором статора. К недостаткам прототипа можно отнести значительные проявления зубцового эффекта, обусловленные построением магнитной системы 2р=z и малым количеством полюсов.
Задача предполагаемого изобретения – повышение надежности работы и увеличение энергетических показателей скважинного генератора, упрощение конструкции и повышение технологичности изготовления всего устройства в целом при условии сохранения герметичности конструкции скважинного генератора.
Поставленная задача достигается тем, что скважинный электромашинный источник питания инклинометрической системы содержит герметичный корпус с расположенным в нем синхронным электромашинным генератором с приводом от гидротурбины. Генератор состоит из статора, представляющего собой ярмо со стержнями магнитопровода, на которых размещены катушки обмотки и ротора с высокоэрцитивным постоянным магнитом. Ротор генератора выполнен с многополюсным постоянным кольцевым магнитом. Статор генератора содержит шесть стержней магнитопровода. Между статором и ротором установлен осевой подшипник скольжения.
Предложенная конструкция скважинного электромашинного источника питания инклинометрической системы имеет ряд преимуществ перед прототипом.
Возрастает магнитный поток ротора за счет использования многополюсного постоянного кольцевого магнита и уменьшения воздушного зазора и тем самым увеличена выходная мощность скважинного генератора. За счет соотношения количества зубцов статора и полюсов ротора как 6:4 значительно уменьшен зубцовый эффект. Увеличена надежность конструкции за счет замены двух радиально-упорных подшипников на один подшипник качения и один осевой подшипник, установленный между статором и ротором.
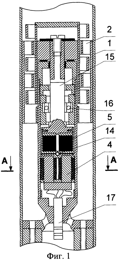
Устройство поясняется фиг.1, где показана конструкция скважинного электромашинного источника питания инклинометрической системы.
На фиг.2 приведено сечение (по А-А) скважинного электромашинного источника питания инклинометрической системы.
На фиг.3, 4 приведен синхронный генератор, расположенный в скважинном электромашинном источнике питания.
На фиг.5 пояснена конструкция немагнитной перегородки.
Скважинный электромашинный источник питания инклинометрической системы (фиг.1) имеет кожух генератора 1, гидротурбину 2 и корпус 3 (фиг.2), который содержит статор 4 и ротор 5 с высокоэрцитивным многополюсным постоянным магнитом 6 (фиг.3, 4). Статор 4 (фиг.1) составляет ярмо 7 (фиг.3) и шесть стержней магнитопровода 8 (фиг 2), на которых расположены катушки обмотки 9. Стержни магнитопровода 8 статора 4 находятся в перегородке 10 (фиг.5) с одной стороны, с другой стороны установлен каркас 11 (фиг.3). Намагниченный аксиально высококоэрцитивный многополюсный постоянный магнит 6 (фиг.3, 4) имеет проточки для установки между немагнитной арматурой ярма 12 и надежно прижимается обечайкой 13 (фиг.3). Данное соотношение числа полюсов и стержней статора позволяет практически исключить зубцовый эффект и снизить момент сопротивления для бурового раствора, а следовательно, и уменьшить износ гидротурбины 2. Перегородка 10 (фиг.3) и обечайка 13 (фиг.3) имеют полукруглую проточку для установки между статором 4 и ротором 5 осевого подшипника 14 (фиг.3). Подшипник 14 позволяет избавиться от радиально-упорных подшипников, облегчить установку ротора, снизить механические вибрации и уменьшить воздушный зазор между статором и ротором, тем самым, увеличить энергетические характеристики генератора. Ярмо 12 ротора 5 образуется торцевой частью вала 15 (фиг.1), на котором консольно расположен подшипник 16. Катушки обмотки 9 подключены к герметичному разъему 17 (фиг.1). Детали 10 и 11 выполняются из немагнитного материала. Максимальное заполнение активной зоны ротора магнитом позволяет увеличить магнитный поток и, соответственно, увеличить энергетические показатели скважинного генератора. Из немагнитного материала выполняется арматура 18, служащая для крепления магнита 6 к ярму ротора 12.
Устройство работает следующим образом. К валу 15 прикладывается вращающий момент от гидротурбины 2, и он начинает вращаться вместе с ротором 5. Магнитный поток, пересекая воздушный зазор и герметичную перегородку 10, проходит по стержням 8 и замыкается по ярму 7 статора 4, создавая ЭДС в катушках обмотки 9, а на выходах разъема 17 необходимое напряжение.
Мощность скважинного генератора определяется величиной магнитного потока в воздушном зазоре

где Фм – магнитный поток магнита, Вб;
Фs – магнитный поток рассеяния магнита, Вб.
В свою очередь, магнитный поток магнита определяется выражением

где Вr – остаточная индукция магнита, Тл;
Sp – площадь основания магнита, м2.
Поток рассеяния магнита находится следующим образом:

где м – магнитная проводимость магнита;
ср – магнитная проводимость рассеяния полюсной системы.
Максимальное заполнение активной зоны ротора магнитами и уменьшение воздушного зазора позволяет увеличить магнитный поток в воздушном зазоре и выходную мощность в 1,5 раза по сравнению с прототипом.
Для трехфазного генератора предлагаемой конструкции (число полюсов 2р=4; число пазов статора z=6; число катушек обмотки s=6; число проводников в пазу иП7=130; диаметр машины DП=60; частота вращения ротора w=1500; род тока переменный) при смешанном соединении катушек обмотки 9 значение максимальной мощности составляет 150 Вт при сопротивлении нагрузки RH=1,5 Ом.
Формула изобретения
Скважинный электромашинный источник питания инклинометрической системы, содержащий герметичный корпус с расположенным в нем синхронным электромашинным генератором с приводом от гидротурбины, состоящим из статора, представляющим собой ярмо со стержнями магнитопровода, на которых размещены катушки обмотки, и ротора с высококоэрцитивным постоянным магнитом, отличающийся тем, что ротор генератора выполнен с многополюсным кольцевым магнитом, статор генератора содержит шесть стержней магнитопровода, а между статором и ротором установлен осевой подшипник скольжения.
РИСУНКИ
MM4A – Досрочное прекращение действия патента СССР или патента Российской Федерации на изобретение из-за неуплаты в установленный срок пошлины за поддержание патента в силе
Дата прекращения действия патента: 17.06.2005
Извещение опубликовано: 20.02.2007 БИ: 05/2007
|
|