|
|
(21), (22) Заявка: 2001135403/14, 28.12.2001
(24) Дата начала отсчета срока действия патента:
28.12.2001
(43) Дата публикации заявки: 27.09.2003
(45) Опубликовано: 10.12.2004
(56) Список документов, цитированных в отчете о поиске:
UA 20878 А, 12.07.1998. RU 2046608 С1, 27.10.1995. RU 2152808 С1, 20.07.2000. RU 2199294 С2, 10.09.2002.
Адрес для переписки:
127018, Москва, 3-й пр-д Марьиной рощи, 40, ГП “НПО “ТЕХНОМАШ”, отд. 803, пат.пов. А.В.Корнилову
|
(72) Автор(ы):
Ступко Алексей Иванович (UA), Крыжановский Евгений Михайлович (UA)
(73) Патентообладатель(и):
Ступко Алексей Иванович (UA), Крыжановский Евгений Михайлович (UA), Закрытое акционерное общество “СКАЙ ЛТД” (RU)
|
(54) ФИЗИОТЕРАПЕВТИЧЕСКОЕ УСТРОЙСТВО, ТИПА КАТЕТЕРА, ДЛЯ ЛЕЧЕНИЯ ХРОНИЧЕСКИХ УРЕТРИТА И ПРОСТАТИТА
(57) Реферат:
Изобретение касается медицинской техники, а именно физиотерапевтических устройств, и может быть использовано для лечения хронических уретрита и простатита. Физиотерапевтическое устройство содержит трубчатый корпус с нагревателем, датчиком термометра и герметично установленной на одном его конце соединительной колодкой, рабочую головку, электрод, элемент подачи лекарственного раствора и перфорированный кожух, причем второй конец трубчатого корпуса вставлен в выполненную из гибкого материала трубку, свободный конец которой закрыт пробкой. При этом полость трубки содержит проволочный датчик термометра, на который намотан проволочный нагреватель, и заполнена теплопроводной пастой, на трубку намотан электрод, корпус вместе с трубкой вставлены через держатель и втулку в перфорированный кожух, который выполнен гибким, при этом к полости между трубкой и перфорированным кожухом подведен элемент подачи лекарственного раствора, а датчик термометра и электрод связаны с соединительной колодкой. Использование изобретения позволяет повысить безболезненность процедуры, лечебную эффективность и ускорить сроки лечения за счет использования гибких элементов в конструкции. 1 ил.

Изобретение относится к медицинской технике, а именно к физиотерапевтическим устройствам, и может быть использовано для лечения хронических уретрита и простатита.
Известно устройство для физиотерапии хронического простатита, выполненное в виде ректального зонда, при помощи которого проводится электрофорез одновременно с индуктометрией (1), а также устройство, которое объединяет уретральный и ректальный зонды, которые подключены к системе управления и питания, которые осуществляют электростимуляцию простаты во время проведения фонофореза (2).
Известны попытки использовать локальную гипертермию в комплексном лечении уретропростатита (3, 4, 5).
Недостатком указанных устройств является то, что одновременно с гипертермией, которая обеспечивает активизацию биохимических процессов, не используется электрофорез лекарственных препаратов, электростимуляция, вибромассаж, отсасывание и эвакуация выделенного из простаты застойного секрета, а основным недостатком всех известных устройств есть то, что они являются жесткими и при введении их в уретру неудобными и болезненными.
Наиболее близким к заявляемому является устройство для лечения внутренних воспалительных процессов (6), содержащее трубчатый корпус с рабочей головкой, внутри корпуса размещены нагреватель и датчик термометра для контроля и стабилизации температуры устройства, а сверху на корпусе – гигроскопическая прокладка, насыщенная лекарственным раствором, который подается при помощи шприца, вставленного в отверстие ограничительного упора, а также содержит общий электровывод в виде электрического соединителя, при помощи которого устройство подсоединяется к управляющему прибору. На корпус надет кожух со сквозными отверстиями и закреплен фиксирующим винтом. Устройство при помощи хвостовика имеет возможность подсоединения к электровибратору.
В результате анализа известного устройства установлено, что данное устройство пригодно для ректального применения и может обеспечить и гипертермию, введение лекарственных растворов и на их фоне электрофорез, электростимуляцию и вибромассаж, но оно не может быть примененным для лечения уретрита полностью. Конструкция и форма устройства неудобна в пользовании, потому что уретра имеет кривизну и при введении его в уретру пациента последний ощущает боль, а также с его помощью нельзя осуществлять эвакуацию секрета простаты.
В основе изобретения реализована задача, путем изменения конструкции физиотерапевтического устройства, на фоне дозированной локальной гипертермии и лечебных физиотерапевтических форм, осуществить одновременное лечение хронических уретрита и простатита, а также сделать его удобным в использовании, а процедуру безболезненной при введении в уретру, что, в свою очередь, повысит лечебную эффективность, ускорит сроки лечения и ограничит использование лекарственных препаратов.
Поставленная задача достигается тем, что в физиотерапевтическом устройстве, содержащем трубчатый корпус с нагревателем, датчиком термометра и герметично установленной на одном его конце соединительной колодкой, рабочую головку, электрод, элемент подачи лекарственного раствора и перфорированный кожух, новым является то, что второй конец трубчатого корпуса вставлен в выполненную из гибкого материала трубку, свободный конец которой закрыт пробкой, при этом полость трубки содержит проволочный датчик термометра, на который намотан проволочный нагреватель, и заполнена теплопроводной пастой, на трубку намотан электрод, корпус вместе с трубкой вставлены через держатель и втулку в перфорированный кожух, который выполнен гибким, при этом к полости между трубкой и перфорированным кожухом подведен элемент подачи лекарственного раствора, а датчик термометра и электрод связаны с соединительной колодкой.
В заявляемом устройстве, благодаря наличию гибких элементов, из которых состоит устройство, позволяет сделать его тонким (диаметром не более 6 мм) и гибким, что обеспечивает безболезненное и атравматичное прохождение его через кривизну уретрального канала. Кроме этого, в отличие от прототипа, заявляемое устройство позволяет осуществлять эвакуацию секрета простаты.
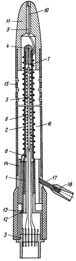
Сущность изобретения поясняется чертежом, на котором изображено устройство в разрезе.
Физиотерапевтическое устройство, типа катетера, для лечения хронических уретрита и простатита состоит из трубчатого корпуса 1. На одном конце которого герметично установлена соединительная колодка. Второй конец корпуса вставлен в вставлен в трубку 2, выполненную из гибкого материала (силикон) и приклеен к ней водокислотостойким клеем. Соединительная колодка обозначена позицией 3. Свободный конец трубки 2 закрыт пробкой 4. В полости трубки размещен проволочный датчик 5 термометра, на который намотан проволочный нагреватель 6, а полость 7 трубки 2 заполнена теплопроводной пастой. Нагреватель 6 и датчик 5 термометра связаны с соединительной колодкой 3 проводами 8. На трубку 2 с шагом 5 мм намотан электрофорезный и электростимулирующий уретральный электрод 9. Конец его пропущен через отверстие 10 рабочей головки 11 и соединен через отверстие 12 с колодкой 3 проводом. Корпус 1 вместе с трубкой 2, датчиком 5 термометра, нагревателем 6 и электродом 9 вставлены через держатель 13 и втулку 14 в перфорированный гибкий кожух (силиконовую трубку) 15. Все детали приклеены клеем. Между трубкой 2 и кожухом 15 имеется полость 16, к которой подведен элемент подачи лекарственного раствора, выполненный в виде трубки 17, лекарственный раствор в которую подается наконечником 18 от шприца. Устройство при помощи хвостовика (не показан) может быть присоединено к вибратору.
Устройство работает следующим образом.
Головку полового члена обрабатывают 1%-ным раствором хлорамина. Шприцом вводят в уретральный канал 10 мл глицерина. Устройство дезинфицируют, промывают теплой стерильной дистиллированной водой и вводят в уретру на всю ее длину. К наконечнику 18 подключают систему с капельницей, через трубку 17 полость 16 и отверстия в кожухе 15 подают лекарственный раствор и проводят процедуру гипертермии. Температура разогрева нагревателя контролируется термометром от датчика. В течение всей процедуры гипертермии подают 20-30 мл лекарственного раствора (антисептики, противогрибковые, или раствор, который предназначен для электрофореза) и проводят электрофорез, при этом уретральный электрод 9 активный, а нейтральный электрод в виде пластины размещают на пояснице или им может быть металлический ректальный электрод для гипертермии.
При помощи данного устройства можно проводить и электростимуляцию простаты, и эвакуацию выделенного во время процедуры застойного секрета простаты, а также при помощи подключенного электровибратора на фоне гипертермии можно проводить вибромассаж уретры.
Источники информации:
1. Патент Российской Федерации №2046608, Кл. A 61 N 1/30, публ. 1995 г.
2. Авторское свидетельство СССР №1803148, Кл. A 61 N 1/30, А 61 М 37/00, публ. 1993 г.
3. Исраилов С.Р. Локальная гипертермия в комплексном лечении больных хроническим бактериальным уретропростатитом/Вестник дерматологии и венерологии, 1989, №7, с.47-49.
4. Юнда И.Ф., Горпинченко И.И., Исраилов С.Р., Бойченко Н.И. Электротермоуретростимуляция в лечении больных хроническим негонококовым уретропростатитом/Врачебное дело, 1990, №3, с.21-29.
6. Патент Украины №20878, Кл. A 61 F 7/00, публ. 1998 г. – наиболее близкий аналог.
Формула изобретения
Физиотерапевтическое устройство, типа катетера, для лечения хронических уретрита и простатита, содержащее трубчатый корпус с нагревателем, датчиком термометра и герметично установленной на одном его конце соединительной колодкой, рабочую головку, электрод, элемент подачи лекарственного раствора и перфорированный кожух, отличающееся тем, что второй конец трубчатого корпуса вставлен в выполненную из гибкого материала трубку, свободный конец который закрыт пробкой, при этом полость трубки содержит проволочный датчик термометра, на который намотан проволочный нагреватель, и заполнена теплопроводной пастой, на трубку намотан электрод, корпус вместе с трубкой вставлены через держатель и втулку в перфорированный кожух, который выполнен гибким, при этом к полости между трубкой и перфорированным кожухом подведен элемент подачи лекарственного раствора, а датчик термометра и электрод связаны с соединительной колодкой.
РИСУНКИ
|
|