|
|
(21), (22) Заявка: 2003114938/12, 21.05.2003
(24) Дата начала отсчета срока действия патента:
21.05.2003
(45) Опубликовано: 10.12.2004
(56) Список документов, цитированных в отчете о поиске:
FR 2780863 А1, 14.01.2000. SU 188770 А, 09.01.1967. ЕР 0383203 А1, 22.08.1990. DE 3025941 А1, 21.01.1982. DE 1782661 А, 06.04.1972.
Адрес для переписки:
125475, Москва, ул. Дыбенко, 30, корп.1, кв.93, Л.А. Сизовой
|
(72) Автор(ы):
Кочегаров С.Н. (RU), Житковский В.Д. (RU)
(73) Патентообладатель(и):
Общество с ограниченной ответственностью “МЮЗ ЭЛИТ” (RU)
|
(54) УСТРОЙСТВО ДЛЯ ФИКСАЦИИ ЦЕПОЧЕК
(57) Реферат:
Изобретение относится к ювелирной промышленности и может быть использовано при фиксации цепочек. Устройство содержит корпус, выполненный с возможностью объединения двух частей цепочки. Корпус имеет два симметричных верхних окна, между которыми расположена перемычка, и нижнее окно, выполненное на противоположной стенке корпуса напротив верхних окон. Внутри корпуса по горизонтальной оси расположены две перегородки, толщина которых соизмерима с расстояниями между звеньями цепочки, при этом внутри корпуса на расстоянии от нижнего окна по центру, перпендикулярно перегородкам, расположен цилиндрический стержень, диаметр которого равен ширине перемычки, а зазор между перегородками равен сумме двух диаметров цепочки и диаметра цилиндрического стержня. Обеспечивается повышение надежности фиксации и уменьшение износа цепочки и корпуса устройства. 5 з.п. ф-лы, 5 ил.

Изобретение относится к производству ювелирных изделий и украшений, в частности к устройствам для фиксации цепочек.
Известно разъемное соединение для ювелирных цепочек, содержащее соединенные с цепочкой наконечники, скрепленные посредством сопрягаемых частей, выполненных в виде выступа на одном наконечнике и впадины на другом, и фиксатор их в замкнутом положении, причем фиксатор расположен внутри соединения, а на одном из наконечников установлен штифт, входящий в отверстие на другом (SU 2780863 А1, кл. А 44 С 11/02, 1967).
Наиболее близким к заявляемому объекту является устройство для регулирования длины браслета или колье, содержащее корпус, объединяющий две части цепочки для образования петли. По меньшей мере, одна из указанных частей может перемещаться внутри корпуса, обеспечивая регулирование длины (FR 2780863 А1, кл. А 44 С 11/00, 2000, прототип). Известное устройство (FR 2780863 (фиг.2)) имеет пружинный механизм фиксации, состоящий из корпуса, заглушки и пружины.
Предлагаемое устройство для регулирования длины колье или браслета гораздо проще и имеет одну деталь – корпус. Операция сборки максимально упрощена. Концы цепи пропускаются через корпус и на них закрепляются ограничители 7 (см. фиг.2 и 3).
Известное из FR 2780863 (фиг.4) устройство схоже с предлагаемым устройством, но имеет существенный недостаток. Во время эксплуатации истираются внутренние стенки корпуса, уменьшается трение внутри канала и фиксатор перестает работать.
В известном устройстве для регулирования длины колье и браслета фиксация цепи осуществляется двумя вариантами – пружиной или за счет трения цепи о внутренние стенки корпуса устройства. Первый вариант имеет сложную конструкцию, состоящую из трех делений, и сложную технологию сборки. Для сборки этого устройства необходимо в корпусе установить пружину в глухое отверстие, затем поместить концы цепи в каналы и после этого поместить в корпус заглушку и расклепать ее. Второй вариант имеет простую конструкцию и технологию сборки, но он не надежен в эксплуатации и обладает неустойчивой фиксацией, так как фиксация цепи в корпусе осуществляется за счет трения о стенки в канале. По мере эксплуатации стенки и цепь изнашиваются и сила трения снижается и, как следствие, фиксатор перестает работать.
Задача изобретения заключается в том, чтобы создать устройство для фиксации декоративных цепочек типа Перлина и якорная, преимущественно из драгоценных металлов, с улучшенными потребительскими свойствами.
Техническим результатом изобретения является повышение надежности фиксации и уменьшение износа цепочки и корпуса устройства.
Сущность изобретения состоит в том, что устройство для фиксации цепочек содержит корпус, объединяющий две части цепочки, в отличие от известного, дополнительно содержит два симметричных верхних окна, между которыми расположена перемычка, а на противоположной стенке корпуса напротив верхних окон – нижнее окно, внутри корпуса по горизонтальной оси расположены две перегородки, толщина которых соизмерима с расстояниями между звеньями цепочки, при этом внутри корпуса на расстоянии от нижнего окна по центру, перпендикулярно перегородкам расположен цилиндрический стержень, диаметр которого равен ширине перемычки, а зазор между перегородками равен сумме двух диаметров цепочки и диаметра цилиндрического стержня.
Концы цепочки снабжены ограничителями.
Внешняя форма корпуса может быть выполнена в виде квадрата, либо в виде сердечка, либо в виде капли.
Поверхность корпуса может быть украшена, по меньшей мере, одной каменной вставкой. В качестве камней могут быть использованы природные или искусственные драгоценные, поделочные камни порознь или вместе, или в различных сочетаниях.
Сущность изобретения поясняется чертежами:
на фиг.1 изображен общий вид устройства в разрезе,
на фиг.2 и 3 схематично изображена регулировка двух цепей цепочки,
на фиг.4 и 5 изображена фиксация цепочки внутри корпуса.
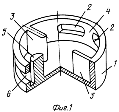
На фигурах элементы устройства обозначены следующими позициями:
– корпус – 1;
– окна – 2;
– перегородки – 3;
– перемычка – 4;
– цилиндрический стержень – 5;
– нижнее окно – 6;
– ограничители – 7.
Конструкция устройства для фиксации цепочек представлена на фиг.1. Цилиндрический корпус 1 устройства, объединяющий две части цепочки, имеет два симметричных верхних окна 2, между которыми существует перемычка 4. Кроме этого внутри корпуса 1 по горизонтальной оси в центральной зоне имеется две перегородки 3 для закрепления двух частей цепочки, толщина которых соизмерима с расстояниями между звеньями цепи, а зазор между перегородками 3 равен сумме двух диаметров цепи и диаметра цилиндрического стержня 5. Напротив верхних окон 2 на противоположной стенке корпуса 1 имеется нижнее окно 6. Внутри корпуса 1 на небольшом расстоянии от нижнего окна 6 по центру располагается стержень 5, диаметр которого равен ширине перемычки 4. На концы цепи одеваются ограничители 7.
Фиксация цепи осуществляется следующим образом. Устройство перемещается по цепочке в верхнее положение, при этом между верхними ветвями цепочки образуется угол , a перегородки 3 входят в промежутки между звеньями цепочки. Цилиндрический стержень 5 располагается между ветвями цепочки. Если угол уменьшить до нуля, цепочка выходит из зацепления с перегородками 3 и устройство свободно перемещается по цепи вниз.
Устройство для фиксации может быть выполнено в виде кулона.
Устройство обладает рядом преимуществ. Состоит из одной детали, операция сборки максимально упрощена, концы цепочки пропускаются через корпус и вытаскиваются через нижнее окно. На концы цепочки закрепляют ограничители, что обеспечивает надежность фиксации. Во время эксплуатации не истираются внутренние стенки корпуса, уменьшается износ цепочки и корпуса устройства.
Простота изготовления такого устройства и сборки полотна цепочки обеспечивают изобретению соответствие критерию промышленной применимости.
Формула изобретения
1. Устройство для фиксации цепочек, содержащее корпус, выполненный с возможностью объединения двух частей цепочки, отличающееся тем, что корпус имеет два симметричных верхних окна, между которыми расположена перемычка, и нижнее окно, выполненное на противоположной стенке корпуса напротив верхних окон, внутри корпуса по горизонтальной оси расположены две перегородки, толщина которых соизмерима с расстояниями между звеньями цепочки, при этом внутри корпуса на расстоянии от нижнего окна по центру перпендикулярно перегородкам расположен цилиндрический стержень, диаметр которого равен ширине перемычки, а зазор между перегородками равен сумме двух диаметров цепочки и диаметра цилиндрического стержня.
2. Устройство по п.1, отличающееся тем, что концы цепочки снабжены ограничителями.
3. Устройство по п.2, отличающееся тем, что внешняя форма корпуса выполнена в виде квадрата.
4. Устройство по п.2, отличающееся тем, что внешняя форма корпуса выполнена в виде сердечка.
5. Устройство по п.2, отличающееся тем, что внешняя форма корпуса выполнена в виде капли.
6. Устройство по любому из пп.1-5, отличающееся тем, что на поверхности корпуса расположена по меньшей мере одна каменная вставка.
РИСУНКИ
MM4A Досрочное прекращение действия патента Российской Федерации на изобретение из-за неуплаты в установленный срок пошлины за поддержание патента в силе
Дата прекращения действия патента: 22.05.2005
Извещение опубликовано: 10.12.2006 БИ: 34/2006
|
|