|
|
(21), (22) Заявка: 2001123692/09, 26.01.2000
(24) Дата начала отсчета срока действия патента:
26.01.2000
(30) Конвенционный приоритет:
27.01.1999 SE 9900289-1
(43) Дата публикации заявки: 27.06.2003
(45) Опубликовано: 27.11.2004
(56) Список документов, цитированных в отчете о поиске:
US 5838735 A, 17.11.1998. EP 0805561 A2, 05.11.1997. WO 98/04050 A1, 28.01.1998. US 5606731 A, 25.02.1997. US 5579347 A, 26.11.1996. US 4583239 A, 15.04.1986. ХВОРОСТЕНКО Н.П. Статистическая теория демодуляции дискретных сигналов. – М.: Связь, 1968, с. 66-69.
(85) Дата перевода заявки PCT на национальную фазу:
27.08.2001
(86) Заявка PCT:
SE 00/00147 (26.01.2000)
(87) Публикация PCT:
WO 00/45523 (03.08.2000)
Адрес для переписки:
129010, Москва, ул. Б. Спасская, 25, стр.3, ООО “Юридическая фирма Городисский и Партнеры”, пат.пов. Ю.Д.Кузнецову, рег.№ 595
|
(72) Автор(ы):
ЯКОБССОН Ян Петер (SE), СТЕНСТРЕМ Свен Эрик Никлас (SE)
(73) Патентообладатель(и):
ТЕЛЕФОНАКТИЕБОЛАГЕТ ЛМ ЭРИКССОН (пабл) (SE)
(74) Патентный поверенный:
Кузнецов Юрий Дмитриевич
|
(54) ГОМОДИННЫЙ РАДИОПРИЕМНИК
(57) Реферат:
Изобретение относится к гомодинному радиоприемному устройству. Техническим результатом является осуществление гомодинным радиоприемником усовершенствованной оценки и компенсации уровня постоянного тока (ПТ-уровня). Для этого гомодинное радиоприемное устройство принимает пакеты радиочастотных сигналов, содержащие ряд символов, и генерирует цифровые выборки по меньшей мере комплексного модулирующего сигнала (I и Q) из каждого пакета сигналов. Оно включает в себя калькулятор средних значений, который определяет средний ПТ-уровень упомянутых выборок, и калькулятор суммы квадратов с учетом знака чисел, который вычисляет сумму квадратов с учетом знака чисел множества упомянутых выборок и взвешивает сумму квадратов с учетом знака чисел с помощью коэффициента компенсации. Средство коррекции вычитает сумму квадратов из выходного сигнала калькулятора средних значений для получения оценки ПТ-уровня. 6 н. и 13 з.п. ф-лы, 13 ил.

Область, к которой относится изобретение
Настоящее изобретение вообще относится к гомодинному радиоприемному устройству и в частности к гомодинному радиоприемному устройству, содержащему средство компенсации ПТ (постоянного тока) для определения оценки ПТ-уровня принятого пакета сигналов.
Уровень техники
Гомодинные приемники хорошо известны и они применяются в устройствах беспроводной связи, таких как мобильные телефоны.
Вообще гомодинный приемник содержит два канала связи, которые обычно известны как I и Q каналы. Двухканальный гомодинный приемник используется в цифровых мобильных телефонах, известных из уровня техники, таких как телефоны GSM (Глобальной системы мобильной связи).
Приемник содержит антенну для приема поступающего электромагнитного сигнала связи, например сигнала МДВР (Множественного доступа с временным разделением каналов), представляющего собой поток цифровых информационных символов, которые были модулированы в две ортогональных волны. Принятый сигнал пропускается через полосовой фильтр, усиливается в усилителе и затем делится на два одинаковых сигнала. Первый из этих сигналов идет по первому маршруту сигнала, где он первоначально микшируется в смесителе с сигналом промежуточной частоты. Сигнал промежуточной частоты подается от гетеродина и проходит без изменений через фазовращатель. Аналогичным образом второй сигнал идет по второму маршруту сигнала, где он микшируется в смесителе с сигналом промежуточной частоты от гетеродина, когда фаза сигнала промежуточной частоты была сдвинута на 90° в фазовращателе.
Выходной сигнал смесителя фильтруется фильтром нижних частот и усиливается во втором усилителе. Затем сигнал подается в аналого-цифровой преобразователь для дискретизации сигнала и преобразования его в цифровой сигнал, содержащий поток информационных символов. Цифровой сигнал фильтруется в цифровом фильтре нижних частот и цифровые информационные символы, содержащиеся в сигнале, вводятся в цифровую память. Установленный ПТ-уровень сигнала определяется и вычитается из цифрового сигнала, образуя цифровой сигнал, скомпенсированный с учетом ПТ-уровня, который демодулируется.
Поток цифровых информационных символов затем используется другими компонентами в мобильном телефоне для получения, например, звукового выходного сигнала через громкоговоритель.
Однако было установлено, что гомодинные радиоприемники, известные из уровня техники, имеют недостаточно высокие характеристики приема, особенно для информационных сообщений, передаваемых между двумя компьютерами во время сеанса передачи данных.
Информационная полоса частот гомодинного приемника доходит по частоте до ПТ, но ПТ-уровень не содержит информации. Поэтому ПТ-уровень должен быть удален перед тем, как информация может быть должным образом демодулирована.
ПТ-уровень сигнала может быть оценен различным образом. Одна оценка ПТ-уровня раскрыта в патенте США №5838735, в котором ПТ-уровень сигнала определяется посредством калькулятора средних значений, который вычисляет среднее значение или средний ПТ-уровень цифрового сигнала в соответствии со следующим выражением:

Поэтому среднее значение выборов S(i) определяется посредством получения среднего значения заданного числа N самых последних принятых выборок. Затем средний ПТ-уровень вычитается из цифрового сигнала, образуя в результате цифровой сигнал, скомпенсированный с учетом ПТ-уровня.
В системах МДВР, подобных GSM, трудно определить ПТ-уровень, так как время для измерения ПТ-уровня ограничено одним принятым пакетом сигналов, так как следующий принятый пакет может иметь другой ПТ-уровень из-за, например, скачкообразного изменения частоты. Число выборок, содержащееся в вычислении среднего значения, равно, например, 128 битов. Это означает предположительно, что средним значением 128 ГММ (Гауссовская манипуляция с минимальным сдвигом) модулированных I выборок (или Q выборок) является нуль. Однако среднее значение, равное нулю, является только случаем, когда точки сигналов расположены одинаково часто во всех квадрантах в IQ плоскости.
Исследование показывает, что модуляция в некоторых случаях вызывает ПТ смещение больше, чем на 20% (обычно 10%) амплитуды для 128 выборок. Такие оценки ПТ-уровня приводят к ограниченным рабочим характеристикам при высоком отношении Н/П (несущая – помеха) и ОСШ (отношение сигнал-шум) и к неудовлетворительному числу ошибок в битах, особенно когда сигналы используются для передачи данных во время сеанса передачи данных. Конечно, точность оценки ПТ-уровня также зависит от типа модуляции.
Сущность изобретения
Задачей настоящего изобретения является создание гомодинного радиоприемного устройства и способа, позволяющих производить усовершенствованные оценку и компенсацию ПТ-уровня.
Эта задача решается гомодинным радиоприемным устройством в соответствии с изобретением, согласно которому пакет принимают в устройстве радиочастотных сигналов из ряда символов и преобразуют в цифровые выборки для компенсации ПТ посредством компенсатора ПТ. Первая оценка ПТ-уровня определяется вычислением среднего ПТ-уровня выборок в калькуляторе средних значений.
Затем в соответствии с одним аспектом изобретения вычисляют сумму квадратов с учетом знака чисел множества выборок посредством калькулятора суммы квадратов с учетом знака чисел в компенсаторе ПТ. Сумма квадратов взвешивается(с помощью компенсации коэффициента и средство коррекции, соединенное с калькулятором суммы квадратов, вычитает взвешенную сумму квадратов из среднего ПТ-уровня для получения улучшенной оценки ПТ-уровня.
В соответствии с другим аспектом изобретения средство компенсации ПТ включает в себя калькулятор суммы и с учетом знака чисел для вычисления суммы с учетом знака чисел множества выборок и взвешивания суммы с помощью коэффициента компенсации. В средстве компенсации ПТ также содержится средство коррекции, причем выходной сигнал калькулятора суммы с учетом знака чисел вычитается из выходного сигнала калькулятора средних значений для получения оценки ПТ-уровня.
С введением ПТ компенсатора, который оценивает ПТ-уровень, как описано, и компенсирует сигнал параметром, зависящим от формы сигнала, выходной сигнал от функции станет коррелированным с ошибкой в оценке ПТ-уровня. Эта функция извлекает информацию из сигнала, которая может быть использована для компенсации любой ошибки в оценке ПТ-уровня.
Преимущество настоящего изобретения заключается в том, что оценка и компенсация ПТ-уровня в соответствии с изобретением устраняет ограничивающую ошибку в ПТ-уровне при высоких отношении несущая/помеха (н/п) и отношении сигнал/шум (ОСШ) посредством учета информации, характерной для сигнала, при оценке ПТ-уровня, приводящей к уменьшенному количеству ошибок в битах при текущих условиях прохождения сигналов.
Краткое описание чертежей
Чтобы более подробно объяснить изобретение и его преимущества и признаки в нижеследующем подробном описании предпочтительного варианта осуществления даются ссылки на приложенные чертежи, на которых
Фиг.1А – блок-схема первого варианта осуществления гомодинного приемника в соответствии с изобретением;
Фиг.1В – блок-схема второго варианта осуществления настоящего изобретения в соответствии с изобретением;
Фиг.2 – график функции вероятности ПТ-ошибок между -5 и +5% в зависимости от угла наклона в уравнении компенсации;
Фиг.3 – график функции вероятности ПТ-ошибок между -5 и +5% в зависимости от угла наклона в уравнении компенсации;
Фиг.4 – график корреляции для Н/П>100 дБ;
Фиг.5 – график корреляции для Н/П=6 дБ;
Фиг.6 – график функций вероятности для ПТ-ошибки с компенсацией и без компенсации для Н/П>100 дБ;
Фиг.7 – график функции компенсированной вероятности для различных Н/П;
Фиг.8 – график функции компенсированной вероятности для различных Н/П;
Фиг.9 – график зависимости коэффициента корреляции от пределов счетчика;
Фиг.10 – график зависимости ошибки оценки ПТ от разности между количеством отрицательных и положительных выборок;
Фиг.11 – график зависимости оценок с ошибкой от -5 до +5% от компенсирующего угла наклона;
Фиг.12 – график функции вероятности для ПТ ошибки с компенсацией и без компенсации.
Подробное описание изобретения
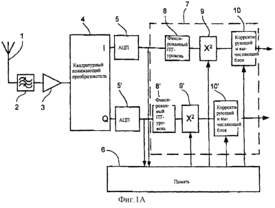
На Фиг.1 показана блок-схема одного варианта осуществления гомодинного радиоприемного устройства, в котором оценивается ПТ-уровень принятых пакетов радиочастотных сигналов и удаляется оцененный ПТ-уровень каждого пакета перед демодуляцией сигнала.
Пакет сигналов, содержащий ряд символов, включающий в себя сигнал несущей, модулированный модулирующим сигналом, принимается антенной 1 и фильтруется полосовым фильтром 2. Усилитель 3 усиливает фильтрованный сигнал, формируемый фильтром 2. Затем усиленный пакет сигналов преобразуется с понижением частоты в сложные модулирующие сигналы In (синфазный) и Q (квадратурный) обычным квадратурным понижающим преобразователем 4. Выходной сигнал I, Q понижающего преобразователя 4 предпочтительно фильтруется и усиливается дополнительными фильтрами и усилителями перед тем, как выходной сигнал дискретизируется и преобразуется в цифровой сигнал аналого-цифровым преобразователем АЦП 5, 5 . Цифровой сигнал может фильтроваться в цифровом фильтре, и цифровые информационные символы или выборки, содержащиеся в сигнале, подаются в цифровую память 6 для последующего извлечения.
Выходной сигнал от АЦП 5, 5 подается в устройство 7 компенсации ПТ, которое дает оценку ПТ-уровня принятого сигнала и вычитает определенный ПТ-уровень из пакета сигналов перед его демодуляцией. Чтобы дать оценку ПТ-уровня устройство компенсации ПТ выполнено с возможностью обработки принятого пакета сигналов, проводимой с большим числом операций в соответствии с изобретением. Выходной сигнал АЦП 5, 5 подается в калькулятор 8, 8 средних значений, который оценивает средний ПТ-уровень ряда выборок. Помимо этого калькулятор 8, 8 средних значений определяет пиковое значение сигнала посредством идентификации максимального значения выборки и вычитания оцененного среднего ПТ-уровня из максимального значения выборки. Пиковое значение подается на следующий этап маршрута сигнала вместе с оцененным средним ПТ-уровнем.
Следующим этапом по маршруту сигнала является калькулятор 9, 9 суммы квадратов. Выборки принятого пакета сигналов, хранящиеся в цифровой памяти 6, считываются калькулятором 9, 9 сумм квадратов, который стандартизирует символы со ссылкой на оцененный средний ПТ-уровень и пиковое значение перед тем, как сумма квадратов с учетом знака чисел выборок вычисляется и взвешивается с помощью коэффициента компенсации, описанного ниже. Затем вычисляется оценка ПТ-уровня в калькуляторе 9, 9 суммы квадратов вычитанием взвешенной вычисленной суммы квадратов с учетом знака чисел.
Далее выходной сигнал калькулятора 9, 9 суммы квадратов подается в корректирующий и вычисляющий блок 10, 10 , в котором вычисляется повышенная оценка ПТ-уровня посредством вычитания взвешенной вычисленной суммы квадратов с учетом знака чисел из оцененного среднего ПТ-уровня. И наконец, повышенная оценка ПТ-уровня вычитается из каждой выборки, считанной из памяти 6. В альтернативном варианте осуществления изобретения вычитание взвешенной вычисленной суммы квадратов с учетом знака чисел из оцененного среднего ПТ-уровня осуществляется калькулятором 9, 9 суммы квадратов.
Следовательно, выходной сигнал корректирующего и вычисляющего блока 10, 10 в конце маршрута сигнала наконец обеспечит первую часть потока цифровых информационных символов, которые содержались в аналоговом сигнале и переносились им, первоначально принятом антенной 1. Поток цифровых информационных символов затем используется другими компонентами в мобильном телефоне для получения, например, звукового выходного сигнала через громкоговоритель, например речи. Или же поток цифровых информационных символов может представлять собой информационные сообщения, передаваемые между двумя компьютерами во время сеанса передачи данных.
Случайность нужного сигнала, т.е. модулирующего сигнала, и число символов, используемых для оценки, влияют на ошибку при вычислении ПТ-уровня. Для иллюстрации нужным сигналом является ГММС (Гауссовская манипуляция с минимальным сдвигом) произвольно модулированный сигнал. Минимальное число символов для вычисления среднего значения задается длиной пакета.
Вышеупомянутые пределы ухудшают рабочие характеристики устройства.
Поэтому в соответствии с изобретением ошибка в оценке ПТ-уровня минимизируется, если ПТ-уровень компенсируется информацией, присутствующей в пакете сигналов.
В этом варианте осуществления изобретения ПТ-уровень оценивается в соответствии со следующим выражением (1) для компенсации:

где

и

Таким образом оцененный ПТ-уровень, ПТоценка 1, является средним ПТ-уровнем, ПТсредн.; вычисленным для N символов S(i), скомпенсированным на ПТ-ошибку, умноженную на коэффициент А компенсации. ПТ-ошибка оценивается посредством вычисления суммы квадратов с учетом знака чисел сигнала, в которой х=S(i)-ПТсредн.
Оптимальный коэффициент компенсации, т.е. соотношение между ПТ-ошибкой и суммой квадратов с учетом знака чисел определяется для различных отношений Н/П (отношение несущая/помеха) и С/Ш (отношение сигнал/шум), предполагая наличие белого шума.
Как показано на графиках Фиг.2, интегрированная область функции вероятности ПТ-ошибки между -5 и +5% представлена как функция угла наклона, т.е. коэффициента компенсации в выражении (1). Сплошная линия показывает Н/П>100 дБ, штриховая линия Н/П=20 дБ, пунктирная линия Н/П=12 дБ, и двойная пунктирная линия Н/П=6 дБ.
На фиг.3 показаны графики, представляющие интегрированную область функции вероятности ПТ-ошибки между -5 и +5%, как функцию угла наклона, т.е. коэффициента компенсации в выражении (1). Сплошная линия изображает ОСШ>100 дБ, штриховая линия ОСШ=20 дБ, пунктирная линия ОСШ=12 дБ и двойная пунктирная линия ОСШ=6 дБ.
В соответствии с графиками на Фиг.2 и 3 очевидно, что величина 2,0 является оптимальным углом наклона. Поэтому коэффициент А компенсации от -1,0 до -3,0 и преимущественно -2,0 является оптимальным соотношением между ПТ – ошибкой и суммой квадратов с учетом знака чисел для высокого отношения Н/П. Таким образом нижеследующее выражение является примером выражения для компенсации, используемого устройством 7 компенсации ПТ для оценки ПТ-уровня.

Линейность оптимума показывает, что этот параметр является помехоустойчивым.
Фиг.4 является графиком корреляции для Н/П>100 дБ и Фиг.5 является графиком корреляции для Н/П=6 дБ.
Как показано на Фиг.4 и 5, становится ясно, что график корреляции будет все больше и больше походить на круг для худших отношений Н/П и, следовательно, тогда оптимальный наклон станет, конечно, менее критичным.
Функции вероятности для ПТ-ошибки (как процент амплитуды), оцененной на основе пакета из 128 символов для Н/П>100 дБ, показан на Фиг.6. Сплошная линия показывает функцию вероятности без компенсации, а штриховая линия функцию вероятности с компенсационной величиной угла наклона равной 2 (коэффициент компенсации).
На фиг.7 показаны функции вероятности как результат компенсации в соответствии с изобретением для различных Н/П: сплошная линия Н/П>100 дБ, штриховая линия Н/П=20 дБ, пунктирная линия Н/П=12 дБ и двойная пунктирная линия Н/П=6 дБ.
На Фиг.8 показана функция компенсированной вероятности для различных ОСШ: сплошная линия ОСШ>100 дБ, штриховая линия ОСШ=20 дБ, пунктирная линия ОСШ=12 дБ и двойная пунктирная линия ОСШ=6 дБ.
Рабочие характеристики способа в соответствии с изобретением понижаются, когда сигнал помехи (шум или другой ГММС – сигнал) добавляется к нужному сигналу. Это не является большой проблемой, потому что рабочие характеристики будут в основном определяться тем фактом, что присутствует сигнал помехи. При высоких ОСШ и Н/П гомодинное радиоприемное устройство в соответствии с изобретением подавляет оставшийся ограничивающий фактор, которым является ошибка в ПТ-вычислении.
Соотношение между ошибкой в вычислении ПТ-уровня и ухудшением функционирования является прогрессирующим. Это приводит к существенному уменьшению числа ошибок в битах даже при незначительном улучшении в вычислении ПТ-уровня, который показан двумя графиками на Фиг.6.
Следовательно, путем рассмотрения информационных характеристик принятого пакета сигналов и использования их при оценке ПТ-уровня может быть значительно уменьшена ошибка при вычислении ПТ-уровня для высоких Н/П (отношение несущей к помехе) и ОСШ (отношение сигнал/шум) условий прохождения сигнала.
Даже если какой-нибудь сигнал помехи или искажения от фильтров приемника ухудшит функционирование, полученная оценка ПТ-уровня в соответствии с изобретением все еще будет удовлетворительной для большинства областей применения.
Оптимальный наклон является пологим, что дает возможность выполнить оценку ПТ-уровня с фиксированной величиной коэффициента компенсации, например, -2,0.
Было показано, что разность между числом выборок с величиной амплитуды выше/ниже фиксированного предела сильно коррелируется с ПТ-ошибкой и поэтому это используется во втором варианте осуществления изобретения.
Как показано на Фиг.1В, пакет сигналов, содержащий ряд символов, и сигнал несущей, модулированный модулирующим сигналом, принимается антенной 11 и фильтруется полосовым фильтром 12. Усилитель 13 усиливает фильтрованный сигнал, сформированный фильтром 12. Далее усиленный пакет сигналов преобразуется с понижением частоты в комплексные модулирующие сигналы I (синфазные) и Q (квадратурные) посредством обычного квадратурного понижающего преобразователя 14. Выходные сигналы I и Q от понижающего преобразователя 14 предпочтительно фильтруются и усиливаются дополнительными фильтрами и усилителями перед тем, как выходные сигналы дискретизируются и преобразуются в цифровой сигнал аналого-цифровым преобразователем АЦП 15, 15 . Цифровой сигнал может фильтроваться в цифровом фильтре, и цифровые информационные символы, или выборки, содержащиеся в сигнале, подаются в цифровую память 16 для последующего извлечения из нее.
Выходной сигнал от АЦП 15, 15 подается в устройство 17 компенсации ПТ, которое определяет оценку ПТ-уровня принятого сигнала и вычитает определенный ПТ-уровень из пакета сигналов перед тем, как он демодулируется. Чтобы определить оценку ПТ-уровня устройство компенсации ПТ обработки принятого пакета сигналов выполнено с возможностью в большом числе операций в соответствии со вторым вариантом осуществления изобретения. Выходной сигнал АЦП 15, 15 подается в калькулятор 18, 18 средних значений, который оценивает средний ПТ-уровень ряда выборок, вычитает оцененный ПТ-уровень из каждой выборки перед тем, как они подаются на следующую операцию. Помимо этого калькулятор 18, 18 средних значений определяет пиковое значение сигнала путем идентификации максимального значения выборки и вычитания оцененного среднего ПТ-уровня из максимального значения выборки. Это пиковое значение подается на следующий этап маршрута сигнала вместе с оцененным средним ПТ-уровнем.
Следующим этапом в маршруте сигнала является калькулятор 19, 19 суммы с учетом знака чисел. Цифровые информационные символы или выборки принятого пакета сигналов, хранящиеся в цифровой памяти 16, считываются калькулятором 19, 19 суммы с учетом знака чисел, который стандартизирует эти символы со ссылкой на оцененный средний ПТ-уровень и пиковое значение перед тем, как сумма с учетом знака чисел выборок вычисляется и взвешивается с помощью коэффициента компенсации, как описано ниже.
Выходной сигнал калькулятора 19, 19 суммы с учетом знака чисел подается в корректирующий и вычисляющий блок 20, 20 , в котором вычисляется улучшенная оценка ПТ-уровня посредством вычитания взвешенной вычисленной суммы с учетом знака чисел из оцененного среднего ПТ-уровня. И наконец, улучшенная оценка ПТ-уровня вычитается из каждой выборки, считанной из памяти 16.
Затем выходной сигнал корректирующего и вычисляющего блока 20, 20 в конце маршрута сигнала обеспечит, наконец, поток цифровых информационных символов, которые содержались в аналоговом сигнале и переносились аналоговым сигналом, первоначально принятым антенной 1, но скомпенсированным с учетом ПТ-уровня, полученного из оценки, как было описано выше.
Таким образом, в этом варианте осуществления изобретения ПТ-уровень оценивается в соответствии со следующим выражением (5) для компенсации:

где

и

Таким образом оцененный ПТ-уровень, ПТоценка 2, является средним ПТ-уровнем, ПТсредн., вычисленным по N символам S(i), скомпенсированным с учетом ПТ-ошибки, ПТошибка 2, которая умножается на коэффициент В компенсации. ПТ-ошибка оценивается посредством вычисления суммы сигнала с учетом знака чисел, вычисленной по М символам S(j), где у=S(j)-ПТсредн.
График зависимости коэффициента корреляции от пределов счетчика, процента амплитуды показан на Фиг.9. Оптимальная корреляция достигается, только когда выборки S(j) выше/ниже 30-50% и преимущественно 40% амплитуды используются для вычисления разности числа положительных и числа отрицательных выборок. Ошибка в оценке ПТ-уровня делает выборки, близкие к ПТ-уровню, ненадежными и поэтому предпочтителен более высокий предел. Однако более высокий предел уменьшает число выборок, служащих для вычислений. Как упомянуто выше, плоскостность оптимума показывает, что коэффициент компенсации является помехоустойчивым.
Оптимальный коэффициент компенсации определяется различными отношениями Н/П (отношение несущая/помеха) и ОСШ (отношение сигнал/шум), предполагающими наличие белого шума.
На Фиг.10 показана ошибка оценки ПТ как процент амплитуды, как функция разности между числом отрицательных и числом положительных выборок, а на фиг.11 показана оценка ошибки в пределах от -5% до +5% как функция компенсационного угла наклона.
Из графика на Фиг.10 очевидно, что коэффициент компенсации величиной 0,0055-0,0065 и преимущественно 0,006 является оптимальным соотношением между ПТ-ошибкой и суммой с учетом знака чисел. Таким образом следующее выражение является примером компенсирующего выражения, используемого устройством 4 компенсации ПТ для определения оценки ПТ-уровня, если для вычислений используются только выборки ( в выражении (6)) выше/ниже 40% амплитуды.

где плоскостность оптимума показывает, что этот параметр также является помехоустойчивым.
Функции вероятности для ПТ-ошибки (как процент амплитуды), оцененные с использованием пакета из 128 символов для Н/П>1001 дБ показаны на Фиг.12. Сплошная линия показывает функцию вероятности без компенсации, штриховая линия показывает функцию вероятности с величиной компенсационного угла наклона 0,006.
Следовательно, посредством учета информационных характеристик принятого пакета сигналов и использования выборок выше/ниже определенного процента амплитуды для оценок ПТ-уровня ошибка в определении ПТ-уровня может быть значительно уменьшена для высоких отношений Н/П и ОСШ условий прохождения сигнала.
Хотя изобретение было описано посредством конкретных примеров его осуществления, должно быть очевидно, что настоящее изобретение предлагает усовершенствованный способ оценки ПТ-уровня и гомодинное радиоприемное устройство, которое полностью соответствует задачам и преимуществам, изложенным выше, и их альтернативы, модификации и варианты очевидны для специалистов в данной области техники.
Устройство компенсации ПТ является цифровым устройством для обработки сигнала, предпочтительно реализуемым в виде схемы с жесткой логикой для быстрого функционирования. Однако устройство компенсации ПТ может быть реализовано в виде интегрального процессора цифрового сигнала в альтернативном варианте осуществления изобретения.
Другие системы, подобные EDGE (электронная система сбора данных) и AMR (система автоматической записи сообщений), имеют некоторую схему кодирования, которая обеспечивает хорошее условие для сигнала. Одна однобитовая ошибка заставляет повторить передачу большого блока и поэтому она снижает пропускную способность при передаче данных.
Формула изобретения
1. Гомодинное радиоприемное устройство, содержащее гомодинный радиоприемник (1, 2, 3, 4, 5, 5 ) для приема пакетов радиочастотных сигналов из ряда символов и формирования цифровых выборок по меньшей мере комплексного модулирующего сигнала I и Q из каждого пакета сигналов и средство (7) компенсации постоянного тока (ПТ), соединенное с гомодинным радиоприемником (1, 2, 3, 4, 5, 5 ) для определения оценки ПТ-уровня упомянутых выборок, причем средство (7) компенсации содержит вычислительное устройство (8, 8 ) средних значений для вычисления среднего ПТ-уровня упомянутых выборок, отличающееся тем, что средство (7) компенсации ПТ дополнительно содержит вычислительное устройство (9, 9 ) суммы квадратов с учетом знака чисел для вычисления суммы квадратов с учетом знака чисел множества упомянутых выборок и взвешивания упомянутой суммы квадратов с учетом знака чисел с помощью коэффициента компенсации, и средство (10, 10 ) коррекции для вычитания выходного сигнала вычислительного устройства суммы квадратов (9, 9 ) из выходного сигнала вычислительного устройства (8, 8 ) средних значений для получения упомянутой оценки ПТ-уровня.
2. Гомодинное радиоприемное устройство по п.1, отличающееся тем, что упомянутый коэффициент компенсации составляет от -1 до -3 и предпочтительно -2.
3. Гомодинное радиоприемное устройство, содержащее гомодинный радиоприемник (11, 12, 13, 14, 15, 15 ) для приема пакетов радиочастотных сигналов, содержащих ряд символов, и формирования цифровых выборок по меньшей мере комплексного модулирующего сигнала (I и Q) из каждого пакета сигналов и средство (17) компенсации постоянного тока (ПТ), соединенное с гомодинным радиоприемником (11, 12, 13, 14, 15, 15 ) для определения оценки ПТ-уровня упомянутых выборок, причем средство (17) компенсации ПТ содержит вычислительное устройство (18, 18 ) средних значений для вычисления среднего ПТ-уровня упомянутых выборок, отличающееся тем, что средство (17) компенсации ПТ дополнительно содержит вычислительное устройство (19, 19 ) суммы с учетом знака чисел для вычисления суммы с учетом знака чисел множества упомянутых выборок и взвешивания упомянутой суммы с помощью коэффициента компенсации и средство (20, 20 ) коррекции для вычитания выходного сигнала вычислительного устройства (19, 19 ) суммы с учетом знака чисел из выходного сигнала вычислительного устройства (18, 18 ) средних значений для получения упомянутой оценки ПТ-уровня.
4. Гомодинное радиоприемное устройство по п.3, отличающееся тем, что упомянутые выборки имеют величину амплитуды по меньшей мере 40% амплитуды упомянутого модулирующего сигнала.
5. Гомодинное радиоприемное устройство по п. 4, отличающееся тем, что коэффициент компенсации составляет 0,0055-0,0065 и предпочтительно 0,006.
6. Гомодинное радиоприемное устройство по любому из пп.1-5, отличающееся тем, что упомянутое средство (7; 17) компенсации ПТ является устройством для обработки цифровых сигналов.
7. Гомодинное радиоприемное устройство по любому из пп.1-5, отличающееся тем, что гомодинный радиоприемник включает в себя средство (1, 2, 3; 11, 12, 13) для приема сигналов, соединенное с квадратурным понижающим преобразователем (4; 14) для преобразования с понижением частоты упомянутого пакета сигналов до по меньшей мере комплексного модулирующего сигнала (I и Q), и аналого-цифровой преобразователь (5, 5 ; 15, 15 ) для формирования упомянутых выборок.
8. Гомодинное радиоприемное устройство по любому из пп.1-5, отличающееся тем, что упомянутое средство (10, 10 , 20, 20 ) коррекции выполнено с возможностью вычитания упомянутой оценки ПТ-уровня из каждой выборки.
9. Процессор сигналов для компенсации уровня постоянного тока (ПТ-уровня) пакетов радиочастотных сигналов, принятых гомодинным радиоприемником, содержащий средство для приема сигналов для приема цифровых выборок по меньшей мере комплексного модулирующего сигнала (I и Q), сформированного упомянутым гомодинным радиоприемником, средство (7) компенсации для определения оценки ПТ-уровня упомянутых выборок, вычислительное устройство (8, 8 ) средних значений для вычисления среднего ПТ-уровня упомянутых выборок, отличающийся тем, что содержит вычислительное устройство (9, 9 ) суммы квадратов с учетом знака чисел для вычисления суммы квадратов с учетом знака чисел множества упомянутых выборок и взвешивания упомянутой суммы квадратов с помощью коэффициента компенсации и средств (10, 10 ) коррекции для вычитания выходного сигнала упомянутого вычислительного устройства (9, 9 ) суммы квадратов из выходного сигнала вычислительного устройства (8, 8 ) средних значений для получения упомянутой оценки ПТ-уровня.
10. Процессор сигналов по п.9, отличающийся тем, что упомянутый коэффициент компенсации составляет от -1 до -3 и предпочтительно -2.
11. Процессор сигналов для компенсации уровня постоянного тока (ПТ-уровня) пакетов радиочастотных сигналов, принятых гомодинным радиоприемником, содержащий средство для приема сигналов для приема цифровых выборок по меньшей мере комплексного модулирующего сигнала (I и Q), сформированного упомянутым гомодинным радиоприемником, средство (17) компенсации ПТ для определения оценки ПТ-уровня упомянутых выборок, вычислительное устройство (18, 18 ) средних значений для вычисления среднего ПТ-уровня упомянутых выборок, отличающийся тем, что содержит вычислительное устройство (19, 19 ) суммы с учетом знака чисел для вычисления суммы с учетом знака чисел множества упомянутых выборок и взвешивания упомянутой суммы с помощью коэффициента компенсации и средство (20, 20 ) коррекции для вычитания выходного сигнала упомянутого вычислительного устройства (19, 19 ) суммы с учетом знака чисел из выходного сигнала упомянутого вычислительного устройства (18, 18 ) средних значений для получения упомянутой оценки ПТ-уровня.
12. Процессор сигналов по п.11, отличающийся тем, что упомянутые выборки имеют величину амплитуды по меньшей мере 40% амплитуды упомянутого модулирующего сигнала.
13. Процессор сигналов по п.12, отличающийся тем, что упомянутый коэффициент компенсации составляет 0,0055-0,0065 и предпочтительно 0,006.
14. Процессор сигналов по любому из пп.9-13, отличающийся тем, что упомянутый гомодинный радиоприемник включает в себя средство (1, 2, 3; 11, 12, 13) для приема сигналов, соединенное с квадратурным понижающим преобразователем (4; 14) для преобразования с понижением частоты упомянутого пакета сигналов по меньшей мере в комплексный модулирующий сигнал (I и Q), и аналого-цифровой преобразователь (5, 5 ; 15, 15 ) для формирования упомянутых выборок.
15. Процессор сигналов по любому из пп. 9-13, отличающийся тем, что упомянутое средство (10,10 ; 20, 20 ) коррекции выполнено с возможностью вычитания упомянутой оценки ПТ-уровня из каждой выборки.
16. Способ оценки уровня постоянного тока (ПТ-уровня) в гомодинном радиоприемном устройстве, заключающийся в том, что принимают в устройстве пакет радиочастотных сигналов, содержащий ряд символов, формируют цифровые выборки по меньшей мере комплексного модулирующего сигнала (I и Q) из каждого пакета сигналов, и определяют оценку среднего ПТ-уровня упомянутых выборок, отличающийся тем, что дополнительно определяют сумму квадратов с учетом знака чисел множества упомянутых выборок и взвешивают упомянутую сумму квадратов с помощью коэффициента компенсации и вычитают упомянутую сумму квадратов с учетом знака чисел из упомянутого среднего ПТ-уровня для получения оценки упомянутого ПТ-уровня.
17. Способ по п.16, отличающийся тем, что упомянутый коэффициент компенсации составляет от -1 до -3 и предпочтительно -2.
18. Способ оценки уровня постоянного тока (ПТ-уровня) в гомодинном радиоприемном устройстве, заключающийся в том, что принимают в устройстве пакет радиочастотных сигналов, содержащий ряд символов, формируют цифровые выборки по меньшей мере комплексного модулирующего сигнала (I и Q) из каждого пакета сигналов и определяют среднюю оценку ПТ-уровня упомянутых выборок, отличающийся тем, что дополнительно определяют сумму с учетом знака чисел множества упомянутых выборок и взвешивают упомянутую сумму с учетом знака чисел с помощью коэффициента компенсации и вычитают упомянутую сумму с учетом знака чисел из упомянутого среднего ПТ-уровня для получения упомянутой оценки ПТ-уровня.
19. Способ по п.18, отличающийся тем, что упомянутый коэффициент компенсации составляет 0,0055-0,0065 и предпочтительно 0,006.
РИСУНКИ
|
|