|
(21), (22) Заявка: 2003127326/28, 08.09.2003
(24) Дата начала отсчета срока действия патента:
08.09.2003
(45) Опубликовано: 27.11.2004
(56) Список документов, цитированных в отчете о поиске:
SU 550702 А, 15.03.77. SU 1725170 A1, 07.04.92. Справочник по электротехническим материалам/ Под ред. Ю.В.КОРИЦКОГО и др. – М.: Энергия, т.2, 1974, с.538. RU 2028637 C1, 02.09.95. US 3845345 А, 29.10.74. ЕР 0458505 А1, 14.05.91.
Адрес для переписки:
302020, г.Орел, Наугорское ш., 29, ОрелГТУ
|
(72) Автор(ы):
Емельянов А.А. (RU), Емельянова Е.А. (RU)
(73) Патентообладатель(и):
Орловский государственный технический университет (RU)
|
(54) СПОСОБ ПОВЫШЕНИЯ ЭЛЕКТРИЧЕСКОЙ ПРОЧНОСТИ ВАКУУМНОЙ ИЗОЛЯЦИИ
(57) Реферат:
Изобретение относится к технике высоких напряжений, в частности к технике электрической изоляции в вакууме, и может быть использовано в электронной промышленности. Технический результат состоит в повышении электрической прочности вакуумной изоляции. Для достижения технического результата осуществляют тренировку вакуумного промежутка одиночными импульсами высокого напряжения более короткой длительности, чем длительность эксплуатационного напряжения, полярностью, соответствующей полярности эксплуатационного напряжения при амплитудах, поддерживающих время запаздывания пробоя равным длительности кондиционирующего импульса. 1 ил.

Изобретение относится к технике высоких напряжений, в частности к области электрической изоляции в вакууме, и может быть использовано в электронной промышленности для повышения электрической прочности вакуумной изоляции электровакуумных приборов и конструкций.
Известен способ повышения электрической прочности вакуумной изоляции, включающий тренировку вакуумного промежутка высоковольтными пробоями на импульсном напряжении [1].
Недостатком способа является то, что тренировку осуществляют импульсами большой длительности, при этом не удается обеспечить существенного улучшения микрорельефа катодной поверхности и повышения электрической прочности вакуумной изоляции по сравнению с тренировкой пробоями постоянного тока.
Наиболее близким техническим решением, выбранным в качестве прототипа, является способ повышения электрической прочности вакуумной изоляции [2]. Способ включает тренировку вакуумного промежутка одиночными высоковольтными пробоями импульсного напряжения более короткой длительности, чем длительность эксплуатационного напряжения, полярностью, соответствующей полярности эксплуатационного напряжения.
Однако этот способ повышения электрической прочности вакуумной изоляции не предусматривает оптимизации амплитуды импульсного напряжения.
Задача, на решение которой направлено изобретение, состоит в повышении эффективности способа за счет оптимизации амплитуды импульсов высокого напряжения.
Это достигается тем, что в известном способе повышения электрической прочности вакуумной изоляции, включающем тренировку вакуумного промежутка одиночными импульсами высокого напряжения более короткой длительности, чем длительность эксплуатационного напряжения, полярностью, соответствующей полярности эксплуатационного напряжения, тренировку осуществляют при амплитудах, поддерживающих время запаздывания пробоя равным длительности кондиционирующего импульса.
Введение операции тренировки при амплитудах, поддерживающих время запаздывания пробоя равным длительности кондиционирующего импульса tз=tи, позволяет повысить эффективность способа за счет оптимизации амплитуды импульсов.
Согласно критерию оптимальности импульсного кондиционирования [3]

энергия, выделяемая в эмиттере за время tи действия импульса, остается величиной постоянной и равной энергии его разрушения.
Условием оптимизации импульсного кондиционирования, повышающего качество катодной поверхности и электрическую прочность изоляции, является поддержание времени запаздывания пробоя равным длительности кондиционирующих импульсов tз=tи. Средством однозначного установления условия оптимальности является осциллографирование импульсов напряжения или тока в промежутке.
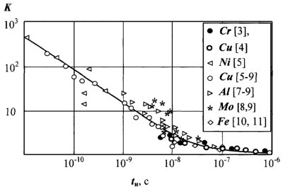
С уменьшением длительности импульсов оптимального режима, обеспечивающих выделение в эмиттере постоянной энергии, равной энергии его разрушения, возрастает мощность кондиционирующих импульсов и эффективность тренировки. Наибольший эффект достигается при tи 10-10 c.
Сущность способа поясняет график, отражающий изменение качества катодной поверхности и электрической прочности с изменением длительности кондиционирующих импульсов при амплитудах, поддерживающих время запаздывания пробоя равным длительности кондиционирующего импульса.
Способ повышения электрической прочности вакуумной изоляции осуществляют следующим образом.
На вакуумный промежуток подают импульсы высокого напряжения более короткой длительности, чем длительность эксплуатационного напряжения, увеличивая их амплитуду до величины на грани возникновения пробоя. С помощью осциллографа контролируют время запаздывания пробоя по началу резкого спада напряжения или роста тока в промежутке. Изменяя амплитуду, поддерживают время запаздывания равным длительности кондиционирующих импульсов и выполняют тренировку до достижения установившегося значения амплитуды.
Для осуществления способа используют генератор высоковольтных наносекундных импульсов.
Согласно заявляемому способу с помощью наносекундного генератора, формировавшего на несогласованной нагрузке импульсы напряжением 5 Uи 60 кВ и длительностью 4 tи 800 нc, осуществлена тренировка медных электродов при величине межэлектродного промежутка 0,5 мм, а также электродов из хрома при d=0,9 мм. Контроль времени запаздывания пробоя и длительности кондиционирующих импульсов произведен с помощью осциллографа С-9-4А и емкостного делителя напряжения. Результаты обработки катода импульсами разной длительности tи=tз оценены по коэффициенту усиления поля и характеристикам электрической прочности изоляции [4, 5]. По относительному изменению коэффициента усиления поля с изменением длительности кондиционирующих импульсов при амплитудах, поддерживающих время запаздывания пробоя равным длительности кондиционирующего импульса, определен коэффициент изменения качества катодной поверхности и электрической прочности изоляции.
Коэффициент изменения электрической прочности также был рассчитан по известным экспериментальным данным по времени запаздывания вакуумного пробоя [6-12], соответствующим кондиционированию импульсами длительностью, равной времени запаздывания пробоя.
Результаты экспериментов представлены в виде зависимости коэффициента повышения электрической прочности от длительности кондиционирующих импульсов.
Из приведенной на чертеж кривой следует, что предлагаемый способ позволяет повышать качество катодной поверхности и электрическую прочность вакуумной изоляции до 2-х порядков величины и более.
Данный способ увеличивает эффективность известного способа повышения электрической прочности вакуумной изоляции за счет оптимизации амплитуды импульсов высокого напряжения.
Источники информации
1. Сливков И.Н. Электроизоляция и разряд в вакууме – М.: Атомиздат, 1972, С. 90.
2. А.с. СССР №550702. Способ повышения электрической прочности вакуумной изоляции. Б.И. №10, 1977/ А.А. Емельянов, Г.М. Кассиров, Г.В. Смирнов – прототип.
Формула изобретения
Способ повышения электрической прочности вакуумной изоляции, включающий тренировку вакуумного промежутка одиночными импульсами высокого напряжения более короткой длительности, чем длительность эксплуатационного напряжения, полярностью, соответствующей полярности эксплуатационного напряжения, отличающийся тем, что тренировку осуществляют при амплитудах, поддерживающих время запаздывания пробоя равным длительности кондиционирующего импульса.
РИСУНКИ
MM4A – Досрочное прекращение действия патента СССР или патента Российской Федерации на изобретение из-за неуплаты в установленный срок пошлины за поддержание патента в силе
Дата прекращения действия патента: 09.09.2005
Извещение опубликовано: 10.06.2007 БИ: 16/2007
|