|
|
(21), (22) Заявка: 2003124004/02, 04.08.2003
(24) Дата начала отсчета срока действия патента:
04.08.2003
(45) Опубликовано: 27.11.2004
(56) Список документов, цитированных в отчете о поиске:
US 5147975 A, 15.09.1992. US 4750424 A, 14.06.1988. RU 2147116 C1, 27.03.2000.
Адрес для переписки:
188662, Ленинградская обл., Всеволожский р-н, пос. Мурино, ул. Лесная, 3, ФГУП “НИИ “Поиск”, начальнику отдела В.Н. Жилину
|
(72) Автор(ы):
Андреев В.В. (RU), Егоренков Л.С. (RU), Киселев В.И. (RU), Кескинов А.Я. (RU), Платонов Н.А. (RU), Лукин В.А. (RU)
(73) Патентообладатель(и):
Федеральное государственное унитарное предприятие “Научно-исследовательский институт “Поиск” (RU)
|
(54) ДИСТАНЦИОННО-КОНТАКТНЫЙ ВЗРЫВАТЕЛЬ ДЛЯ МОРСКИХ СИСТЕМ ЗАЛПОВОГО ОГНЯ
(57) Реферат:
Изобретение относится к области дистанционно-контактных взрывателей для реактивных глубинных бомб морских систем залпового огня. Сущность изобретения заключается в том, что взрыватель дополнительно содержит предохранительно-пусковое устройство, включающее электровоспламенитель, пиротехнический замедлитель со стопором и инерционный элемент, движок с выступом, которым удерживается подпружиненная предохранительная гильза, обеспечивающая включение часового механизма временного устройства. Устройство ввода времени дистанционного действия выполнено в виде концентрических, токопроводящих, изолированных колец. Узел установки времени дистанционного действия содержит электродвигатель с диском, имеющим фигурную прорезь под стрелу часового механизма, и фиксатором, причем обмотки электродвигателя соединены с токопроводящими кольцами устройства ввода времени дистанционного действия, боковые полюса электромагнитов снабжены выступами, упирающимися в паз корпуса узла установки, который выполнен концентрично с осью ротора электродвигателя, обеспечивая зазор между ротором и полюсами электромагнитов электродвигателя в пределах 0,05-0,15 мм. В качестве временного устройства использовано устройство с механическим отсчетом времени, например часовой механизм. Концентрические, токопроводящие, изолированные кольца армированы во втулку из диэлектрического материала, например пресс-материал на основе эпоксидной смолы. В качестве пиротехнического замедлителя использован замедлитель, время замедления которого составляет (0,8-0,9) от времени активного участка реактивного двигателя боеприпаса. Технический результат – возможность автоматизации ввода времени дистанционного действия взрывателя, отсчет этого времени от момента приводнения бомбы, повышение надежности и точности установки дистанционного времени действия, повышение безопасности взрывателя как в служебном обращении и в аварийных ситуациях, так и при боевом применении взрывателя. 4 з.п. ф-лы, 5 ил.

Изобретение относится к области военной техники, а более конкретно к дистанционно-контактным взрывателям для реактивных глубинных бомб морских систем залпового огня.
Известны дистанционно-контактные взрыватели по патентам США №4389937, МПК F 42 C 9/02, F 42 C 15/04, F 42 C 15/34, опубл. 28.06.1983; №4739706, МПК F 42 C 9/02, F 42 C 9/14, F 42 C 15/24, опубл. 26.04.1988, у которых дистанционное действие фиксировано и не переустанавливается перед выстрелом. Общими признаками с заявляемым взрывателем является наличие часового механизма и контактных датчиков цели. Эти взрыватели взводятся от больших перегрузок артиллерийского выстрела и не могут быть использованы в глубинных реактивных бомбах.
Электронный дистанционный взрыватель по патенту США №4750424 (МПК F 42 C 9/00), опубл. 14.06.1988, содержит электронное временное устройство, которое программируется перед выстрелом ручным установщиком. Взрыватель не имеет контактного действия. Общим признаком с заявляемым взрывателем является наличие программируемого временного устройства. Однако взрыватель-аналог не может использоваться в условиях автоматизированного выстрела, так как нет возможности дистанционно вводить время дистанционного действия взрывателя при нахождении снаряда на пусковой установке.
Наиболее близким к заявляемому можно рассматривать электронный дистанционный взрыватель (патент США №5147975, МПК F 42 C 15/40, опубл. 15.09.1992), состоящий из временного электронного устройства, позволяющего инициировать три независимые огневые цепи. Первая огневая цепь используется для раскрытия парашюта и удаления защитного колпака зонда (телескопического контактного датчика цели) взрывателя и запуска механического таймера, замедляющего развертывание шестифутового зонда. Вторая огневая цепь срабатывает по окончании развертывания зонда, ее детонация подготавливает боевую цепь. Автоматический электронный таймер короткой продолжительности, запускаемый контактным датчиком цели, обеспечивает срабатывание боевой цепи взрывателя.
Взрыватель по патенту №5147975, выбранный в качестве прототипа, содержит устройство ввода времени дистанционного действия в виде жгута, который разрывается при начале движения снаряда в пусковом устройстве, узел установки, включающий электронный часовой механизм временного устройства, электронное временное устройство, предохранительно-исполнительный механизм с огневой цепью предохранительного типа, включающий поворотную втулку, удерживаемую в исходном (невзведенном) положении инерционным грузиком, контактный датчик цели и детонирующее устройство. Перед пуском на пусковой установке вводится время дистанционного действия каждому взрывателю в определенной последовательности, после чего проходит сигнал на каждый пиропатрон двигателей снаряда.
К причинам, препятствующим достижению указанного ниже технического результата при использовании известного устройства, принятого за прототип, относится то, что регулируемое дистанционное действие взрывателя осуществляется в малом диапазоне времени (1-12 секунд) и только на воздушной траектории, до встречи снаряда с преградой, время замедления после встречи снаряда с преградой фиксированное, взрыватель негерметичен, кроме того, не содержит контактного устройства для автоматизированного ввода времени дистанционного действия взрывателя.
В условиях современного боя стрельба из всех видов корабельного вооружения должна осуществляться из внутренних отсеков корабля с автоматической подачей боеприпасов из погреба в установки подготовки и производства выстрела в автоматическом режиме, то есть с автоматической установкой времени действия (глубины подрыва) взрывателя в составе глубинной бомбы, находящейся в направляющей трубе многоствольной установки системы залпового огня.
Известно, что реактивные системы обладают весьма незначительными и нестабильными баллистическими характеристиками, что требует разработки специальных технических решений, обеспечивающих надежное действие предохранительных механизмов при боевом применении и безопасности в служебном обращении. Дистанционное время действия взрывателя глубинных бомб должно отсчитываться от момента приводнения, что должно быть эквивалентно глубине подрыва бомбы.
Общими признаками с предлагаемым изобретением во взрывателе-прототипе является наличие устройства ввода времени дистанционного действия с узлом его установки, электронного временного устройства, предохранительно-исполнительного механизма с огневой цепью предохранительного типа и инерционным элементом контактного датчика цели и детонирующего устройства.
Задачей предлагаемого изобретения является повышение эффективности поражения подводных целей, а также безопасности и надежности боевого применения взрывателя и безопасности в служебном обращении.
Техническим результатом изобретения является возможность автоматизации ввода времени дистанционного действия взрывателя, отсчет этого времени от момента приводнения бомбы, повышение надежности и точности установки дистанционного времени действия, повышение безопасности взрывателя как в служебном обращении и в аварийных ситуациях, так и при боевом применении взрывателя.
Сущность изобретения заключается в том, что в дистанционный контактный взрыватель, содержащий устройство ввода времени дистанционного действия с узлом его установки, временное устройство, предохранительно-исполнительный механизм с огневой цепью предохранительного типа и инерционным элементом, контактный датчик цели и детонирующее устройство, дополнительно введено предохранительно-пусковое устройство, включающее электровоспламенитель, пиротехнический замедлитель со стопором и инерционный элемент, движок с выступом, которым удерживается подпружиненная предохранительная гильза, обеспечивающая включение часового механизма временного устройства. Устройство ввода времени дистанционного действия выполнено в виде концентрических, токопроводящих, изолированных колец. Узел установки времени дистанционного действия содержит электродвигатель с диском, имеющим фигурную прорезь под стрелу часового механизма, и фиксатором, причем обмотки электродвигателя соединены с токопроводящими кольцами устройства ввода времени дистанционного действия, боковые полюса электромагнитов снабжены выступами, упирающимися в паз корпуса узла установки, который выполнен концентрично с осью ротора электродвигателя, обеспечивая зазор между ротором и полюсами электромагнитов электродвигателя в пределах 0,05-0,15 мм. В качестве временного устройства использовано устройство с механическим отсчетом времени, например часовой механизм. В качестве электродвигателя использован силовой импульсный трехфазный электродвигатель. Концентрические, токопроводящие, изолированные кольца армированы во втулку из диэлектрического материала, например пресс-материал на основе эпоксидной смолы. В качестве пиротехнического замедлителя использован замедлитель, время замедления которого составляет (0,8-0,9) от времени активного участка реактивного двигателя боеприпаса.
Дистанционно-контактный взрыватель изобретения сконструирован как взрыватель для глубинных реактивных бомб, выстреливаемых с пусковых установок кораблей и поражающих подводные лодки. Срабатывание взрывателя происходит через заранее установленное время дистанционного действия (глубины нахождения подводной лодки) или контактно в случае попадания в нее глубинной бомбы.
Изобретение поясняется следующими чертежами:
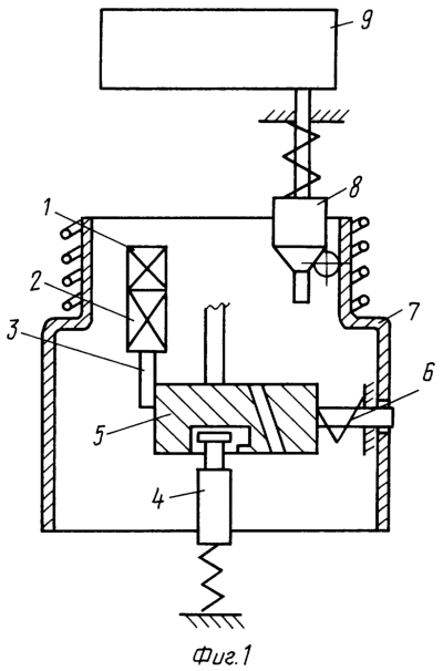
фиг.1 – конструкция предохранительно-пускового устройства;
фиг.2 – узел установки;
фиг.3 – устройство ввода времени дистанционного действия;
фиг.4 – электрокинематическая схема дистанционного ввода времени дистанционного действия взрывателя;
фиг.5 – блок-схема взрывателя.
Конструкция предохранительно-пускового устройства, приведенная на фиг.1, включает электровоспламенитель 1, пирозамедлитель 2, стопор 3, инерционный стопор 4, движок 5, пружину 6, инерционную (предохранительную) гильзу 7, стопор 8. Электровоспламенитель 1, пирозамедлитель 2, стопор пирозамедлителя 3 образуют пиротехнический стопор, который располагается на пути перемещения в боевое положение движка 5. Инерционный стопор 4 удерживает движок 5 в исходном положении при отсутствии линейных перегрузок. В боевое положение движок перемещается под действием пружины 6. У движка 5 имеется выступ, который в исходном положении располагается в пазу инерционной гильзы, фиксируя ее в исходном положении взрывателя. Стопор 8 нижним своим концом удерживается через шарик инерционной гильзой 7. Верхний конец стопора 8 блокирует временное устройство (часовой механизм) 9.
Устройство ввода времени дистанционного действия, приведенное на фиг.2, включает контактные кольца 10, диэлектрическую втулку 11, контакт 12, гнездо контакта 13. Токопроводящие контактные кольца 10 армированы в изоляционную втулку 11, которая с одной стороны обеспечивает электрическую изоляцию контактных колец между собой и с металлическими частями взрывателя, а с другой стороны обеспечивает герметичность внутренней полости взрывателя. Материал втулки, например, пресс-материал типа ДСВ. Контактные кольца 10 с внутренней стороны имеют контакты 12, которые через плавающие гнезда 13 соединяются с обмоткой полюсов статора электродвигателя установочного устройства.
Конструкция установочного трехфазного электродвигателя узла установки, приведенная на фиг.3, включает корпус 14, электромагниты статора 15, электромагнит фиксатора 16, ротор 17, полюс электромагнита 18, якорь 19, колесо 20. Установочный механизм собран в корпусе 14 и состоит из 3-х электромагнитов статора 15, электромагнита фиксатора 16, ротора 17. Каждый электромагнит статора имеет 3 полюса: два боковых, образованных щечками кожуха электромагнита 15, и один центральный 18. Электромагнит фиксатора 16 имеет подпружиненный якорь 19, носик которого входит во впадину колеса 20 и фиксирует ротор 17 в неподвижном положении. Крепление электромагнитов осуществляется винтами до упора выступов на боковых полюсах электромагнитов в кольцевой, концентричный относительно центральной оси, выступ в корпусе установочного механизма.
Электромагниты установочного механизма включены в “звезду”, общим проводом является обмотка фиксатора 16, поэтому каждый импульс от наземного установщика одновременно поступает в электромагниты фиксатора и статора. Поскольку импульсы, поступающие поочередно на каждый электромагнит статора, следуют с перекрытием, то начиная с 1-го импульса и в течение всей установки фиксатор 19 поджат к электромагниту 16, носик фиксатора выходит из зацепления с колесом 20 и не мешает ротору 17 вращаться под действием магнитного поля. Ротор, вращаясь, обеспечивает разворот диска 18 относительно первоначального положения на определенный угол. При работе часового механизма начинает вращаться его стрела 19, вращаясь, стрела выбирает угол рассогласования с прорезью в планке диска установки. При достижении прорези стрела под действием пружины проскакивает в прорезь и обеспечивает инициирование боевой цепи взрывателя по дистанционному действию. Колебание зазора между полюсами ротора и статора находятся в пределах 0,1 мм и со временем не меняется, поскольку кольцевой выступ в корпусе по существу является постоянным калибром на расположение полюсов статора, что обеспечивает необходимую точность установки времени действия взрывателя.
Электрокинематическая схема дистанционного ввода времени дистанционного действия взрывателя, приведенная на фиг.4, включает токопроводящие контактные кольца 10, обмотки полюсов статора электродвигателя 15, обмотку фиксатора 16, ротор электродвигателя 17, установочный диск 18, стрелу часового механизма 19, часовой механизм 9. Выводы начала обмоток 15 полюсов электродвигателя соединены с контактными токопроводящими кольцами 10, через которые с установочной наземной аппаратуры подаются установочные импульсы. Ротор 17 электродвигателя соединен с установочным диском, имеющим фигурную прорезь по конфигурации стрелы 19 часового механизма. При совмещении стрелы часового механизма с фигурной прорезью в установочном диске 18 стрела 19 под действием пружины перемещается в фигурную прорезь. Перемещение стрелы 19 формирует инициирующий импульс на срабатывание боевой цепи взрывателя (конец установленного дистанционного действия взрывателя).
Блок-схема взрывателя, приведенная на фиг.5, включает устройство ввода времени дистанционного действия 20, узел установки времени дистанционного действия 21, предохранительно-пусковое устройство 22, временное устройство 9, предохранительно-исполнительный механизм 235, датчик цели 24, детонирующее устройство 25.
Перед выстрелом с аппаратуры наземной установки (прибора управления) через ее подпружиненные пальцы, находящиеся в контакте с контактными кольцами 10 (фиг.2) взрывателя, подается серия последовательных прямоугольных импульсов, соответствующая необходимому времени дистанционного действия взрывателя. Эти импульсы поступают на узел установки времени дистанционного действия 21, который производит установку временного устройства 9 на необходимое время действия взрывателя. Реактивная бомба подготовлена к выстрелу.
В момент выстрела с наземной аппаратуры через устройство ввода времени дистанционного действия 20 на электровоспламенитель 1 (фиг.1) предохранительно-пускового устройства 22 подается электрический импульс, который, воспламеняя пирозамедлительный стопор 3 (фиг.1), снимает ступень предохранения взрывателя. Линейные перегрузки активного участка воздушного полета глубинной реактивной бомбы воздействуют на инерционный стопор 4 (фиг.1) и при его оседании снимается последующая ступень предохранения и освобождается инерционная гильза 7, которая при приводнении бомбы запускает временное устройство, начинается отсчет установленного времени дистанционного действия взрывателя. Одновременно с этим снимается ступень предохранения с предохранительно-исполнительного механизма 23 и происходит разблокировка датчика цели 24. Если до истечения времени дистанционного действия происходит контакт с подводной целью, срабатывает контактный датчик цели, который приводит к инициированию детонирующего устройства, приводящего к взрыву бомбы. Если до истечения времени дистанционного действия контакта не было, то временное устройство по окончании отсчета установленного времени дистанционного действия инициирует воспламенительный импульс, который приводит к задействованию детонирующего устройства, приводящего к взрыву бомбы.
Заявляемое изобретение позволяет размещать снаряд в направляющей трубе пусковой установки без его ориентирования, что значительно упрощает подготовку выстрела и сокращает время от момента получения целеуказания до производства пуска, т.е. сокращает возможность маневра подводной цели в зоне поражения.
Современные корабли – носители пусковых установок имеют очень мощное энергооборудование, работающее в широком диапазоне частот и являющееся сильным источником помех для электронных устройств взрывателей. В этой обстановке использование малочувствительных (грубых) входных устройств электрических взрывателей повышает их помехозащищенность и надежность работы в этих условиях.
При внешних механических воздействиях в эксплуатации и боевом применении заявляемый дистанционно-контактный взрыватель обеспечивает надежность и безопасность по сравнению с прототипом путем стопорения движка предохранительно-установочного устройства при случайной подаче напряжения на электровоспламенитель без наличия инерционной перегрузки, образуя “замок”, который приводит взрыватель в безопасное состояние при любых аварийных ситуациях, и стопорения ротора электродвигателя без подачи управляющих импульсов, что устраняет возможность сбоя введенной во взрыватель установки времени дистанционного действия.
Заявляемый дистанционно-контактный взрыватель обеспечивает подготовку и пуск в автоматическом режиме реактивных глубинных бомб из многоствольных установок морских систем залпового огня и поражение подводных целей на заранее установленной глубине.
Технический результат заявляемого изобретения подтвержден результатами многочисленных лабораторных и натурных испытаний.
Формула изобретения
1. Дистанционно-контактный взрыватель для морских систем залпового огня, содержащий устройство ввода времени дистанционного действия с узлом его установки, временное устройство, предохранительно-исполнительный механизм с огневой цепью предохранительного типа и инерционным элементом, контактный датчик цели и детонирующее устройство, отличающийся тем, что он дополнительно содержит предохранительно-пусковое устройство, включающее электровоспламенитель, пиротехнический замедлитель со стопором и инерционный элемент, движок с выступом, которым удерживается подпружиненная предохранительная гильза, обеспечивающая включение часового механизма временного устройства, устройство ввода времени дистанционного действия выполнено в виде концентрических, токопроводящих, изолированных колец, узел установки времени дистанционного действия содержит электродвигатель с имеющим фигурную прорезь под стрелу часового механизма диском и фиксатором, причем обмотки электродвигателя соединены с токопроводящими кольцами устройства ввода времени дистанционного действия, боковые полюса электромагнитов снабжены выступами, упирающимися в паз корпуса узла установки, который выполнен концентрично с осью ротора электродвигателя, обеспечивая зазор между ротором и полюсами электромагнитов электродвигателя в пределах 0,05-0,15 мм.
2. Дистанционно-контактный взрыватель по п.1, отличающийся тем, что в качестве временного устройства использовано устройство с механическим отсчетом времени, например часовой механизм.
3. Дистанционно-контактный взрыватель по п.1, отличающийся тем, что в качестве электродвигателя использован силовой импульсный трехфазный электродвигатель.
4. Дистанционно-контактный взрыватель по п.1, отличающийся тем, что концентрические, токопроводящие, изолированные кольца армированы во втулку из диэлектрического материала, например, пресс-материала на основе эпоксидной смолы.
5. Дистанционно-контактный взрыватель по п.1, отличающийся тем, что в качестве пиротехнического замедлителя использован замедлитель, время замедления которого составляет 0,8-0,9 от времени активного участка реактивного двигателя боеприпаса.
РИСУНКИ
MM4A – Досрочное прекращение действия патента СССР или патента Российской Федерации на изобретение из-за неуплаты в установленный срок пошлины за поддержание патента в силе
Дата прекращения действия патента: 05.08.2007
Извещение опубликовано: 27.02.2009 БИ: 06/2009
|
|