|
|
(21), (22) Заявка: 2003101265/02, 17.01.2003
(24) Дата начала отсчета срока действия патента:
17.01.2003
(43) Дата публикации заявки: 20.07.2004
(45) Опубликовано: 27.11.2004
(56) Список документов, цитированных в отчете о поиске:
SU 803941 A, 15.02.1981. SU 618565 A, 28.06.1978. RU 2143937 C1, 10.01.2000. US 4779801 A, 25.10.1988. US 5014790 A, 14.05.1991. WO 91/07208 A2, 30.05.1991.
Адрес для переписки:
142181, Московская обл., г.Климовск, ул.Заводская, 2, ООО “НТЦ”Версия”
|
(72) Автор(ы):
Хаджиева Я.Я. (RU), Шахворостов Н.Г. (RU), Герасименя В.П. (RU), Поддубный С.И. (RU), Лепешкин С.М. (RU), Исаева Е.В. (RU), Казанцев М.Э. (RU), Войлошников О.Д. (RU), Гольцман Е.В. (RU), Прокофьев И.Е. (RU)
(73) Патентообладатель(и):
Военно-инженерный университет (RU), ООО “Научно-технический центр “Версия” (RU)
|
(54) ПРИБОР ДЛЯ ГЕНЕРИРОВАНИЯ ВОДОВОЗДУШНОЙ И ТВЕРДЕЮЩЕЙ ПЕНЫ
(57) Реферат:
Изобретение относится к средствам для профилактики и тушения пожаров. Реализация изобретения позволяет повысить надежность и расширить функциональные возможности прибора. Сущность изобретения заключается в том, что прибор содержит две герметичные емкости с размещенными в них трубкой-сифоном и барботером соответственно, которые соединены посредством распределителя с источником сжатого воздуха и эжектором, последовательно соединенным с газожидкостным рукавом и брандспойтом. В корпусе распределителя размещено тело вращения, оснащенное сочетанием каналов, выполненных в разных плоскостях, проходящих через ось тела вращения. Канал, соединяющий емкость с эжектором, оснащен обратным клапаном. Прибор содержит загрузочные горловины, систему контроля давления, предохранительные клапаны, регулировочные краны и съемную оснастку. Прибор может быть подключен к выхлопной трубе ДВС подвижного объекта или любому источнику сжатого воздуха (газа). Предусмотрена легкая компактная упаковка прибора и его съемной оснастки. Для ввода кислотного отвердителя между брандспойтом и рукавом размещена емкость. На горловине емкости может устанавливаться пылеотсасывающий рукав, а в гнезде может размещаться распылитель. 22 з. п. ф-лы, 39 ил., 1 табл.

Изобретение относится к универсальным приборам для выполнения специальных работ, прежде всего на складах хранения боеприпасов и других материальных ценностей, а более конкретно к приборам, обеспечивающим осуществление способа взрыво-пожаропрофилактики на складах хранения боеприпасов по заявке на изобретение №2002117259/12 (018220) от 28.06.02 г. /1/. Кроме того, прибор обеспечивает очистку поверхностей водным составом; жидкостное опрыскивание; окраску поверхностей; порошковое распыление; нанесение (внесение) коллоидных растворов; уплотнение и закрепление грунтов; генерирование противопожарных и полимерных пен; изготовление вспененных теплоизолирующих, облицовочных и ограждающих материалов; очистку поверхностей от пыли.
Известно устройство, содержащее корпус, поперек которого установлена сетка с распылителем раствора пенообразователя. Перед сеткой расположены распылители твердых частиц и растворов, подключенные к источникам сжатого воздуха и емкостям для ингредиентов /2/. Согласно способу /2, 3/, двухфазный поток (газ+твердые частицы) через распылитель поступает на сетку устройства, смачиваемую раствором пенообразователя, подаваемого с помощью распылителя. На сетке образуется пена, которая подается в очаг пожара.
Недостатком известного аналога заявляемого устройства является высокая сложность получения на ней твердеющих полимерных пен, заключающаяся в затвердевании раствора на сетке и необходимости слишком частой тщательной промывки сетки, что является несовместимым технологическим процессом автоматического получения водо-воздушной и твердеющей пены.
Известна установка для получения твердеющих полимерных пен на основе карбамидно-формальдегидных смол (МФП), выбранная в качестве прототипа заявляемого прибора, содержащая соединенные между собой источник сжатого воздуха, клапаны, воздухораспределительные и жидкостные каналы, емкости с ингредиентами исходного пенообразующего раствора и смеситель /4/. Технологический процесс получения твердеющей полимерной пены (МФП) на известной установке включает подготовку установки к работе, пуск установки и получение МФП, а также остановку установки и ее очистку.
Недостатком известной установки, выбранной в качестве прототипа, является невозможность автоматического или дистанционного управления процессом надежного (без задержек и засоров) генерирования получения водо-воздушной и твердеющей полимерной пены.
Задачей изобретения является создание устройства для осуществления способа взрыво-пожаропрофилактики на складах хранения боеприпасов с одновременным расширением его функциональных возможностей, обеспечением его компактности и возможности его использования для выполнения ряда специальных работ на складах хранения материальных ценностей.
Указанная задача достигается тем, что прибор для выполнения специальных работ, содержащий газоотборное устройство, сопряженное с эжектором, соединенным с емкостью для раствора, согласно изобретению:
во-первых, он дополнительно оснащен газожидкостным рукавом с брандспойтом, распределителем и емкостью для твердых добавок, причем обе емкости выполнены герметично и оснащены загрузочными горловинами, регулируемыми предохранительными клапанами для сброса избыточного давления и системой контроля давления в емкостях, кроме того, емкость для твердых добавок оснащена барботером, соединенным перекрываемым газовым каналом с газоотборным устройством, и газожидкостным каналом, соединяющим верхнюю часть емкости с эжектором, а емкость для раствора выполнена в виде сифона, имеющего соединенный с системой перекрываемых газожидкостных каналов патрубок, доходящий до дна названной емкости, и газожидкостный канал, соединяющий верхнюю часть емкости с той же системой перекрываемых газожидкостных каналов распределителя, соединенной с газоотборным устройством, эжектором, патрубком емкости для раствора двумя вариантами в следующей последовательности:
во-первых, патрубок с эжектором, а газоотборное устройство с верхней частью емкости для растворов;
во-вторых, патрубок с газоотборным устройством, а эжектор с верхней частью емкости для растворов;
во-вторых, в нем емкость для растворов и емкость для твердых добавок выполнены в виде двухсекционной емкости, имеющей внутри герметичную перегородку, а над емкостью под углом к горизонту закреплен совмещенный с эжектором распределитель, причем диффузор эжектора расположен ниже его сопла и распределителя, кроме того, над распределителем и эжектором закреплена съемная крышка, имеющая ручку для переноса прибора и выполненная в виде усеченной емкости, совмещенной по всему периметру с верхней частью двухсекционной емкости, к тому же двухсекционная емкость и крышка к ней оснащены узлами совместного жесткого закрепления;
в-третьих, в нем распределитель выполнен в виде корпуса, внутри которого размещено тело вращения, причем в корпусе распределителя в одной плоскости, которой принадлежит ось тела вращения, выполнено пять каналов, образующих систему перекрываемых газожидкостных каналов распределителя и входящих в полость тела вращения, два канала из пяти выполнены с одной стороны полости и совмещены с эжектором и газоотборным устройством, соосно им с другой стороны полости выполнены два других канала, совмещенные соответственно с патрубком емкости для растворов и верхней частью этой же емкости, пятый канал, совмещенный с барботером емкости для твердых добавок, выполнен с одной из сторон полости в названной плоскости, кроме того, в теле вращения в одной плоскости выполнены два отверстия, соосные двум парам ответных каналов в корпусе распределителя и отверстие-канал, совмещенное в корпусе распределителя с ответным каналом, соединенным с барботером емкости для твердых добавок, а в теле вращения с каналом, соединяющим газоотборное устройство и верхнюю часть емкости для растворов, к тому же в другой плоскости, которой принадлежит продольная ось тела вращения, и не совмещенной, например ортогональной, с предыдущей, в теле вращения выполнены два отверстия, которые при совмещении последней плоскости с плоскостью отверстий в корпусе распределителя, накрест соединяют две пары каналов корпуса, не совмещаясь между собой в теле вращения и соответственно соединяя между собой патрубок с газоотборным устройством, а эжектор – с верхней частью емкости для растворов, при этом канал совмещенный с барботером емкости для твердых добавок, перекрыт телом вращения;
в-четвертых, в нем тело вращения подпружинено вдоль продольной оси пружиной, размещенной в выемке, совмещенной с каналом, соединяющим газоотборное устройство с барботером емкости для твердых добавок;
в-пятых, распределитель оснащен кранами, независимо регулирующими и перекрывающими подачу газа и жидкости по каналам, соединяющим газоотборное устройство с барботером; газоотборное устройство с верхней частью емкости для растворов; и патрубок емкости для растворов с эжектором;
в-шестых, в нем кран, перекрывающий канал, соединяющий патрубок емкости для растворов с эжектором, соосно размещен в теле вращения;
в-седьмых, в нем газоотборное устройство сопряжено со смесителем, соединенным с распределителем и емкостями, и состыкованным с газожидкостным рукавом;
в-восьмых, в нем смеситель выполнен в виде трубы, имеющей два канала, соединенных с емкостями, причем одним концом состыкованной с газожидкостным рукавом, а другим, имеющим резко уменьшенный внутренний диаметр, – с газоотборным устройством;
в-девятых, в нем смеситель выполнен в виде диффузора, сопряженного с газоотборным устройством, причем канал диффузора, соединяющий газоотборное устройство и диффузор, оснащен каналами, соединяющими его с емкостями прибора;
в-десятых, в нем газожидкостный канал, соединяющий верхнюю часть емкости для твердых добавок с эжектором, оснащен выпускным клапаном;
в-одиннадцатых, в нем газожидкостный канал, соединяющий верхнюю часть емкости для твердых добавок с эжектором, оснащен смотровым окном, перекрытым химически стойким прозрачным в видимом диапазоне спектра волн материалом;
в-двенадцатых, в нем газоотборное устройство содержит газоотборник, металлорукав, распределительную камеру и разъемные узлы совместного крепления и крепления к выхлопной трубе автомобиля, причем газоотборник включает крышку с предохранительным клапаном, ниппелем и патрубком, имеющим узел крепления к металлорукаву, другим концом который состыкован с камерой, расположенной в корпусе распределителя и соединенной каналами с эжектором-смесителем и системой перекрываемых газожидкостных каналов распределителя;
в-тринадцатых, в нем распределительная камера оснащена гнездами с заглушками для подключения источника сжатого воздуха (газа) и отбора сжатого воздуха (газа) к элементам съемной оснастки, при этом канал для подвода выхлопных газов оснащен впускным клапаном;
в-четырнадцатых, он снабжен емкостью для отвердителя, соединенной жидкостным рукавом с эжектором, установленным на газожидкостном рукаве перед брандспойтом;
в-пятнадцатых, в нем перед брандспойтом установлен смеситель, выполненный в крышке емкости для отвердителя и соединенный жидкостным каналом с патрубком, доходящим внутри емкости почти до ее дна, при этом емкость выполнена в виде сифона, имеющего впускной клапан;
в-шестнадцатых, он оснащен газовым рукавом (шлангом), соединяющим впускной клапан емкости для отвердителя с гнездом для отбора сжатого воздуха из распределительной камеры газоотборного устройства;
в-семнадцатых, он оснащен пылеотсасывающим рукавом, закрепленным к горловине емкости для твердых добавок, причем другой конец рукава оснащен сеткой и разъемом для крепления съемных насадок;
в-восемнадцатых, он оснащен распылителем, сопряженным с жидкостным рукавом (шлангом), который закреплен в гнезде, оснащенном заглушкой и соединенном жидкостным каналом с патрубком емкости для растворов;
в-девятнадцатых, в нем распылитель дополнительно соединен газовым рукавом (шлангом) с гнездом для отбора сжатого воздуха из распределительной камеры газоотборного устройства;
в-двадцатых, в нем отверстия, выполненные в теле вращения и накрест соединяющие две пары каналов, принадлежащих корпусу распределителя и соединяющих эжектор (смеситель) с верхней частью емкости для растворов и патрубок этой же емкости с газоотборным устройством, не соосны каналам корпуса, а входы и выходы из них обеспечены выемками, выполненными на поверхности контакта тела вращения и корпуса распределителя;
в-двадцать первых, в нем тело вращения обеспечено двумя непересекающимися между собой отверстиями, соосными двум парам ответных каналов корпуса распределителя и соединяющими патрубок емкости для растворов с эжектором и газоотборное устройство с верхней частью этой же емкости, при этом канал, совмещенный с барботером емкости для твердых добавок, перекрыт телом вращения;
в-двадцать вторых, в нем тело вращения оснащено дополнительным отверстием, выполненным в плоскости, которой принадлежит продольная ось тела вращения и не совмещенной с другими плоскостями отверстий тела вращения, причем при совмещении последней плоскости с плоскостью отверстий корпуса распределителя дополнительное отверстие совпадает с ответными каналами корпуса распределителя, совмещенными с газоотборным устройством и барботером емкости для твердых добавок, при этом остальные каналы корпуса распределителя перекрыты телом вращения;
в-двадцать третьих, в нем тело вращения обеспечено отверстием, выполненным в плоскости, которой принадлежит продольная ось тела вращения и не совмещенной с предыдущими плоскостями отверстий тела вращения, причем при совмещении последней плоскости с плоскостью отверстий в корпусе распределителя последнее отверстие совпадает с ответными каналами, совмещенными с газоотборным устройством и верхней частью емкости для растворов, при этом остальные каналы корпуса распределителя перекрыты телом вращения;
в-двадцать четвертых, в нем эжектор и смеситель выполнены взаимозаменяемыми.
Сопоставительный анализ с прототипом позволяет сделать вывод, что заявляемый прибор отличается тем, что:
во-первых, он дополнительно оснащен газожидкостным рукавом с брандспойтом, распределителем и емкостью для твердых добавок. Обе емкости выполнены герметично и оснащены загрузочными горловинами, регулируемыми предохранительными клапанами для сброса избыточного давления и системой контроля давления в емкостях. Емкость для твердых добавок оснащена барботером, соединенным перекрываемым газовым каналом с газоотборным устройством, и газожидкостным каналом, соединяющим верхнюю часть емкости с эжектором. Емкость для раствора выполнена в виде сифона, имеющего соединенный с системой перекрываемых газожидкостных каналов патрубок, доходящий до дна названной емкости, и газожидкостный канал, соединяющий верхнюю часть емкости с той же системой перекрываемых газожидкостных каналов распределителя. Система перекрываемых газожидкостных каналов распределителя соединена с газоотборным устройством, эжектором, патрубком емкости для раствора двумя вариантами в следующей последовательности:
во-первых, патрубок с эжектором, а газоотводное устройство с верхней частью емкости для растворов;
во-вторых, патрубок с газоотводным устройством, а эжектор с верхней частью емкости для растворов;
во-вторых, в нем емкость для растворов и емкость для твердых добавок выполнены в виде двухсекционной емкости, имеющей внутри герметичную перегородку. Над двухсекционной емкостью под углом к горизонту закреплен совмещенный с эжектором распределитель. Диффузор эжектора расположен ниже его сопла и распределителя. Над распределителем и эжектором закреплена съемная крышка, имеющая ручку для переноса прибора. Крышка выполнена в виде усеченной емкости, совмещенной по всему периметру с верхней частью двухсекционной емкости, к тому же двухсекционная емкость и крышка к ней оснащены узлами совместного жесткого закрепления;
в-третьих, в нем распределитель выполнен в виде корпуса, внутри которого размещено тело вращения, причем в корпусе распределителя в одной плоскости, которой принадлежит ось тела вращения, выполнено пять каналов, образующих систему перекрываемых газожидкостных каналов распределителя и входящих в полость тела вращения. Два канала из пяти выполнены с одной стороны полости и совмещены с эжектором и газоотборным устройством, соосно им с другой стороны полости выполнены два других канала, совмещенные соответственно с патрубком емкости для растворов и верхней частью этой же емкости. Пятый канал, совмещенный с барботером емкости для твердых добавок, выполнен с одной из сторон полости в названной плоскости, кроме того, в теле вращения в одной плоскости выполнены два отверстия, соосные двум парам ответных каналов в корпусе распределителя, и отверстие-канал, совмещенное в корпусе распределителя, с ответным каналом, соединенным с барботером емкости для твердых добавок, а в теле вращения – с каналом, соединяющим газоотборное устройство и верхнюю часть емкости для растворов. В другой плоскости, которой принадлежит продольная ось тела вращения, и не совмещенной, например ортогональной, с предыдущей, в теле вращения выполнены два отверстия, которые при совмещении последней плоскости с плоскостью отверстий в корпусе распределителя, накрест соединяют две пары каналов корпуса, не совмещаясь между собой в теле вращения и соответственно соединяя между собой патрубок с газоотборным устройством, а эжектор – с верхней частью емкости для растворов, при этом канал, совмещенный с барботером емкости для твердых добавок, перекрыт телом вращения;
в-четвертых, в нем тело вращения подпружинено вдоль продольной оси пружиной, размещенной в выемке, совмещенной с каналом, соединяющим газоотборное устройство с барботером емкости для твердых добавок;
в-пятых, в нем распределитель оснащен кранами, независимо регулирующими и перекрывающими подачу газа и жидкости по каналам, соединяющим газоотборное устройство с барботером; газоотборное устройство с верхней частью емкости для растворов; и патрубок емкости для растворов с эжектором;
в-шестых, в нем кран, перекрывающий канал, соединяющий патрубок емкости для растворов с эжектором, соосно размещен в теле вращения;
в-седьмых, в нем газоотборное устройство сопряжено со смесителем, соединенным с распределителем и емкостями и состыкованным с газожидкостным рукавом;
в-восьмых, в нем смеситель выполнен в виде трубы, имеющей два канала, соединенных с емкостями, причем одним концом состыкованной с газожидкостным рукавом, а другим, имеющим резко уменьшенный внутренний диаметр, – с газоотборным устройством;
в-девятых, в нем смеситель выполнен в виде диффузора, сопряженного с газоотборным устройством, причем канал диффузора, соединяющий газоотборное устройство и диффузор, оснащен каналами, соединяющими его с емкостями прибора;
в-десятых, в нем газожидкостный канал, соединяющий верхнюю часть емкости для твердых добавок с эжектором, оснащен выпускным клапаном;
в-одиннадцатых, нем газожидкостный канал, соединяющий верхнюю часть емкости для твердых добавок с эжектором, оснащен смотровым окном, перекрытым химически стойким прозрачным в видимом диапазоне спектра волн материалом;
в-двенадцатых, в нем газоотборное устройство содержит газоотборник, металлорукав, распределительную камеру и разъемные узлы совместного крепления и крепления к выхлопной трубе автомобиля. Газоотборник включает крышку с предохранительным клапаном, ниппелем и патрубком, имеющим узел крепления к металлорукаву. Металлорукав имеет разъемные узлы крепления к газоотборнику и распределителю. Металлорукав состыкован с камерой, расположенной в корпусе распределителя. Камера соединена каналами с эжектором-смесителем и системой перекрываемых газожидкостных каналов распределителя;
в-тринадцатых, в нем распределительная камера оснащена гнездами с заглушками для подключения источника сжатого воздуха (газа) и отвода сжатого воздуха (газа) к элементам съемной оснастки, при этом канал для подвода выхлопных газов оснащен впускным клапаном;
в-четырнадцатых, он снабжен бачком для отвердителя, соединенным жидкостным рукавом с эжектором, установленным на газожидкостном рукаве перед брандспойтом;
в-пятнадцатых, в нем перед брандспойтом установлен смеситель, выполненный в крышке бачка для отвердителя и соединенный жидкостным каналом с патрубком, доходящим внутри бачка почти до ее дна, причем бачок выполнен в виде сифона, имеющего впускной клапан;
в-шестнадцатых, он оснащен газовым рукавом (шлангом), соединяющим впускной клапан емкости для отвердителя с гнездом для отбора сжатого воздуха из распределительной камеры газоотборного устройства;
в-семнадцатых, он оснащен пылеотсасывающим рукавом, закрепленным к горловине бачка для твердых добавок, причем другой конец рукава оснащен сеткой и разъемом для крепления съемных насадок;
в-восемнадцатых, он оснащен распылителем, сопряженным с жидкостным рукавом (шлангом), который закреплен в гнезде, оснащенном заглушкой и соединенным жидкостным каналом с патрубком емкости для растворов;
в-девятнадцатых, в нем распылитель дополнительно соединен газовым рукавом (шлангом) с гнездом для отбора сжатого воздуха из распределительной камеры газоотборного устройства;
в-двадцатых, в нем отверстия, выполненные в теле вращения и накрест соединяющие две пары каналов, принадлежащих корпусу распределителя и соединяющих эжектор (смеситель) с верхней частью емкости для растворов и патрубок этой же емкости с газоотборным устройством, не соосны каналам корпуса, а входы и выходы из них обеспечены выемками, выполненными на поверхности контакта тела вращения и корпуса распределителя;
в-двадцать первых, в нем тело вращения обеспечено двумя непересекающимися между собой отверстиями, соосными двум парам ответных каналов корпуса распределителя и соединяющими патрубок емкости для растворов с эжектором и газоотборное устройство с верхней частью этой же емкости, при этом канал, совмещенный с барботером емкости для твердых добавок, перекрыт телом вращения;
в-двадцать вторых, в нем тело вращения оснащено дополнительным отверстием, выполненным в плоскости, которой принадлежит продольная ось тела вращения и не совмещенной с другими плоскостями отверстий тела вращения, причем при совмещении последней плоскости с плоскостью отверстий корпуса распределителя дополнительное отверстие совпадает с ответными каналами корпуса распределителя, совмещенными с газоотборным устройством и барботером емкости для твердых добавок, при этом остальные каналы корпуса распределителя перекрыты телом вращения;
в-двадцать третьих, в нем тело вращения обеспечено отверстием, выполненным в плоскости, которой принадлежит продольная ось тела вращения и не совмещенной с предыдущими плоскостями отверстий тела вращения, причем при совмещении последней плоскости с плоскостью отверстий в корпусе распределителя последнее отверстие совпадает с ответными каналами, совмещенными с газоотборным устройством и верхней частью емкости для растворов, при этом остальные каналы корпуса распределителя перекрыты телом вращения;
в-двадцать четвертых, в нем смеситель и эжектор выполнены взаимозаменяемыми.
Таким образом, заявляемое техническое решение соответствует критерию “новизна”. Анализ известных технических решений (аналогов) в исследуемых областях, т.е. военного дела, приборов, обеспечивающих взрыво-пожаропрофилактику; очистку поверхностей водными составами; жидкостное опрыскивание; окраску поверхностей; внесение коллоидных растворов; порошковое распыление; генерирование противопожарной пены; изготовление вспененных теплоизолирующих, облицовочных и ограждающих материалов, позволяет сделать вывод об отсутствии в них признаков, сходных с существенными отличительными признаками в заявляемом приборе, и признать заявляемое решение соответствующим критерию “существенные отличия”.
Сущность изобретения поясняется чертежами, где показаны:
на фиг.1 – общий вид прибора в собранном виде (готового к работе);
на фиг.2 – фрагментальный разрез прибора;
на фиг.3 – вид прибора со стороны газоотборного устройства;
на фиг.4 – гидравлическая схема работы прибора в общем режиме;
на фиг.5 – гидравлическая схема работы прибора при перемешивании (барботировании) раствора в емкости 4;
на фиг.6 – прибор в транспортном положении (вид сбоку);
на фиг.7 – то же (вид с торца);
на фиг.8 – то же (вид сверху);
на фиг.9 – упаковочный ящик (вид сверху);
на фиг.10 – то же (вид сбоку);
на фиг.11 – то же (вид с торца);
на фиг.12 – тело вращения, в корпусе распределителя (разрез по А-А);
на фиг.13 – общий вид прибора, оснащенного кранами;
на фиг.14 – тело вращения, оснащенное краном (разрез по А-А);
на фиг.15 – смеситель, выполненный в виде диффузора;
на фиг.16 – смотровое окно (вид А);
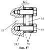
на фиг.17 – то же (разрез по Б-Б);
на фиг.18 – газоотборник;
на фиг.19 – регулируемый предохранительный клапан;
на фиг.20 – распределительная камера (показана частично) оснащенная дополнительными гнездами;
на фиг.21 – общий вид прибора, оснащенного емкостью (бачком) для отвердителя;
на фиг.22 – смеситель и впускной клапан, размещенные в крышке бачка для отвердителя (разрез В-В);
на фиг.23 – емкость (бачок) для отвердителя, в крышке которого выполнен смеситель и впускной клапан;
на фиг.24 – гидравлическая схема работы емкости (бачка) для отвердителя;
на фиг.25 – общий вид прибора, оснащенного пылеотсасывающим рукавом со съемными насадками;
на фиг.26 – распылитель;
на фиг.27 – распылитель (вариант);
на фиг.28 – тело вращения;
на фиг.29 – то же, повернутое на 90°;
на фиг.30 – то же, повернутое на 180°;
на фиг.31 – разрез тела вращения (разрез Г-Г);
на фиг.32 – то же (разрез Д-Д);
на фиг.33 – то же (разрез Е-Е);
на фиг.34 – то же (разрез Ж-Ж);
на фиг.35 – то же (разрез З-З);
на фиг.36 – гидравлическая схема работы прибора при генерировании раствора без твердых добавок;
на фиг.37 – то же, при генерировании пылевого состава;
на фиг.38 – то же, при работе распылителя;
на фиг.39 – щетка.
В таблице представлена спецификация чертежей.




Прибор для выполнения специальных работ 1 содержит газоотборное устройство 2, сопряженное с эжектором 3, соединенным с емкостью для раствора 4 и состыкованным с газожидкостным рукавом 5, содержащим на свободном конце брандспойт 6, а также распределитель 7 и емкость для твердых добавок 8. Обе емкости 4 и 8 выполнены герметично и оснащены загрузочными горловинами 9, регулируемыми предохранительными клапанами 10 для сброса избыточного давления и системой контроля давления 11 в емкостях 4 и 8 (см. фиг. 1, 2 и 3). Емкость для твердых добавок 8 оснащена барботером 12, соединенным перекрываемым газовым каналом 13 с газоотборным устройством 2. Емкость 8 также оснащена газожидкостным каналом 14, соединяющим верхнюю часть емкости 8 с эжектором 3. Емкость для растворов 4 выполнена в виде сифона, имеющего соединенный с системой перекрываемых газожидкостных каналов 15 патрубок 16, доходящий почти до дна 17 емкости 4 (см. фиг.1). Верхняя часть емкости для растворов 4 соединена газожидкостным каналом 18 с системой каналов 15 распределителя 7. Система перекрываемых газожидкостных каналов 15, в свою очередь, соединена с газоотборным устройством 2, эжектором 3, патрубком 16 емкости для растворов 4 двумя вариантами в следующей последовательности:
– во-первых (см. фиг.4), патрубок 16 с эжектором 3, а газоотборное устройство 2 с верхней частью емкости для растворов 4;
– во-вторых (см. фиг.5), патрубок 16 с газоотборным устройством 2, а эжектор 3 с верхней частью емкости для растворов 4.
Емкость для растворов 4 и емкость для твердых добавок 8 могут быть выполнены в виде двухсекционной емкости 19, имеющей внутри герметичную перегородку 20. Над двухсекционной емкостью 19 под углом к горизонту закреплен совмещенный с эжектором 3 распределитель 7, причем диффузор 21 эжектора 3 расположен ниже его сопла 22 и распределителя 7. Над распределителем 7 и эжектором 3 закреплена съемная крышка 23, имеющая ручку(и) 24 для переноса (см. фиг.6, 7 и 8). Крышка 23 выполнена в виде усеченной емкости, совмещенной по всему периметру с верхней частью двухсекционной емкости 19. Двухсекционная емкость 19 и крышка 23 к ней оснащены узлами совместного жесткого закрепления 25.
Для упаковки съемной оснастки прибора 1, включающей газожидкостный рукав 5, брандспойт 6 и т.д. в комплекте прибора предусматривается упаковочный ящик (чемоданчик) 26, оснащенный ручкой (ами) 27 для переноса (см. фиг.9-11).
Распределитель 7 прибора 1 может быть выполнен в виде корпуса 28, внутри которого размещено тело вращения 29. В корпусе 28 распределителя 7 в одной плоскости (см. фиг.1, 4 и 12), которой принадлежит ось 30 тела вращения 29, выполнено пять каналов (13, 18, 31, 32, 33), образующих систему перекрываемых газожидкостных каналов 15 распределителя 7 и входящих в полость 34 тела вращения 29. Два канала 31 и 32 из пяти (13, 18, 31, 32, 33) выполнены с одной стороны полости 34 и совмещены с эжектором 3 и газоотборным устройством 2, соосно им с другой стороны полости выполнены два других канала 33 и 18, совмещенные соответственно первым двум с патрубком 16 емкости для растворов 4 и верхней частью этой же емкости 4. Пятый канал 13, совмещенный с барботером 12 емкости для твердых добавок 8, выполнен с одной из сторон полости 34 в названной плоскости (см. фиг.1 и 5). В теле вращения 29 в одной плоскости (см. фиг.4 и 5) выполнены два отверстия 35 и 36, соосные двум парам ответных каналов (31, 33 и 32, 18) в корпусе 28 распределителя 7, и отверстие (канал) 37, совмещенное в корпусе 28 распределителя 7 с ответным каналом 13, соединенным с барботером 12 емкости для твердых добавок 8, а в теле вращения 29 – с каналом 36, соединяющим газоотборное устройство 2 и верхнюю часть емкости для растворов 4. В другой плоскости (см. фиг.5), которой принадлежит ось 30 тела вращения 29 и не совмещенной, например ортогональной, с предыдущей (см. фиг.12), в теле вращения 29 выполнены два отверстия 38 и 39, которые при совмещении последней плоскости с плоскостью отверстий в корпусе 28 распределителя 7 (см. фиг.5) накрест соединяют две пары каналов 31, 18 и 32, 33 корпуса 28, не совмещаясь между собой в теле вращения 29 и соответственно соединяя между собой патрубок 16 с газоотборным устройством 2, а эжектор 3 – с верхней частью емкости для растворов 4, при этом канал 13, совмещенный с барботером 12 емкости для твердых добавок 8, перекрыт телом вращения 29.
Тело вращения 29 может быть подпружинено вдоль продольной оси 30 пружиной 40, размещенной в выемке 41, совмещенной с каналом 37, соединяющим газоотборное устройство 2 с барботером 12 емкости для твердых добавок 8 посредством каналов 13, 37 и 32 (см. фиг.12 и 4). Пружина 40 оснащена подложкой 42, а тело вращения 29, закрепленное к корпусу 28 распределителя 7 посредством накладки 43, ручкой 44.
Распределитель 7 прибора 1 может быть оснащен кранами 45, 46 и 47 (см. фиг.13 и 4), независимо регулирующими и перекрывающими подачу газа и жидкости (раствора) по каналам (13-37), (32-36-18) и (33-35-31), соединяющим соответственно газоотборное устройство 2 с барботером 12; газоотборное устройство 2 с верхней частью емкости для растворов 4; и патрубок 16 емкости для растворов 4 с эжектором 3.
Кран 47, перекрывающий канал (33-35-31), соединяющий патрубок 16 емкости для растворов 4 с эжектором 3 (см. фиг.4), может быть соосно размещен в теле вращения 29 (см. фиг.14).
В газожидкостном приборе вместо эжектора 3 может быть размещен смеситель 48 (см. фиг.2 и 15).
Смеситель 48 может быть выполнен в виде трубы 49, имеющей два канала 14 и 31, соединенные с емкостями 4 и 8. Одним концом смеситель 48 состыкован с газожидкостным рукавом 5, а другим, имеющим резко-уменьшенный внутренний диаметр сопла 22, с – газоотборным устройством 2 (см. фиг.2).
Смеситель 48 может быть также выполнен в виде диффузора 50, сопряженного с газоотборным устройством 2 и газожидкостным рукавом 5. Канал 51 диффузора 50, соединяющий его с газоотборным устройством 2, оснащен каналами, соединяющими его с емкостями 4 и 8 прибора 1 (см. фиг.15).
Газожидкостный канал 14, соединяющий верхнюю часть емкости для твердых добавок 8 с эжектором 3, может быть оснащен выпускным клапаном 52 (см. фиг.4 и 5).
Газожидкостный канал 14, соединяющий верхнюю часть емкости для твердых добавок 8 с эжектором 3, может быть оснащен смотровым окном 53 (см. фиг.16 и 17), перекрытым химически стойким и прозрачным в видимом диапазоне спектра материалом 54, названный материал 54 может быть закреплен к корпусу 28 распределителя 7 болтами 55 посредством накладок 56.
Газоотборное устройство 2 может содержать газоотборник 57, металлорукав 58, распределительную камеру 59 и разъемные узлы совместного крепления 60 (см. фиг.2 и 18). Газоотборник 57 включает крышку 61 с предохранительным клапаном 62, ниппелем 63 и патрубком 64, имеющим узел крепления 60 к металлорукаву 58. Металлорукав 58 оснащен разъемными узлами крепления 60 к газоотборнику 57 и распределителю 7. Металлорукав 58 состыкован с камерой 59, расположенной в корпусе 28 распределителя 7 (см. фиг.2). Камера 59 соединена каналами с эжектором 3 (смесителем 48) и системой перекрываемых газожидкостных каналов 15 распределителя 7 каналами соответственно 51 и 32 (см. фиг.4 и 5). Кроме того, крышка 61 газоотборника 57 оснащена разъемными узлами крепления 65 (см. фиг.18) к выхлопной трубе автомобиля 65 (не показано).
Регулируемый предохранительный клапан 10 может содержать канал 66, соединяющий клапан 10 с емкостью 4 (8), шарик 67, шток 68 с ручкой 69, пружину 70 и узлы крепления 71 клапана 10 (см. фиг.1, 3 и 19). Причем канал 66, соединяющий клапан 10 с емкостью 4(8), перекрыт шариком 67, зафиксированным подпружиненным штоком 68 пружиной 70. Все элементы клапана 10 могут быть зафиксированы узлами крепления 71 в корпусе 72 или крышке 73 загрузочной горловины 9 емкости для растворов 4 и емкости для твердых добавок 8.
Корпуса 72 или крышки 73 к загрузочным горловинам 9 емкости для растворов 4 и емкости для твердых добавок 8 оснащены (см. фиг.19) гнездами 74 под систему контроля давления 11 и заглушками 75 к ним (74).
Распределительная камера 59 может быть оснащена гнездами 76 и 77 с заглушками 78 и 79 для подключения источника сжатого воздуха (не показано) и отвода сжатого воздуха (газа) к элементам съемной оснастки (см. ниже), при этом канал для подвода выхлопных газов 80 оснащен впускным клапаном 81 (см. фиг.20).
Прибор 1 может быть снабжен емкостью (бачком) для отвердителя 82, соединенным жидкостным рукавом (каналом) 83 с эжектором (смесителем) 84, установленным на газожидкостном рукаве 5 перед брандспойтом 6 (см. фиг.21).
Смеситель 84 может быть выполнен в крышке 85 бачка для отвердителя 82 и соединен жидкостным каналом 83 с патрубком 86, доходящим внутри бачка 82 почти до его дна 17 (см. фиг.22 и 23). При этом бачок для отвердителя 82 выполнен в виде сифона, имеющего впускной клапан 87. Впускной клапан 87 может содержать прижатый пружиной 88 к впускному каналу 89 элемент 90. Кроме того, крышка 85 оснащена элементами разъемных креплений 91 к газожидкостному рукаву 5 и брандспойту 6.
Прибор может быть оснащен газовым рукавом (шлангом) 92, соединяющим впускной клапан 87 бачка для отвердителя 82 с гнездом для отвода сжатого воздуха 77 из распределительной камеры 59 газоотборного устройства 2 (см. фиг.20 и 24).
Прибор 1 может быть оснащен пылеотсасывающим рукавом 93, закрепленным к горловине 9 емкости для твердых добавок 8. Причем свободный конец рукава 93 оснащен сеткой 94 и разъемом 95 для крепления съемных насадок 96 (см. фиг.25).
Прибор 1 может быть оснащен распылителем 97, сопряженным с жидкостным рукавом (шлангом) 98 (см. фиг.26 и 38). Жидкостный рукав 98 закреплен в гнезде 99, выполненном в распределителе 7 (см. фиг.2). Гнездо 99 оснащено заглушкой 100 и соединено жидкостным каналом 101 с патрубком 16 емкости для растворов 4. Кроме того, распылитель 97 дополнительно может быть соединен газовым рукавом (шлангом) 102 с гнездом для отбора сжатого воздуха 77 из распределительной камеры 59 газоотборного устройства 2 (см. фиг.20 и 27).
Прибор 1 может быть оснащен телом вращения 29, в котором отверстия 38 и 39, накрест соединяющие две пары каналов 32-33 и 31-18 (см. фиг.5), принадлежащих корпусу 28 распределителя 7 и соединяющих эжектор 3 (смеситель 48) с верхней частью емкости для растворов 4 и патрубок 16 этой же емкости 4 с газоотборным устройством 2, не соосны каналам 32-33 и 31-18 корпуса 28 распределителя 7, а входы и выходы из них (38 и 39) обеспечены выемками 103, выполненными на поверхности контакта 104 тела вращения 29 и корпуса 28 распределителя 7. На фигурах 28-35 показан вариант выполнения выемок 103 на поверхности 104 тела вращения 29, однако, подобные выемки 103 могут выполняться на поверхности 104 корпуса 28 распределителя 7 или одновременно на поверхности 104 тела вращения 29 и корпуса 28 распределителя 7.
Тело вращения 29 распределителя 7 газожидкостного прибора 1 может быть обеспечено двумя не пересекающимися между собой отверстиями 105 и 106, соосными двум парам ответных каналов 32-33 и 31-18 корпуса 28 распределителя 7 и соединяющими патрубок 16 емкости для растворов 4 с эжектором 3 (смесителем 48) и газоотборное устройство 2 с верхней частью этой же емкости 4. При этом канал 13, совмещенный с барботером 12 емкости для твердых добавок 8, перекрыт телом вращения 29 (см. фиг.36).
Тело вращения 29 распределителя 7 может быть оснащено дополнительным отверстием 107, выполненным в плоскости, которой принадлежит продольная ось 30 тела вращения 29 и не совмещенной с другими плоскостями отверстий тела вращения 29. Причем при совмещении последней плоскости с плоскостью отверстий 13, 32-33 и 31-18 корпуса 28 распределителя 7 дополнительное отверстие 107 совпадает с ответными каналами 13 и 32 корпуса 28 распределителя 7, совмещенными с газоотборным устройством 2 и барботером 12 емкости для твердых добавок. При этом остальные каналы 18, 31 и 33 корпуса 28 распределителя 7 перекрыты телом вращения 29 (см. фиг.37).
Тело вращения 29 распределителя 7 может быть обеспечено отверстием 108, выполненным в плоскости, которой принадлежит продольная ось 30 тела вращения 29 и не совмещенной с предыдущими плоскостями и отверстиями (35, 36, 37, 38, 39, 105, 106, 107) тела вращения 29. Причем при совмещении последней плоскости с плоскостью отверстий 31, 32, 33, 18 и 13 в корпусе 28 распределителя 7 отверстие 108 совпадает с ответными каналами 32, 33, совмещенными с газоотборным устройством 2 и верхней частью емкости для растворов 4, при этом остальные каналы 13, 31 и 18 корпуса 28 распределителя 7 перекрыты телом вращения 7 (см. фиг.38).
По своему функциональному предназначению и компоновке прибор может находиться в транспортном положении полностью подготовленным к работе и в положении хранения или транспортировки в полуразобранном незаправленном положении.
Транспортное положение предусматривает стационарную установку прибора на подвижной технике с включенными в ее систему связями, обеспечивающими работу прибора и его заблаговременную подготовку к работе, т.е. прибор транспортируется в заправленном исходными пенообразующими компонентами, готовом для работы положении.
Положение хранения и транспортирования прибора в полуразобранном виде предусматривает установку прибора в специально отведенной для него нише, сборку и заправку его в ходе подготовки к работе.
Оба варианта установки прибора на технике предусматривают возможность сборки прибора для выполнения задач по дегазации и дезактивации поверхностей специальными водными и порошковыми составами, окраску поверхностей, генерирования противопожарной пены, изготовления составов для укрепления одежды крутостей фортификационных сооружений и очистки салонов техники и боксов (ангаров) от пыли, а также проведения взрыво-пожаропрофилактических работ на складах хранения боеприпасов согласно ранее заявленному способу /1/.
В транспортном положении (положении хранения) прибор 1 упаковывается в два относительно небольших “чемоданчика”, обеспечивающих их одновременную переноску в руках одним оператором (см. фиг.6, 7, 8, 9,10 и 11). Первый “чемоданчик” (см. фиг.6, 7 и 8) представляет двухсекционную емкость 19, над которой расположены эжектор 3 (смеситель 48), распределитель 7 и элементы газоотборного устройства 2 (газораспределительная камера 59 и узлы крепления 60), закрытые съемной крышкой 23, закрепленной узлами 25. Другой “чемоданчик” (ящик 26) предназначен для упаковки в него съемной оснастки: брандспойта 6, газожидкостного рукава 5, элементов системы контроля давления (манометров) 11, газоотборника (набора газоотборников, предназначеных для различных типов техники) 57, металлорукава 58, бачка для отвердителя 82, газового рукава (шланга) 92, пылеотсасывающего рукава 93, съемных насадок 96 рукава 93, распылителей 97, жидкостного рукава (шланга) 98, газового рукава (шланга) 102 (может быть объединен со шлангом 92), а также ЗИП и набора монтажных ключей.
Для выполнения работ с помощью прибора 1 снимается крышка 23 и с помощью узлов крепления 60 к распределительной камере 59 распределителя 7 пристыковывается металлорукав 58 (см. фиг.2), к которому присоединяется газоотборник 57 (см. фиг.18), закрепляемый, в свою очередь, на срезе выхлопной трубы автотранспортного средства (графически не показано) с помощью крышки 61 и узлов крепления 65. В случае работы газожидкостного прибора 1 от другого специального источника сжатого воздуха (графически не показано) он пристыковывается к гнезду 76, предварительно освободив его от заглушки 78 (см. фиг.20). С помощью узла крепления 109 к эжектору 3 (смесителю 48) пристыковывается газожидкостный рукав 5, на свободном конце которого закрепляется брандспойт 6. Остальные операции по подготовке прибора 1 к работе имеют специфические особенности в зависимости от вида работ, выполняемых с помощью прибора 1. Так, для дегазации и дезактивации поверхностей специальными водными составами в один (4) или обе емкости 4 и 8 заливается водный раствор, а на конце брандспойта может закрепляться щетка 110, которая может иметь корпус 111 с закрепленной в нем щетиной 112, и узел крепления 113, расположенный на колене 114 корпуса 111 (см. фиг.39).
Для наполнения ящиков с боеприпасами полимерной пеной, изготовления вспененных теплоизолирующих, облицовочных и ограждающих материалов и утепления грунтов пенами, не разрушающимися при положительных температурах, прибор 1 собирается подобно описанному ранее примеру, но между газожидкостным рукавом 5 и брандспойтом 6 устанавливается бачок для отвердителя 82. При этом в емкости 4 и 8 загружаются необходимые компоненты в концентрациях согласно примерам, описанным в ранее поданной заявке на предлагаемое изобретение /1/.
Жидкостное опрыскивание поверхностей мелкодисперсным аэрозолем может производиться с помощью распылителя 97 (см. фиг.26). При этом распылитель 97 соединяется жидкостным рукавом 98 с гнездом 99. В емкость 4 заливается раствор, а брандспойт 6 укладывается в стороне от места работы для отвода излишков отработанных газов автомобиля (см. фиг.2 и 38).
Особенностью жидкостного опрыскивания может быть получение вспененного мелкодисперсного аэрозоля. При этом прибор 1 собирается подобно предыдущему примеру, но распылитель 97 дополнительно соединяется газовым рукавом(шлангом) 102 с гнездом 77 распределительной камеры 59 газоотборного устройства 2, предварительно освободив его от заглушки 79 (см. фиг.20 и 27).
Окраска поверхностей может производиться подобно жидкостному опрыскиванию, но путем загрузки в емкость 4 красящего вещества. Окраска также может производиться с помощью распылителя, имеющего собственную камеру для краски (“пистолет”; графически не показан). При этом он соединяется шлангом 102 с гнездом 77, что обеспечивает работу такого распылителя за счет использования выхлопных газов автомобиля (см. фиг.20).
Для очистки поверхностей на складах, салонов автомобилей и других помещений от пыли пылеотсасывающий рукав 93 с насадкой 96 присоединяется к горловине 9 емкости 8, а брандспойт 6 укладывается в стороне от места работы для отвода собранной пыли. Особенностью работы прибора в режиме “пылесоса” является то, что после окончания работ емкость 8 освобождается от осевшей в ней пыли путем переключения (монтажа) прибора в режим “порошкового распыления” (см. фиг.25 и 37).
Перед началом работы с прибором в любом режиме целесообразно убедиться в отсутствии засоров в системе контроля давления 11 в предохранительном клапане 10 путем перемещения рукой штока 68 ручкой 69 и патрубка 16 путем определения, например, на слух свободного перемещения шарика 115 в перфорированном отсеке 116 патрубка 16 (см. фиг.2).
Причем в емкость 4 может заливаться вода, а в емкость 8 жидкое мыло (шампунь) и т.п.
Для жидкостного опрыскивания поверхностей прибор 1 может готовиться подобно ранее описанному примеру, однако щетка 110 при этом не используется. Растворы при этом также заливаются как в одну (4), так и в две (4, 8) емкости 19. Следует заметить, что в этом случае при работе прибора рассеиваться могут относительно крупные капли раствора, а при наличии в растворе поверхностно активных веществ (ПАВ) вспененные хлопья. Прибор 1 может быть использован для генерирования противопожарной пены, путем увеличения расхода раствора (подачи раствора из емкости 19 в эжектор 3). Для получения противопожарной пены и вспененного аэрозоля может быть использован (2…5)% раствор ПАВ, в качестве которого целесообразно применять пенообразователи типа “Поток”, “Каскад”, ПО-А.
Причем при отрицательных температурах окружающей среды нанесенная на грунт описанная пена замерзает, образуя неразрушающийся слой подобный снегу.
Обеспечение работы прибора 1 в этом или другом режиме также обеспечивается совмещением плоскостей отверстий 35; 36; 37; 38; 39; 105; 108 и 107 тела вращения 29 с плоскостью отверстий 31, 32, 33, 18 и 13 корпуса 28 распределителя 7 и/или регулировкой кранов 45, 46 и 47 в соответствии с гидравлическими схемами, приведенными на фиг.4,5,36,37 и 38.
В транспортном положении газожидкостный прибор собирается подобно вышеописанному примеру, но распределительная камера 59 распределителя 7 пристыковывается посредством металлорукава 58 и газоотборника 57 (см. фиг.2 и 18) к выхлопной трубе (графически не показано). Кроме того, корпус прибора 1 крепится в специальной нише кронштейнами (графически не показано).
Прибор 1 работает следующим образом.
Для запуска прибора 1, подготовленного для работы в том или другом режиме (см. выше), тело вращения 29 устанавливается в положение, перекрывающее все каналы (13, 18, 31, 32, 33, 35, 36, 37, 38, 39, 105, 106, 107 и 108) этого тела 29 и корпуса 28 распределителя 7. Предохранительный клапан 62, расположенный на крышке 61 газоотборника 57, открывается. Запускается двигатель автомобиля, который выводится на нормальный режим работы и устанавливаются обороты холостой работы двигателя (1000…2000 оборотов). Клапан 62 закрывается. При этом газ (сжатый воздух), проходя через патрубок 64, металлорукав 58 (см. фиг.18), поступает в камеру 59 распределителя 7, откуда поступает в эжектор 3 (смеситель 48) и через каналы (32, 37, 13, 18 и 36) системы 15 в верхнюю часть емкости для растворов 4 и барботер 12 емкости 8 (см. фиг.4). В емкости 4 на поверхности раствора (воды) создается давление, которое выталкивает раствор (воду) по патрубку 16 и каналам 33, 35 и 31 в эжектор 3 (смеситель 48). В емкости 8 газ (сжатый воздух) поступает через перфорацию барботера 12 в раствор (шампунь), вспенивает его за счет прохождения через него (барботажа) и, подхватывая часть вспененного раствора через канал 14 выносит его в эжектор 3 (смеситель 48). В эжекторе 3 (смесителе 48) растворы, вытесненные из емкостей 4 и 8, подхватываются потоком газа (сжатого воздуха), поступающего из распределительной камеры 59, и по газожидкостному рукаву 5 и брандспойту 6 подаются на объект (см. фиг.4). За счет подсоединения к брандспойту 6 щетки 110 и ее (110) контакта с загрязненной поверхностью производится очистка последней.
В случае заполнения емкости 4 раствором мыла (шампуня) в воде плоскость отверстий 38 и 39 тела вращения 29 распределителя 7 совмещается с плоскостью отверстий 13, 18, 31, 32 и 33 его (7) корпуса 28 (см. фиг.5). При этом емкость 8 может не заполняться, клапан 52 перекрыт обратным давлением, а канал 13 перекрыт телом вращения 29. Газ (сжатый воздух) поступает по каналам 32, 38, 33 и патрубку 16 в нижнюю часть емкости 4.
За счет прохождения газа через раствор производится его перемешивание. Затем газ (воздух) через каналы 18, 39 и 31 поступает в эжектор 3 (смеситель 48) и через газожидкостный рукав 5 и брандспойт 6 выбрасывается (см. фиг.5).
Режим перемешивания, как правило, непродолжительный и заканчивается после появления первых капелек жидкости из брандспойта 6. Далее плоскость отверстий 105 и 106 тела вращения 29 распределителя 7 совмещается с плоскостью отверстий 13, 18, 31, 32 и 33 его (7) корпуса 28 (см. фиг.36). Емкость 8 не заполнена, а клапан 52 перекрыт противодавлением из смесителя 3. При этом канал 13 перекрыт телом вращения 29. Газ (сжатый воздух), поступающий из камеры 59 распределителя 7 через каналы 32, 106 и 18, поступает в верхнюю часть емкости 4, откуда вытесняет раствор через патрубок 16 и каналы 33, 105 и 31 в эжектор 3 (смеситель 48). Так же как и в предыдущем случае вытесненный раствор, подхваченный газом (сжатым воздухам), поступает на объект или производится очистка загрязненных поверхностей щеткой 110, подсоединенной к брандспойту 6. Во всех случаях расход растворов может регулироваться кранами 45, 46, 47 (см. фиг.13 и 14).
При опрыскивании крупными каплями и вспененными хлопьями, при генерировании противопожарной пены для тушения огня закрепления грунтов, а также изготовления вспененных взрыво-пожаропрофилактических, теплоизолирующих и ограждающих материалов процессы, производимые и проходящие с прибором, подобны процессам, описанным для работ по очистке поверхностей водными растворами.
Особенностью работы прибора 1 при изготовлении строительных и утеплительных материалов является то, что в газожидкостный поток, проходящий по рукаву 5 перед брандспойтом, вводится отвердитель из бачка 82. При этом бачок может работать как без подпора отвердителя газом (сжатым воздухом), так и с указанным подпором. В первом случае отвердитель поступает из бачка 82 в эжектор 84 по патрубку 86 и каналу 83 за счет эжектирующего эффекта, а замещающий отвердитель воздух при этом поступает в бачок 82 через впускной клапан 87 (см. фиг.22 и 23). Во втором случае отвердитель вытесняется по патрубку 86 и каналу 83 в смеситель 84 газом (сжатым воздухом), поступающим через клапан 87 по газовому рукаву (шлангу) 92, состыкованному с клапаном 87 и гнездом 77 камеры 59 распределителя 7 (см. фиг.24 и 20).
При порошковом распылении заполняется порошком емкость 8. Плоскость отверстия 107 тела вращения 29 совмещается с плоскостью отверстий 13, 18, 31, 32 и 33 корпуса 28 распределителя 7 (см. фиг.37). При этом емкость 4 может не заполняться, а каналы 31, 33 и 18 перекрыты телом вращения 29. Газ (сжатый воздух) поступает по каналам 32, 107 и 13 из распределительной камеры 59 в барботер 12 емкости 8. В емкости 8 газ (сжатый воздух) поступает через перфорацию барботера 12 в порошок, поднимает его и выносит часть порошка в эжектор 3 (смеситель 48) через канал 14. В эжекторе 3 (смесителе 48) порошок подхватывается потоком газа (сжатого воздуха), поступающего из распределительной камеры 59, и по газожидкостному каналу 5 и барботеру 6 направляется в нужном направлении.
При мелкодисперсном опрыскивании заполняется раствором емкость 4, плоскость отверстия 108 тела вращения 29 совмещается с плоскостью отверстий 13, 18, 31, 32 и 33 корпуса 28 распределителя 7 (см. фиг.38). При этом емкость 4 может не заполняться, а отверстия 31, 33 и 18 перекрыты телом вращения. Газ (сжатый воздух), проходя по каналам 32, 108 и 18, поступает в верхнюю часть емкости 4. За счет чего из емкости 4 по патрубку 16, каналы 18, 101 и жидкостный рукав (шланг) 98 поступает в распылитель 97, который рассеивает мелкодисперсную аэрозоль, в частности, содержащую спецсоставы (см. фиг.26).
При мелкодисперсном опрыскивании вспененным аэрозолем процессы, проводимые и проходящие с прибором 1, подобны предыдущему примеру, за исключением того, что из камеры 59 через газовый рукав (шланг) 102 к рассеивателю 97 подается газ (сжатый воздух; см. фиг.27).
При очистке поверхностей и помещений от пыли емкости 4 и 8 не заполняются. Тело вращения 28 устанавливается так, чтобы все каналы 13, 18, 31, 32 и 33 распределителя 7 были перекрыты. Газ (сжатый воздух), поступая в эжектор 3, эжектирует воздух из емкости 8, в которую по пылеотсасывающему рукаву 93 через съемную насадку 96 засасывается воздух, захватывая при этом пыль с очищаемой поверхности (см. фиг.25). Часть пыли оседает в емкости 8, а часть выносится в эжектор 3 и по газожидкостному рукаву 5 и брандспойту 6 выбрасывается в сторону от очищаемого объекта. Извлечение осевшей пыли из емкости 8 может быть осуществлено путем переключения (монтажа) прибора 1 в режим порошкового распыления (см. фиг.37).
Трехцветное покрытие наносится следующим образом. Прибор заправляется исходным пенообразующим составом, не окрашенным или окрашенным в основной цвет (зелено-защитный) посредством красителей /1/ так, как это было показано выше. Прибор 1 включается и производится нанесение покрытия на объект согласно выбранному рисунку. При этом брандспойт направляется в сторону объекта под углом горизонта ~ 45° так, чтобы хлопья пены оседали на поверхность объекта подобно снегу. Затем производится перезаправка прибора исходным пенообразующим раствором, содержащим краситель второго цвета (например, серо-желтого), а после его выработки на поверхность объекта согласно выбранному рисунку производится перезаправка прибора с введением красителя третьего цвета.
Использование универсального прибора для выполнения специальных работ позволяет производить изготовление взрыво-пожаропрофилактических материалов непосредственно на объекте, а также обеспечить жизненные потребности при организации работы складов и, в частности, производить очистку поверхностей водными составами; жидкостное опрыскивание; окраску поверхностей; порошковое распыление; утепление грунтов и материалов; генерирование противопожарной пены, которая также может быть использована для утепления грунтов при отрицательной температуре воздуха; а также очистку поверхности и помещений от пыли.
Основой прибора является то, что в нем используются выхлопные газы автомобиля или сжатый воздух из любого источника сжатого воздуха.
С помощью заявляемого прибора могут быть изготовлены несущие, ограждающие, облицовочные и теплоизолирующие материалы из недорогих компонентов.
С помощью газожидкостного прибора могут быть утеплены грунты. Причем пена, используемая для утепления, может быть изготовлена из совершенно не дорогих компонентов, разрушающаяся и не разрушающаяся при перепаде температур от отрицательных к положительным и наоборот /1/.
С помощью газожидкостного прибора может быть осуществлена очистка загрязненных поверхностей водными растворами. Причем наличие горячих газов позволяет производить такую очистку в зимний период, снимая при этом наросты льда и грязи.
С помощью заявляемого прибора может осуществляться очистка поверхностей помещений от пыли в условиях отсутствия электроэнергии. В этих же условиях может осуществляться жидкостное распыление, окраска поверхностей, внесение (нанесение) коллоидных растворов. С помощью прибора также может осуществляться тушение очагов огня.
Таким образом, заявляемый прибор по сравнению с прототипом обеспечивает осуществление способа /1/ в полевых условиях, расширяет функциональные возможности и надежен в эксплуатации.
Источники информации
1. Способ взрыво-пожаропрофилактики на складах хранения боеприпасов и варианты устройства для его осуществления. Заявка на изобретение №2002117259/12 (018220) от 28.06.02 г.
2. Матвеева Г.И. Комбинированные средства тушения. Обзорная информация. – М.: ВНИИПО, 1983.-28 с.
3. Способ получения воздушно-механической пены для тушения пожаров /Козлюк А.И., Чарков В.П., Шецер Г.М. и др. Авторское свидетельство СССР №803941. Опубл. В БИ, 1981, №6.
4. Воробьев В.А. Основы технологии строительных материалов из плапластических масс. – М.: Высшая школа, 1975, с. 198…201.
Формула изобретения
1. Прибор для генерирования водовоздушной и твердеющей пены, содержащий газоотборное устройство, сопряженное с эжектором-смесителем, соединенным с емкостью для раствора, отличающийся тем, что он дополнительно оснащен газожидкостным рукавом с брандспойтом, распределителем и емкостью для твердых добавок, причем обе емкости выполнены герметично и оснащены загрузочными горловинами, регулируемыми предохранительными клапанами для сброса избыточного давления и системой контроля давления в емкостях, кроме того, емкость для твердых добавок оснащена барботером, соединенным перекрываемым газовым каналом с газоотборным устройством, и газожидкостным каналом, соединяющим верхнюю часть емкости с эжектором-смесителем, а емкость для раствора выполнена в виде сифона, имеющего соединенный с системой перекрываемых газожидкостных каналов патрубок, доходящий до дна названной емкости, и газожидкостный канал, соединяющий верхнюю часть емкости с той же системой перекрываемых газожидкостных каналов распределителя, соединенной с газоотборным устройством, эжектором-смесителем, патрубком емкости для раствора двумя вариантами в следующей последовательности: во-первых, патрубок с эжектором-смесителем, а газоотборное устройство с верхней частью емкости для растворов; во-вторых, патрубок с газоотборным устройством, а эжектор-смеситель с верхней частью емкости для растворов.
2. Прибор по п. 1, отличающийся тем, что в нем емкость для растворов и емкость для твердых добавок выполнены в виде двухсекционной емкости, имеющей внутри герметичную перегородку, а над емкостью под углом к горизонту закреплен совмещенный с эжектором-смесителем распределитель, причем диффузор эжектора-смесителя расположен ниже его сопла и распределителя, кроме того, над распределителем и эжектором-смесителем закреплена съемная крышка, имеющая ручку для переноса прибора и выполненная в виде усеченной емкости, совмещенной по всему периметру с верхней частью двухсекционной емкости, к тому же двухсекционная емкость и крышка к ней оснащены узлами совместного жесткого закрепления.
3. Прибор по п. 1, отличающийся тем, что в нем распределитель выполнен в виде корпуса, внутри которого размещено тело вращения, причем в корпусе распределителя в одной плоскости, которой принадлежит ось тела вращения, выполнено пять каналов, образующих систему перекрываемых газожидкостных каналов распределителя и входящих в полость тела вращения, два канала из пяти выполнены с одной стороны полости и совмещены с эжектором-смесителем и газоотборным устройством, соосно им с другой стороны полости выполнены два других канала, совмещенные соответственно с патрубком емкости для растворов и верхней частью этой же емкости, пятый канал, совмещенный с барботером емкости для твердых добавок, выполнен с одной из сторон полости в названной плоскости, кроме того, в теле вращения в одной плоскости выполнены два отверстия, соосные двум парам ответных каналов в корпусе распределителя, и отверстие-канал, совмещенное в корпусе распределителя с ответным каналом, соединенным с барботером емкости для твердых добавок, а в теле вращения с каналом, соединяющим газоотборное устройство и верхнюю часть емкости для растворов, к тому же в другой плоскости, которой принадлежит продольная ось тела вращения, и не совмещенной, например ортогональной, с предыдущей, в теле вращения выполнены два отверстия, которые при совмещении последней плоскости с плоскостью отверстий в корпусе распределителя накрест соединяют две пары каналов корпуса, не совмещаясь между собой в теле вращения и соответственно соединяя между собой патрубок с газоотборным устройством, а эжектор-смеситель с верхней частью емкости для растворов, при этом канал, совмещенный с барботером емкости для твердых добавок, перекрыт телом вращения.
4. Прибор по п. 1 или п. 3, отличающийся тем, что в нем тело вращения подпружинено вдоль продольной оси пружиной, размещенной в выемке, совмещенной с каналом, соединяющим газоотборное устройство с барботером емкости для твердых добавок.
5. Прибор по п. 1, отличающийся тем, что в нем распределитель оснащен кранами, независимо регулирующими и перекрывающими подачу газа и жидкости по каналам, соединяющим газоотборное устройство с барботером, газоотборное устройство с верхней частью емкости для растворов и патрубок емкости для растворов с эжектором-смесителем.
6. Прибор по любому из пп. 1, 3, 5, отличающийся тем, что в нем кран, перекрывающий канал, соединяющий патрубок емкости для растворов с эжектором-смесителем, соосно размещен в теле вращения.
7. Прибор по любому из пп. 1, 2, 3, 5, 6, отличающийся тем, что в нем газоотборное устройство сопряжено с эжектором-смесителем, соединенным с распределителем и емкостями и состыкованным с газожидкостным рукавом.
8. Прибор по п. 7, отличающийся тем, что в нем эжектор-смеситель выполнен в виде трубы, имеющей два канала, соединенных с емкостями, причем одним концом состыкованной с газожидкостным рукавом, а другим, имеющим резко уменьшенный внутренний диаметр, с газоотборным устройством.
9. Прибор по п. 7, отличающийся тем, что в нем эжектор-смеситель выполнен в виде диффузора, сопряженного с газоотборным устройством, причем канал диффузора, соединяющий газоотборное устройство и диффузор, оснащен каналами, соединяющими его с емкостями прибора.
10. Прибор по п. 1, отличающийся тем, что в нем газожидкостный канал, соединяющий верхнюю часть емкости для твердых добавок с эжектором-смесителем, оснащен выпускным клапаном.
11. Прибор по п. 1, отличающийся тем, что в нем газожидкостный канал, соединяющий верхнюю часть емкости для твердых добавок с эжектором-смесителем, оснащен смотровым окном, перекрытым химически стойким прозрачным в видимом диапазоне спектра волн материалом.
12. Прибор по п. 1, отличающийся тем, что в нем газоотборное устройство содержит газоотборник, металлорукав, распределительную камеру и разъемные узлы совместного крепления и крепления к выхлопной трубе автомобиля, причем газоотборник включает крышку с предохранительным клапаном, ниппелем и патрубком, имеющим узел крепления к металлорукаву, другим концом, который состыкован с камерой, расположенной в корпусе распределителя и соединенной каналами с эжектором-смесителем и системой перекрываемых газожидкостных каналов распределителя.
13. Прибор по п. 12, отличающийся тем, что в нем распределительная камера оснащена гнездами с заглушками для подключения источника сжатого воздуха (газа) и отбора сжатого воздуха (газа) к элементам съемной оснастки, при этом канал для подвода выхлопных газов оснащен впускным клапаном.
14. Прибор по п. 1, отличающийся тем, что он снабжен емкостью для отвердителя, соединенной жидкостным рукавом с эжектором-смесителем, установленным на газожидкостном рукаве перед брандспойтом.
15. Прибор по п. 1 или п. 14, отличающийся тем, что в нем перед брандспойтом установлен эжектор-смеситель, выполненный в крышке емкости для отвердителя и соединенный жидкостным каналом с патрубком, доходящим внутри емкости почти до ее дна, при этом емкость выполнена в виде сифона, имеющего впускной клапан.
16. Прибор по любому из пп. 1, 13, 14, 15, отличающийся тем, что он оснащен газовым рукавом (шлангом), соединяющим впускной клапан емкости для отвердителя с гнездом для отбора сжатого воздуха из распределительной камеры газоотборного устройства.
17. Прибор по п. 1, отличающийся тем, что он оснащен пылеотсасывающим рукавом, закрепленным к горловине емкости для твердых добавок, причем другой конец рукава оснащен сеткой и разъемом для крепления съемных насадок.
18. Прибор по п. 1, отличающийся тем, что он оснащен распылителем, сопряженным с жидкостным рукавом (шлангом), который закреплен в гнезде, оснащенном заглушкой и соединенном жидкостным каналом с патрубком емкости для растворов.
19. Прибор по п. 18, отличающийся тем, что в нем распылитель дополнительно соединен газовым рукавом (шлангом) с гнездом для отбора сжатого воздуха из распределительной камеры газоотборного устройства.
20. Прибор по п. 1, отличающийся тем, что в нем отверстия, выполненные в теле вращения и накрест соединяющие две пары каналов, принадлежащих корпусу распределителя и соединяющих эжектор-смеситель с верхней частью емкости для растворов и патрубок этой же емкости с газоотборным устройством, не соосны каналам корпуса, а входы и выходы из них обеспечены выемками, выполненными на поверхности контакта тела вращения и корпуса распределителя.
21. Прибор по п. 1 или 3, отличающийся тем, что в нем тело вращения обеспечено двумя непересекающимися между собой отверстиями, соосными двум парам ответных каналов корпуса распределителя и соединяющими патрубок емкости для растворов с эжектором-смесителем и газоотборное устройство с верхней частью этой же емкости, при этом канал, совмещенный с барботером емкости для твердых добавок, перекрыт телом вращения.
22. Прибор по п. 1 или 3, отличающийся тем, что в нем тело вращения оснащено дополнительным отверстием, выполненным в плоскости, которой принадлежит продольная ось тела вращения и не совмещенной с другими плоскостями отверстий тела вращения, причем при совмещении последней плоскости с плоскостью отверстий корпуса распределителя дополнительное отверстие совпадает с ответными каналами корпуса распределителя, совмещенными с газоотборным устройством и барботером емкости для твердых добавок, при этом остальные каналы корпуса распределителя перекрыты телом вращения.
23. Прибор по п. 1 или 3, отличающийся тем, что в нем тело вращения обеспечено отверстием, выполненным в плоскости, которой принадлежит продольная ось тела вращения и не совмещенной с предыдущими плоскостями отверстий тела вращения, причем при совмещении последней плоскости с плоскостью отверстий в корпусе распределителя последнее отверстие совпадает с ответными каналами, совмещенными с газоотборным устройством и верхней частью емкости для растворов, при этом остальные каналы корпуса распределителя перекрыты телом вращения.
РИСУНКИ
|
|