|
|
(21), (22) Заявка: 2002131064/11, 18.11.2002
(24) Дата начала отсчета срока действия патента:
18.11.2002
(43) Дата публикации заявки: 27.05.2004
(45) Опубликовано: 27.11.2004
(56) Список документов, цитированных в отчете о поиске:
SU 1260624 A1, 30.09.1986. SU 1183759 A, 07.10.1985. SU 1174645 A, 23.08.1985. EP 0074241 A1, 16.03.1983.
Адрес для переписки:
220072, г.Минск, ул. Академическая, 12, ИНДМАШ НАН Беларуси
|
(72) Автор(ы):
Витязь Петр Александрович (BY), Басинюк Владимир Леонидович (BY), Белоцерковский Марат Артемович (BY), Мардосевич Елена Ивановна (BY)
(73) Патентообладатель(и):
Институт надежности машин Национальной академии наук Беларуси (BY)
|
(54) ПЕРЕДАЧА ЗАЦЕПЛЕНИЕМ
(57) Реферат:
Изобретение относится к машиностроению и может быть использовано в планетарных передачах с большими передаточными отношениями и передачах с паразитными шестернями, работающих в вакууме при отсутствии смазки. Передача зацеплением содержит входной вал и два взаимно зацепляющиеся колеса. Тело одного из колес 3 выполнено из упругоподатливого антифрикционного материала с внутренней цилиндрической поверхностью. На теле колеса 3 вдоль поверхности зацепления размещен металлический слой 4 с повышенными износостойкими характеристиками. Между слоем 4 и телом колеса 3 размещен дополнительный слой 5 из сплава алюминия. Наружный слой 4 сформирован на основе оксида алюминия с наполнителем в количестве 1÷6 мас.%, выбранным из группы ультрадисперсных алмазоподобных материалов, графита, дихалькогенидов тугоплавких металлов. Слой 4 из износостойкого материала и дополнительный слой 5 алюминия выполнены в виде винтовой спирали, размещенной в осевом направлении упомянутого зубчатого колеса. Между витками спирали размещен материал тела, выступающий над поверхностью из антифрикционного материала на 2÷5 мкм. На внутренней цилиндрической поверхности зубчатого колеса 3 из упругоподатливого материала также размещен дополнительный двухслойный элемент 11, выполненный в виде винтовой в осевом направлении упомянутой цилиндрической поверхности спирали, содержащий выходящий на внутреннюю поверхность наружный слой из материала, идентичного антифрикционному слою на поверхности зубьев, и внутренний слой из сплава алюминия, расположенный между антифрикционным слоем и телом колеса. Технический результат – повышение коэффициента полезного действия в планетарных передачах с большими передаточными отношениями и передачах с паразитными шестернями, работающих в вакууме при отсутствии смазки. 2 з.п. ф-лы, 3 ил.

Изобретение относится к машиностроению и может быть использовано в планетарных передачах с большими передаточными отношениями и передачах с паразитными шестернями, работающих в вакууме при отсутствии смазки.
Известна передача зацеплением, содержащая два зацепляющихся металлопорошковых многослойных в осевом направлении зубчатых колеса, содержащих слои из металлических, на основе железа, и демпфирующих, на основе цветных металлов, материалов с антифрикционными свойствами (авт. свид. СССР № 1698551, кл. Р 16 Н 55/14, БИ, 1991, № 46).
К недостатком конструкции можно отнести низкий коэффициент полезного действия при использовании данного технического решения в планетарных передачах с большими передаточными отношениями и передачах с паразитными шестернями, работающими в вакууме без смазки из-за значительных коэффициентов трения, возникающих при взаимодействии зубчатых колес металлическими слоями.
Известна зубчатая передача, содержащая по меньшей мере одно стальное зубчатое колесо, состоящее из ступицы и сопряженного с ней многослойного венца с эквидистантным профилю зубьев расположением слоев, имеющих переменные в направлении от ножек к вершинам зубьев толщины и различные свойства (авт. свид. СССР № 1183759, F 16 H 55/17, БИ, 1985 г., № 37).
К недостаткам передачи можно отнести ограниченные возможности ее использования в планетарных передачах с большими передаточными отношениями и передачах с паразитными шестернями, работающими в вакууме при отсутствии смазки, что связано с повышенными коэффициентами трения в зубчатом зацеплении и связанном с этим низким коэффициентом полезного действия передачи.
Из известных наиболее близкой по технической сущности к предлагаемой является передача зацеплением, выбранная в качестве прототипа, содержащая входной вал и два взаимно зацепляющиеся зубчатых колеса, по меньшей мере одно из которых выполнено из упругоподатливого материала и облицовано по профилю металлической лентой, имеющей по отношению к основе повышенные износостойкие характеристики (авт. свид. СССР № 1260624, кл. F 16 Н 55/14, БИ, 1986, № 36).
К недостатком конструкции передачи можно отнести низкий коэффициент полезного действия при ее использовании в планетарных передачах с большими передаточными отношениями и передачах с паразитными шестернями, работающими в вакууме без смазки, что связано со значительными коэффициентами трения, возникающими в приведенных выше условиях в трущихся сопряжениях передачи.
Задачей изобретения является повышение коэффициента полезного действия передач зацеплением планетарного типа с большими передаточными отношениями и передач с паразитными шестернями при их работе в вакууме без смазки путем снижения коэффициентов трения в зубчатом зацеплении и подшипниках скольжения.
Для решения поставленной задачи в передаче зацеплением, содержащей входной вал и два взаимно зацепляющиеся колеса, тело по меньшей мере одного из которых выполнено из упругоподатливого материала с внутренней цилиндрической поверхностью, имеющего вдоль поверхности зацепления металлический слой с повышенными износостойкими характеристиками, согласно техническому решению тело упомянутого зубчатого колеса выполнено из антифрикционного материала, например фторопласта, и между ним и слоем из износостойкого материала размещен дополнительный слой из сплава алюминия, при этом наружный слой сформирован на основе оксида алюминия с наполнителем в количестве 1-6 мас.%, выбранным из группы ультрадисперсных алмазоподобных материалов, графита, дихалькогенидов тугоплавких металлов.
Целесообразно, чтобы слой из износостойкого материала и дополнительный слой алюминия были выполнены в виде винтовой в осевом направлении упомянутого зубчатого колеса спирали, при этом между ее витками был размещен материал его тела, выступающий над поверхностью из антифрикционного материала на 2-5 мкм, а также чтобы на внутренней цилиндрической поверхности зубчатого колеса из упругоподатливого материала был размещен дополнительный двухслойный элемент, выполненный в виде винтовой в осевом направлении упомянутой цилиндрической поверхности спирали, содержащий выходящий на внутреннюю поверхность слой, идентичный антифрикционному слою на поверхности зубьев, и внутренний слой из сплава алюминия, расположенный между антифрикционным слоем и телом колеса, при этом между витками спирали был размещен материал тела колеса, выступающий над поверхностью из антифрикционного материала на 2÷5 мкм, пресуммарная площадь которого не превышает 0,05-0,1 площади рабочей поверхности зуба.
Повышение коэффициентов полезного действия передачи достигается в результате следующего:
– выполнение тела зубчатого колеса из антифрикционного материала, например фторопласта, позволяет использовать его внутреннюю цилиндрическую поверхность в качестве наружной обоймы подшипника скольжения в сателлите планетарной передачи или паразитной шестерне и на основе этого существенно снизить коэффициенты трения скольжения в подшипниках скольжения, образованных внутренней цилиндрической поверхностью зубчатого колеса и ответной цилиндрической поверхностью вала;
– размещение между телом зубчатого колеса и слоем из износостойкого материала дополнительного слоя из сплава алюминия и формирование наружного слоя на основе оксида алюминия с наполнителем в количестве 1-6 мас.% наполнителя, выбранного из группы ультрадисперсных алмазоподобных материалов, графита, дихалькогенидов тугоплавких металлов, позволяет снизить коэффициенты трения в зубчатом зацеплении при его работе в вакууме без смазки и обеспечить повышенную износостойкость и требуемые прочностные характеристики при локализованном нагружении;
– выполнение слоя из износостойкого материала и дополнительного слоя из сплава алюминия в виде винтовой в осевом направлении зубчатого колеса спирали и размещение между ее витками антифрикционного материала тела колеса позволяет повысить податливость системы, снизить динамические составляющие нагрузки и неравномерность ее распределения по длине контактных линий и на этой основе уменьшить удельную нагруженность и снизить коэффициенты трения;
– размещение на внутренней цилиндрической поверхности зубчатого колеса из упругоподатливого материала дополнительного двухслойного элемента, выполненного в виде винтовой в осевом направлении упомянутой цилиндрической поверхности спирали и содержащего выходящий на внутреннюю поверхность слой, сформированный на основе оксида алюминия с наполнителем в количестве 1-6 мас.%, выбранным из группы ультрадисперсных алмазоподобных материалов, графита, дихалькогенидов тугоплавких металлов, размещенный между последним и телом колеса слой из сплава алюминия, и введение между витками спирали материала его тела позволяет увеличить нагрузочную способность внутренней цилиндрической поверхности колеса, исключить схватывание контактирующих поверхностей и связанное с этим резкое увеличение коэффициентов трения и снижение коэффициента полезного действия передачи.
Объем наполнителя определяется следующим.
При объеме наполнителя в количестве менее 1 мас.% эффективность его использования как средства повышения антифрикционных свойств при взаимодействии трущихся сопряжении в условиях вакуума без смазки резко снижается.
При объеме наполнителя в количестве более 6 мас.% существенно снижаются прочностные свойства поверхностного слоя.
Размещение между витками спиральных элементов выступающего над поверхностью из антифрикционного материала на 2÷5 мкм упругоподатливого антифрикционного материала тела колеса обеспечивает:
– повышенную податливость системы, позволяющую снизить динамические составляющие нагрузки и виброакустическую активность зубчатой передачи;
– взаимодействие контактирующих элементов при работе в режиме холостого хода и малых нагрузок посредством упругоподатливого антифрикционного материала, обеспечивающего низкие коэффициенты трения и повышенный коэффициент полезного действия передачи на этих режимах, при этом с возрастанием нагруженности этот слой деформируется, начинает взаимодействовать антифрикционный слой, сформированный на основе оксида алюминия с наполнителем в количестве 1-6 мас.%, выбранным из группы ультрадисперсных алмазоподобных материалов, графита, дихалькогенидов тугоплавких металлов, что обеспечивает повышенную нагрузочную способность передачи.
Превышение над поверхностью износостойкого слоя упругоподатливого материала, размещенного между витками винтовых элементов, менее чем на 2 мкм малоэффективно, при более 5 мкм – существенно снижается нагрузочная способность передачи.
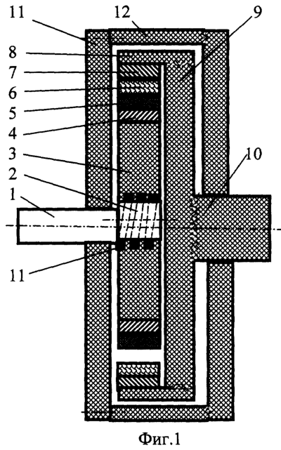
На фиг.1 показана планетарная передача зацеплением;
на фиг.2 – сечение зуба плоскостью, перпендикулярной оси колеса;
на фиг.3 – вид зуба с износостойким материалом и дополнительным слоем алюминия в виде винтовой в осевом направлении спирали.
Планетарная передача зацеплением состоит (фиг.1) из входного вала 1, эксцентрика 2, зубчатого колеса 3 с наружными зубьями, выполненного из упругоподатливого антифрикционного материала – фторопласта и имеющего внутреннюю цилиндрическую поверхность, установленную с возможностью взаимодействия с ответной цилиндрической поверхностью эксцентрика в радиальном направлении и скольжения относительно ее в окружном. На теле из упругоподатливого антифрикционного материала зубчатого колеса 3 последовательно размещены слой 4 из сплава алюминия и наружный слой 5, сформированный на основе оксида алюминия с наполнителем в количестве 1-6 мас.%, выбранным из группы ультрадисперсных алмазоподобных материалов, графита, дихалькогенидов тугоплавких металлов, установленным с возможностью взаимодействия с ответным аналогичным слоем 6, размещенным на слое 7 из сплава алюминия зубьев колеса с внутренними зубьями, тело 8 которого выполнено из фторопласта, неразъемно соединено с фланцем 9, выполненным за одно целое с выходным валом 10. Фланец 9 и выходной вал 10 могут быть выполнены из материала тела 8 зубчатого колеса с внутренними зубьями. Передача размещена в корпусе, состоящем из боковой крышки 11 и корпуса 12, которые также могут быть выполнены из фторопласта.
Слой 5 из антифрикционного материала и слой 4 из сплава алюминия размещены эквидистантно профилю зуба. Они выполнены в виде спирали (фиг.3), в нормальном сечении имеющей прямоугольное сечение, навитой в осевом направлении зубчатого колеса и повторяющей его зубчатый профиль. Между витками спирали размещен материал тела 3 зубчатого колеса, выступающий над поверхностью из антифрикционного материала на 2-5 мкм, суммарная площадь которого не превышает 0,05-0,1 рабочей поверхности зубьев, что обеспечивает его повышенную нагрузочную способность.
На внутренней цилиндрической поверхности тела 3 зубчатого колеса с наружным зубчатым профилем размещен дополнительный двухслойный элемент 11, выполненный в виде винтовой в осевом направлении цилиндрической поверхности спирали и содержащий выходящий на внутреннюю поверхность слой (не показан), сформированный на основе оксида алюминия с наполнителем в количестве 1-6 мас.%, выбранным из группы ультрадисперсных алмазоподобных материалов, графита, дихалькогенидов тугоплавких металлов, и размещенный между последним и телом колеса слой (не показан) из сплава алюминия. Между витками спирали размещен материал тела 3 колеса, выступающий над поверхностью из антифрикционного материала на 2-5 мкм.
При работе передачи зацеплением в режиме холостого хода и малых нагрузок зубчатые колеса взаимодействуют посредством упругоподатливого антифрикционного материала 3 (фиг.3), выступающего над поверхностью слоев 5 из износостойкого материала 5, что обеспечивает низкие коэффициенты трения и повышенный коэффициент полезного действия передачи на этих режимах. При этом с возрастанием нагруженности выступающий материал деформируется и начинают взаимодействовать антифрикционные слои 5 и 7, сформированные на основе оксида алюминия с наполнителем в количестве 1-6 мас.%, выбранным из группы ультрадисперсных алмазоподобных материалов, графита, дихалькогенидов тугоплавких металлов, что обеспечивает повышенную нагрузочную способность передачи и несколько меньшие, но тем не менее значительно лучшие по сравнению с существующими аналогами и прототипом антифрикционные свойства контактирующих поверхностей в условиях вакуума при отсутствии смазки и повышенный коэффициент полезного действия передачи.
В подшипнике скольжения, образованном эксцентриком 2 и внутренней цилиндрической поверхностью тела 3 колеса с наружными зубьями, оксид алюминия с наполнителем в количестве 1-6 мас.%, выбранным из группы ультрадисперсных алмазоподобных материалов, графита, дихалькогенидов тугоплавких металлов, спирального элемента 11, обеспечивает повышенные антифрикционные свойства контактирующих поверхностей в условиях вакуума при отсутствии смазки и повышенный коэффициент полезного действия передачи. Антифрикционные свойства тел 3 и 11 колес, материал которых выходит на контактирующие поверхности, также способствует повышению их антифрикционных свойств.
Использование в конструкции спирального размещения несущих элементов позволяет повысить податливость системы, снизить динамические составляющие нагрузки и неравномерность ее распределения по длине контактных линий и на этой основе уменьшить удельную нагруженность и снизить коэффициенты трения.
Использование предлагаемых технических решений в планетарных передачах с большими передаточными отношениями и передачах с паразитными шестернями позволяет существенно повысить коэффициенты их полезного действия при работе в вакууме без смазки.
Формула изобретения
1. Передача зацеплением, содержащая входной вал и два взаимно зацепляющиеся зубчатых колеса, тело по меньшей мере одного из которых выполнено из упругоподатливого материала с внутренней цилиндрической поверхностью и имеет вдоль поверхности зацепления слой из износостойкого материала, отличающаяся тем, что тело упомянутого зубчатого колеса выполнено из антифрикционного материала, например фторопласта, и между ним и слоем из износостойкого материала размещен дополнительный слой из сплава алюминия, при этом наружный слой сформирован на основе оксида алюминия с наполнителем в количестве 1÷6 мас.%, выбранным из группы: ультрадисперсных алмазоподобных материалов, графита, дихалькогенидов тугоплавких металлов.
2. Передача зацеплением по п.1, отличающаяся тем, что слой из износостойкого материала и дополнительный слой алюминия выполнены в виде винтовой спирали, размещенной в осевом направлении упомянутого зубчатого колеса, при этом между ее витками размещен материал его тела, выступающий над поверхностью из антифрикционного материала на 2÷5 мкм и имеющий площадь поверхности, не превышающую 0,05-0,1 площади рабочей поверхности зубьев.
3. Передача зацеплением по п.1 или 2, отличающаяся тем, что на внутренней цилиндрической поверхности зубчатого колеса из упругоподатливого материала размещен дополнительный двухслойный элемент, выполненный в виде винтовой, в осевом направлении упомянутой цилиндрической поверхности, спирали, содержащий выходящий на внутреннюю поверхность наружный слой из материала, идентичного антифрикционному слою на поверхности зубьев, и внутренний слой из сплава алюминия, расположенный между антифрикционным слоем и телом колеса, при этом между витками спирали размещен материал тела колеса и между ее витками был размещен материал его тела, выступающий над поверхностью из антифрикционного материала на 2÷5 мкм.
РИСУНКИ
MM4A Досрочное прекращение действия патента Российской Федерации на изобретение из-за неуплаты в установленный срок пошлины за поддержание патента в силе
Дата прекращения действия патента: 19.11.2004
Извещение опубликовано: 27.12.2006 БИ: 36/2006
|
|