|
|
(21), (22) Заявка: 2004100723/03, 15.01.2004
(24) Дата начала отсчета срока действия патента:
15.01.2004
(45) Опубликовано: 27.11.2004
(56) Список документов, цитированных в отчете о поиске:
US 4694754 А, 22.09.1987. SU 126081 А, 01.03.1960. SU 470603 А, 20.08.1975. SU 1810503 А1, 23.04.1993. RU 2066739 C1, 20.09.1996. RU 2170338 С2, 10.07.2001. US 5638901 А, 17.06.1997. US 5829538 А, 03.11.1998. US 5785130 А, 28.07.1998. US 5323684 А, 28.04.1994.
Адрес для переписки:
140105, Московская обл., г. Раменское, ул. Прямолинейная, 26, ОАО “ВНИПИвзрывгеофизика”
|
(72) Автор(ы):
Ликутов А.Р. (RU), Сиротин В.Т. (RU), Тебякин В.М. (RU)
(73) Патентообладатель(и):
Открытое акционерное общество “Всероссийский научно-исследовательский и проектно-конструкторский институт по использованию энергии взрыва в геофизике” (RU)
|
(54) КУМУЛЯТИВНЫЙ ПЕРФОРАТОР ДЛЯ СКВАЖИНЫ
(57) Реферат:
Изобретение относится к технике прострелочно-взрывных работ в скважине и может быть использовано для вторичного вскрытия прискважинной зоны продуктивного пласта. Обеспечивает увеличение плотности вскрытия пласта скважины при максимальном использовании рабочих параметров кумулятивных зарядов за счет снижения или исключения негативных эффектов взаимного влияния взрывов, а также возможность сборки зарядов в любых условиях практически любой длины, с любой ориентацией и взаимным расположением кумулятивных зарядов при достаточности простых универсальных заготовок. Сущность изобретения: устройство включает каркас из стержней в количестве более двух, установленных по длине устройства. Имеются кумулятивные заряды, рассредоточенные по длине устройства в виде гирлянды. Они размещены в каркасе и/или на каркасе и выполнены с проточками по их боковой поверхности для фиксирования в стержнях каркаса. Имеются также узел инициирования кумулятивных зарядов и средства для экранирования взрывов смежных кумулятивных зарядов, размещенные между этими зарядами. Средства для экранирования взрывов служат дополнительными средствами фиксации кумулятивных зарядов и стержней каркаса в заданном положении. При этом смежные кумулятивные заряды смещены друг относительно друга, по меньшей мере, в поперечном сечении устройства, на каждом шаге установки этих зарядов по длине устройства на одинаковый и/или разный угол в одном и/или разных направлениях отсчета угла. 9 з. п. ф-лы, 2 ил.

Изобретение относится к технике прострелочно-взрывных работ в скважинах и может быть использовано для вторичного вскрытия прискважинной зоны пласта.
Известны кумулятивные перфораторы для скважины как корпусные, так и бескорпусные, в которых использованы различные типы и конструкции каркасов и обойм для установки на них кумулятивных зарядов.
Известен кумулятивный перфоратор для скважины, включающий плоскую литую металлическую ленту с отверстиями, участки которой по длине повернуты друг относительно друга на некоторый угол, при этом кумулятивные заряды установлены в отверстиях этой ленты [см, например, пат. США №4694754, 22.09.1987].
Известное устройство реализует в той или иной мере задачу обеспечения вскрытия пласта в скважине с допустимой плотностью перфорации.
Недостатком известного устройства является то, что оно должно быть индивидуально изготовленным для каждого конкретного случая (каждой скважины). С изменением условий в скважине не представляется возможным внести оперативные коррективы в ранее разработанную программу вскрытия пласта в скважине.
Кроме того, известное устройство не обеспечивает максимально возможной плотности вскрытия пласта в скважине.
При попытках расположения кумулятивных зарядов на небольшом расстоянии друг от друга неизбежно проявляется в той или иной мере эффект взаимного влияния взрывов смежных кумулятивных зарядов, например от ударных волн и продуктов детонации. В результате кумулятивные струи зарядов работают не в эффективном режиме. Они, например, отклоняются, что ведет к уменьшению глубины воздействия этих струй на вскрываемый пласт.
Кроме того, с применением бескорпусного кумулятивного перфоратора отмечается невысокая степень надежности защиты кумулятивных зарядов.
Техническим результатом изобретения является увеличение плотности вскрытия пласта скважины при максимальном использовании рабочих параметров кумулятивных зарядов за счет снижения или исключения негативных эффектов взаимного влияния взрывов, а также возможность сборки зарядов в любых условиях практически любой длины, с любой ориентацией и взаимным расположением кумулятивных зарядов при достаточности простых универсальных заготовок элементов устройства.
Необходимый технический результат достигается тем, что кумулятивный перфоратор для скважины включает каркас из стержней в количестве более двух, установленных по длине устройства, кумулятивные заряды, рассредоточенные по длине устройства в виде гирлянды, размещенные в каркасе и/или на каркасе и выполненные с проточками по их боковой поверхности для фиксирования в стержнях каркаса, узел инициирования кумулятивных зарядов и средства для экранирования взрывов смежных кумулятивных зарядов, размещенные между этими зарядами и служащие дополнительными средствами фиксации кумулятивных зарядов и стержней каркаса в заданном положении, при этом смежные кумулятивные заряды смещены друг относительно друга, по меньшей мере, в поперечном сечении устройства, на каждом шаге установки этих зарядов по длине устройства на одинаковый и/или разный угол в одном и/или разных направлениях отсчета угла.
Кроме того:
смежные кумулятивные заряды смещены друг относительно друга в поперечном сечении устройства на одинаковый угол 120° на каждом шаге установки этих зарядов по длине устройства;
смежные кумулятивные заряды смещены друг относительно друга в поперечном сечении устройства на одинаковый угол 60° на каждом шаге установки этих зарядов по длине устройства;
смежные кумулятивные заряды смещены друг относительно друга в поперечном сечении устройства на последовательно чередующиеся углы 30° и 90° на каждом шаге установки этих зарядов по длине устройства;
стержни каркаса выполнены металлическими;
проточки на боковой поверхности кумулятивных зарядов выполнены кольцевыми в их средней и верхней частях;
средства для экранирования взрывов выполнены в виде металлических дисков, одинарных и/или сдвоенных, с отверстиями и/или вырезами в периферийной части под стержни;
средства для экранирования взрывов установлены вплотную с кумулятивными зарядами;
по меньшей мере часть дисков выполнены с возможностью центрирования устройства в скважине;
кумулятивный перфоратор содержит корпус, в котором размещен каркас из стержней с кумулятивными зарядами, размещенными в каркасе.
Сущность изобретения заключается в том, что с применением устройства в соответствии с данным изобретением появляется возможность значительного увеличения плотности вскрытия пласта скважины на один погонный метр перфорации. Это достигают за счет того, что угол смещения кумулятивных зарядов в поперечном сечении устройства на каждом шаге установки кумулятивных зарядов по длине перфоратора (от заряда к заряду) может быть принят минимально допустимым, например 60° или 90°, при номинальной (типовой) мощности кумулятивных зарядов и условии уменьшения и/или исключения взаимного влияния взрывов смежных кумулятивных зарядов. Для этого предусмотрено размещение между этими зарядами специального средства для экранирования взрывов смежных кумулятивных зарядов. Это средство может быть выполнено, например, в виде диска или дисков из материала (металла), экранирующего ударные волны взрывов смежных кумулятивных зарядов. При наличии средства для экранирования взрывов кумулятивные заряды могут быть установлены вплотную к этим средствам и друг к другу. Особенностью предложенного устройства является также и то, что средства для экранирования взрывов в устройстве выполняют и дополнительную функцию фиксации кумулятивных зарядов и стержней в их заданном положении. При этом они обеспечивают необходимую жесткость устройства в поперечном сечении устройства и необходимую продольную гибкость устройства, что особенно важно в наклонных, или горизонтальных, или субгоризонтальных скважинах.
За счет комбинации стержней каркаса устройство обеспечивает возможность установки кумулятивных зарядов (с минимальным расстоянием друг от друга) как с постоянным вышеупомянутым угловым смещением, например 60° или 120°, так и с переменным угловым смещением, например чередованием углов 30° и 90°.
В некоторых случаях кумулятивные заряды, например, на концах перфоратора могут быть смещены относительно смежных с ними зарядов и в продольной плоскости (кроме поперечной плоскости), например, в сторону, противоположную от смежных с ними зарядов. При этом эти заряды могут иметь и большую мощность, чем смежные заряды.
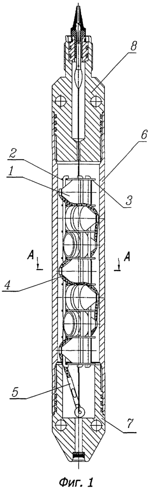
На фиг.1 показан общий вид кумулятивного перфоратора. На фиг.2 показан разрез одного из кумулятивных зарядов.
Устройство включает кумулятивные заряды 1 с проточками, установленные между стержнями 2 каркаса, которые зафиксированы в определенном положении в отверстиях или проточках средств для экранирования взрывов, например в отверстиях металлических дисков 3. Для этого диски могут быть размещены на стержнях до упора с кумулятивными зарядами, обеспечивая минимальное расстояние между ними, а также фиксируя заряды с выбранным угловым смещением их на каждом шаге установки по длине устройства и стержни в определенном положении.
Собранная таким образом в стержневом каркасе гирлянда кумулятивных зарядов снаряжена узлом инициирования кумулятивных зарядов, включающим, например, детонирующий шнур 4 и взрывной патрон 5. Полностью собранный зарядный комплект в каркасе из стержней 2 может быть помещен в корпус 6, который может быть герметично закрыт наконечником 7 и головкой перфоратора 8.
Кумулятивный перфоратор работает следующим образом. В заводских условиях или на устье скважины с применением простых универсальных заготовок в виде, например, стержней 2 и дисков 3 с периферийными отверстиями или проточками собирают каркас необходимой длины, практически любой, под толщину конкретного пласта скважины, подлежащего перфорации. В каркасе размещают кумулятивные заряды 3 и узел инициирования зарядов с детонирующим шнуром 4 и взрывным патроном 5. При необходимости сборку зарядного комплекта размещают в корпусе. При сборке устройства на устье скважины для получения корпуса необходимой длины используют типовые заготовки из патрубков.
Собранный таким образом зарядный комплект спускают в скважину в необходимый ее интервал.
После установки устройства в скважине на заданной глубине приводят в действие взрывной патрон 5, который передает детонацию на детонирующий шнур 4. От детонирующего шнура 4 срабатывают кумулятивные заряды 1. Кумулятивные заряды при их срабатывании пробивают корпус перфоратора (при его наличии в устройстве), обсадную колонну скважины (в случае крепления последней в данном интервале), цемент в заколонном пространстве скважины (в случае ее цементировании в данном интервале) и образуют в пласте перфорационные каналы с заданной их плотностью на один погонный метр скважины. При этом при вышеописанных мерах по исключению влияния взрывов смежных зарядов получают перфорационные каналы заданного сечения, заданной протяженности и с заданным их относительным положением, что исключает необходимость проведения повторных операций перфорации до достижения необходимого результата и обеспечивает, например, необходимую очистку перфорационных каналов при депрессии в скважине (вызове притока) и последующий приток продукта из скважины с заданным дебитом.
Формула изобретения
1. Кумулятивный перфоратор для скважины, включающий каркас из стержней, в количестве более двух, установленных по длине устройства, кумулятивные заряды, рассредоточенные по длине устройства в виде гирлянды, размещенные в каркасе и/или на каркасе и выполненные с проточками по их боковой поверхности для фиксирования в стержнях каркаса, узел инициирования кумулятивных зарядов и средства для экранирования взрывов смежных кумулятивных зарядов, размещенные между этими зарядами и служащие дополнительными средствами фиксации кумулятивных зарядов и стержней каркаса в заданном положении, при этом смежные кумулятивные заряды смещены друг относительно друга, по меньшей мере, в поперечном сечении устройства, на каждом шаге установки этих зарядов по длине устройства на одинаковый и/или разный угол в одном и/или разных направлениях отсчета угла.
2. Кумулятивный перфоратор по п.1, отличающийся тем, что смежные кумулятивные заряды смещены друг относительно друга, в поперечном сечении устройства, на одинаковый угол 120° на каждом шаге установки этих зарядов по длине устройства.
3. Кумулятивный перфоратор по п.1, отличающийся тем, что смежные кумулятивные заряды смещены друг относительно друга, в поперечном сечении устройства, на одинаковый угол 60° на каждом шаге установки этих зарядов по длине устройства.
4. Кумулятивный перфоратор по п.1, отличающийся тем, что смежные кумулятивные заряды смещены друг относительно друга, в поперечном сечении устройства, на последовательно чередующиеся углы 30 и 90° на каждом шаге установки этих зарядов по длине устройства.
5. Кумулятивный перфоратор по п.1, отличающийся тем, что стержни каркаса выполнены металлическими.
6. Кумулятивный перфоратор по п.1, отличающийся тем, что проточки на боковой поверхности кумулятивных зарядов выполнены кольцевыми в их средней и верхней частях.
7. Кумулятивный перфоратор по п.1, отличающийся тем, что средства для экранирования взрывов выполнены в виде металлических дисков, одинарных и/или сдвоенных, с отверстиями и/или вырезами в периферийной части под стержни.
8. Кумулятивный перфоратор по п.1, отличающийся тем, что экранирующие средства установлены вплотную с кумулятивными зарядами.
9. Кумулятивный перфоратор по п.8, отличающийся тем, что, по меньшей мере, часть дисков выполнены с возможностью центрирования устройства в скважине.
10. Кумулятивный перфоратор по п.1, отличающийся тем, что он содержит корпус, в котором размещен каркас из стержней с кумулятивными зарядами, размещенными в каркасе.
РИСУНКИ
|
|