|
|
(21), (22) Заявка: 2003117765/03, 18.06.2003
(24) Дата начала отсчета срока действия патента:
18.06.2003
(45) Опубликовано: 27.11.2004
(56) Список документов, цитированных в отчете о поиске:
US 4722156 А, 02.02.1988. RU 2121045 C1 , 27.10,1998. EP 0218313 A2, 15.04.1987. КИКИН А.И. и др. Конструкции из стальных труб, заполненных бетоном. – М.: Стройиздат, 1974, с.18.
Адрес для переписки:
127521, Москва, 17-й пр-д Марьиной рощи, 9, ОАО “Московский ИМЭТ”-Отделение интеллектуальной собственности
|
(72) Автор(ы):
Бикбау М.Я. (RU), Тимербулатов Т.Р. (RU)
(73) Патентообладатель(и):
Открытое акционерное общество “Московский институт материаловедения и эффективных технологий” (RU)
|
(54) ТРУБЧАТАЯ СТРОИТЕЛЬНАЯ КОНСТРУКЦИЯ
(57) Реферат:
Изобретение относится к строительству, а именно к конструкциям каркасов из стальных труб, заполненных бетоном. Технический результат: сокращение сроков возведения и стоимости каркаса из трубобетона, повышение его прочности и несущей способности. Трубчатая строительная конструкция, включающая соосно сопряженные стальные трубы с бетонным сердечником внутри и соединенные между собой и с горизонтальными несущими балками узловым соединительным элементом, заполняемым бетоном, узловой соединительный элемент выполнен в виде трех соединенных основаниями пустотелых стальных цилиндров: верхнего, среднего и нижнего каждый высотой 0,5-1,5 наружного диаметра сопрягаемых труб, при этом верхний и нижний цилиндры элемента выполнены с наружным диаметром 0,80-0,99 внутреннего диаметра сопрягаемых труб, а средний цилиндр с наружным диаметром 1,01-1,15 наружного диаметра нижней трубы выполнен с отверстиями, оси которых расположены на середине высоты боковой поверхности цилиндра для ввода концов горизонтальных балок внутрь среднего цилиндра на 0,4-0,8 его внутреннего радиуса, а концы балок снабжены перфорацией или прорезями для соединения концов балок стальными элементами, например стопорным металлическим кольцом. Кроме того, отверстия в боковой поверхности среднего цилиндра выполнены с резьбой. 1 з.п. ф-лы, 2 ил.

Предлагаемое изобретение относится к строительству, а именно к конструкциям каркасов домов из стальных труб, заполненных бетоном, и может быть использовано при возведении каркасов многоэтажных зданий жилого, общественного и промышленного назначения.
Известна трубчатая строительная конструкция, включающая соосно сопряженные стальные трубы с бетонным сердечником внутри и узловой соединительный элемент в виде фланцевого стыка со стыковым сварным швом (см., например, книгу А.И.Кикина и др. Конструкции из стальных труб, заполненных бетоном. М., Стройиздат, 1974 г., с.18). Заполнение стальной трубы бетоном повышает ее противокоррозионную стойкость, уменьшает гибкость составляющих металлическую конструкцию элементов, повышает сопротивление трубчатой оболочки вмятию в узлах сопряжений.
Однако повышенная трудоемкость изготовления узлов сопряжения трубчатых оболочек путем сварки фланцевых стыков стальных труб существенно снижает эффективность использования известного решения.
Наиболее близкой по технической сущности к предлагаемой является трубчатая строительная конструкция, включающая соосно сопряженные стальные трубы с бетонным сердечником внутри, соединенные между собой и с горизонтальными несущими балками узловым соединительным элементом, заполняемым бетоном (см., например, патент США №4722156, кл. Е 04 С 3/34, 1988 г.)
Цель предлагаемого изобретения – повышение прочности трубчатой строительной конструкции, ускорение монтажа каркаса зданий, снижение стоимости строительства.
Поставленная цель достигается тем, что в трубчатой строительной конструкции, включающей соосно сопряженные стальные трубы с бетонным сердечником внутри, соединенные между собой и с горизонтальными несущими балками узловым соединительным элементом, заполняемым бетоном, последний выполнен в виде трех соединенных основаниями пустотелых стальных цилиндров: верхнего, среднего и нижнего, каждый высотой 0,5-1,5 наружного диаметра сопрягаемых труб, при этом верхний и нижний цилиндры элемента выполнены с наружным диаметром 0,80-0,99 внутреннего диаметра сопрягаемых труб, а средний цилиндр с наружным диаметром 1,01-1,15 наружного диаметра нижней трубы выполнен с отверстиями, оси которых расположены на середине высоты боковой поверхности цилиндра для ввода концов горизонтальных балок внутрь среднего цилиндра на 0,4-0,8 его внутреннего радиуса, а концы балок снабжены перфорацией или прорезями для соединения концов балок стальными элементами, например стопорным металлическим кольцом. Кроме того, отверстия в боковой поверхности среднего цилиндра выполнены с резьбой.
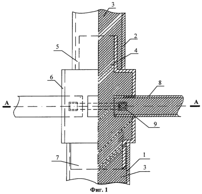
Трубчатая строительная конструкция изображена на фиг.1, на фиг.2 – разрез А-А на фиг.1.
Трубчатая строительная конструкция содержит соосно сопряженные стальные трубы 1 (нижняя) и 2 (верхняя) с бетонным сердечником 3. Трубы соединены друг с другом посредством узлового соединительного элемента 4, выполненного в виде соединенных основаниями трех пустотелых стальных цилиндров: верхнего 5, среднего 6 и нижнего 7. Высота каждого цилиндра составляет 0,5-1,5 наружного диаметра сопрягаемых труб; верхний цилиндр 5 и нижний цилиндр 7 выполнены с наружным диаметром, равным 0,80-0,99 внутреннего диаметра труб, а средний цилиндр 6 имеет наружный диаметр, равный 1,05-1,15 наружного диаметра нижней стальной трубы 1. На боковой поверхности среднего цилиндра 6 имеются отверстия, оси которых расположены на середине высоты боковой поверхности цилиндра и в которые введены концы горизонтальных несущих балок 8, например, в виде квадратных труб или швеллеров. При этом глубина ввода горизонтальных балок внутрь среднего цилиндра 6 составляет 0,4-0,8 внутреннего радиуса цилиндра, а сечение отверстий имеет конфигурацию и размеры, обеспечивающие плотную установку несущих горизонтальных балок 8 в указанных отверстиях, при этом концы балок снабжены перфорацией или прорезями для соединения концов балок стальным элементом, например стопорным металлическим кольцом 9. В случае соединения горизонтальных балок со средним цилиндром с помощью опорных втулок, ввинчиваемых в отверстия среднего цилиндра, последние выполняются с резьбой.
Изготовление трубчатой строительной конструкции с параметрами, выходящими за пределы, приведенные в заявляемой конструкции, не позволяет достичь поставленной цели.
Монтаж предлагаемой трубчатой строительной конструкции производят следующим образом. Стальные трубы 1 (нижние) предварительно выставляют в проектное положение (вертикально) на возведенном фундаменте. Затем в верхний свободный конец нижних труб 1 вставляют нижние цилиндры 7 узловых соединительных элементов 4 таким образом, что они плотно прилегают к внутренней поверхности труб. В отверстиях среднего цилиндра 6 размещают горизонтальные несущие балки 8, концы которых соединяют механически стальными кольцами 9, и таким образом связывают трубы 1 и горизонтальные балки в единый каркас.
По готовности каркаса производят омоноличивание высокопрочным бетоном внутренних полостей труб до уровня верхнего основания цилиндра 5. После затвердевания бетона верхние цилиндры 5 соединительных элементов 4 сопрягают со стальными трубами 2 металлического каркаса следующего этажа здания, а в верхний свободный конец труб вновь вставляют узловые соединительные элементы 4 следующего этажа, и в дальнейшем возведение каркаса производят описываемым выше способом с применением предлагаемой конструкции.
Использование в предлагаемой трубчатой строительной конструкции узлового соединительного элемента позволяет снизить трудоемкость работ при возведении каркаса, исключить необходимость соблюдения большой точности обрезки торцов стальных труб для обеспечения предельно четкой их стыковки, существенно сократить сроки возведения и стоимость каркаса, повысить его прочность и несущую способность.
Формула изобретения
1. Трубчатая строительная конструкция, включающая соосно сопряженные стальные трубы с бетонным сердечником внутри, соединенные между собой с горизонтальными несущими балками узловым соединительным элементом, заполняемым бетоном, отличающаяся тем, что узловой соединительный элемент выполнен в виде трех соединенных основаниями пустотелых стальных цилиндров: верхнего, среднего и нижнего, каждый высотой 0,5-1,5 наружного диаметра сопрягаемых труб, при этом верхний и нижний цилиндры элемента выполнены с наружным диаметром 0,80-0,99 внутреннего диаметра сопрягаемых труб, а средний цилиндр с наружным диаметром 1,01-1,15 наружного диаметра нижней трубы выполнен с отверстиями, оси которых расположены на середине высоты боковой поверхности цилиндра для ввода концов горизонтальных балок внутрь среднего цилиндра на 0,4-0,8 его внутреннего радиуса, а концы балок снабжены перфорацией или прорезями для соединения концов балок стальными элементами, например стопорным металлическим кольцом.
2. Трубчатая строительная конструкция по п.1, отличающаяся тем, что отверстия в боковой поверхности среднего цилиндра выполнены с резьбой.
РИСУНКИ
|
|