|
|
(21), (22) Заявка: 2003101962/12, 25.06.2001
(24) Дата начала отсчета срока действия патента:
25.06.2001
(30) Конвенционный приоритет:
27.06.2000 (пп.1-6) DE 10031171.7
(43) Дата публикации заявки: 20.05.2004
(45) Опубликовано: 27.11.2004
(56) Список документов, цитированных в отчете о поиске:
DE 1083219 В, 15.06.1960. DE 4216581 А1, 25.11.1993. FR 2756575 А1, 01.12.1997. ЛИХТЦЕР Е.И. и др. Обслуживание прачечного оборудования. – М.: Высшая школа, 1986, с.73.
(85) Дата перевода заявки PCT на национальную фазу:
27.01.2003
(86) Заявка PCT:
EP 01/07166 (25.06.2001)
(87) Публикация PCT:
WO 02/00987 (03.01.2002)
Адрес для переписки:
129010, Москва, ул. Большая Спасская, 25, стр.3, ООО “Юридическая фирма Городисский и Партнеры”, пат.пов. Е.В.Томской
|
(72) Автор(ы):
НИЧМАНН Кай (DE), ПРОППЕ Вольфганг (DE)
(73) Патентообладатель(и):
БСХ БОШ УНД СИМЕНС ХАУСГЕРЕТЕ ГМБХ (DE)
(74) Патентный поверенный:
Томская Елена Владимировна
|
(54) ЗАГРУЗОЧНЫЙ ЛЮК ДЛЯ БАРАБАННОЙ СТИРАЛЬНОЙ МАШИНЫ С ФРОНТАЛЬНОЙ ЗАГРУЗКОЙ
(57) Реферат:
Загрузочный люк образован круглым участком 5, составляющим дно, и участком 4, составляющим боковую стенку. Участок 5, составляющий дно, состоит из смотрового стекла 10, имеющего внутреннюю поверхность 12 и краевую область 14. Сужающийся в направлении составляющего дно участка 5 составляющий боковую стенку участок 4 чаши состоит из жесткого синтетического материала. Смотровое стекло 10 по всей длине краевого участка 14, составляющего дно участка 5, изогнуто в направлении участка 4, составляющего боковую стенку, таким образом, что краевая область 14 участка 5, составляющего дно, образует закругленный стеклянный выступ 16. По наружному краю стеклянного выступа 16 смотровое стекло 10 включает наклонно расположенный относительно внутренней поверхности 12 участка 5, составляющего дно, кольцеобразный соединительный участок 6, находящийся своим верхним концом 18 в прочном зацеплении с внутренним концом 20 участка 4, составляющего боковую стенку. Технический результат заключается в создании загрузочного люка относительно легкого и простого в обращении, обеспечивающего надежное уплотнение корпуса. 5 з.п. ф-лы, 3 ил.

Настоящее изобретение относится к загрузочному люку для барабанной стиральной машины с фронтальной загрузкой, имеющему закрытую внутрь стиральной машины чашеобразную форму, с круглым участком, составляющим дно, и участком, составляющим боковую стенку, при этом участок, составляющий дно, образован смотровым стеклом, включающим по существу плоскую внутреннюю поверхность, а также краевую область, и при этом сужающийся в сторону участка, составляющего дно чаши, участок, составляющий боковую стенку, образован из синтетического материала.
У стиральных машин с фронтальной загрузкой на передней стороне оборудован загрузочный люк, выполненный в большинстве случаев круглым и включающий смотровое стекло в виде дна загрузочного люка для барабанных стиральных машин с фронтальной загрузкой из прозрачного материала, позволяющий пользователю заглядывать внутрь стиральной машины. С открытым загрузочным люком вещи могут загружаться непосредственно в барабан и выниматься из него. Обычно для барабанных стиральных машин с фронтальной загрузкой применяются загрузочные люки, имеющие чашеобразную форму, закрытую внутрь стиральной машины. Таким образом, пространство между боковой поверхностью корпуса и барабаном для белья заполняется дном загрузочного люка так, что устраняется мертвое пространство между корпусом стиральной машины и вращающимся барабаном для белья. Соответствующие загрузочные люки для барабанных стиральных машин с фронтальной загрузкой состоят в настоящее время в большинстве случаев из чашеобразного элемента из стекла или прозрачного синтетического материала. Так как загрузочный люк ограничивает барабан для белья непосредственно со стороны открывания, то важно между вращающимся барабаном и неподвижными деталями машины создать соответствующее уплотнение.
Подобный загрузочный люк известен, например, из описания к полезной модели DE 9014622 U1. Эта публикация описывает прозрачный чашеобразный элемент по существу полусферической формы и охватывающий рамный элемент, который размещается по кромке наружного периметра чашеобразного элемента. Предпочтительно чашеобразный элемент изготовлен из стекла, но может состоять также из прозрачного синтетического материала.
Недостатком загрузочного люка по DE 9014622 U1 при применении прозрачного синтетического материала является то, что он не обеспечивает оптимальную видимость в барабане для белья, так как этот материал деградирует в особенности вследствие химических воздействий и истирания от вращающегося белья после длительного использования. Применение же стекла для чашеобразного элемента чревато тем недостатком, что в этом случае загрузочный люк оказывается относительно тяжелым и неудобным в обращении.
Эти недостатки преодолевает известное устройство согласно DE-AS 1083219. В этом документе представлен загрузочный люк для барабанной стиральной машины, заглубленный в промежуточное пространство между наружной стороной аппарата и барабаном для белья, причем это заглубление выполнено в виде бортика из мягкого эластичного материала, имеющего на обращенной к барабану внутренней стороне направленные внутрь уплотнительные кромки для крепления прозрачного стекла.
Недостаток этого известного люка состоит в том, что обращенные к барабану с бельем уплотнительные кромки мягкого эластичного бортика в результате продолжительного использования и постоянного контакта с мыльной щелочью могут стать пористыми. Кроме того, мягкие эластичные уплотнительные кромки могут смещаться под действием вращающегося белья. К тому же при продолжительной работе неизбежно происходит все более заметный износ мягких эластичных уплотнительных кромок под действием вращающегося белья. С течением времени эти воздействия ухудшают необходимое уплотнение барабана для белья. Может даже снизиться надежность удержания стекла между уплотнительными кромками. Кроме того, при соударении участка стираемой вещи с мягкой эластичной уплотнительной кромкой эта вещь может внезапно затормозиться, что может привести к перегрузке и в определенном случае к разрыву вещи.
Задачей изобретения является создание загрузочного люка вышеназванного типа, относительно легкого и простого в обращении, обеспечивающего в период использования стиральной машины надежное уплотнение корпуса и вместе с тем позволяющего предотвратить дополнительную нагрузку на стираемые вещи.
Согласно изобретению эта задача решается за счет того, что синтетический материал представляет собой жесткий эластичный материал, что смотровое стекло по всей длине краевой области изогнуто в направлении участка, составляющего боковую стенку, таким образом, что образует закругленный стеклянный выступ, и смотровое стекло по внешнему краю стеклянного выступа включает расположенный наклонно к внутренней поверхности смотрового стекла кольцеобразный соединительный участок, находящийся своим верхним концом в прочном зацеплении с внутренним концом участка, составляющего боковую стенку. Благодаря признакам согласно изобретению создается сравнительно легкий, износостойкий загрузочный люк, который не оказывает на вращающееся белье ни тормозящего, ни истирающего воздействия.
Особенно преимущественным является то, что состоящий из синтетического материала участок, составляющий боковую стенку, может удерживаться в более узком интервале допусков, чем литье из стекломассы в этом месте (примерно 1/3 допусков для стекла). Это позволяет лучше использовать функцию уплотнения между загрузочным люком и манжетным уплотнением, окружающим люк.
Предпочтительно верхний конец соединительного участка выполнен таким образом, что предусмотрено удлинение, входящее в зацепление с соответствующей канавкой на внутреннем конце участка, составляющего боковую стенку, вследствие чего обеспечивается надежное соединение.
Предпочтительно верхний конец соединительного участка выполнен литьем под давлением за одно целое с участком, составляющим боковую стенку, вследствие чего уменьшается число отдельных элементов, что способствует снижению монтажных и складских издержек.
Дальнейшее уменьшение числа элементов конструкции возможно благодаря предпочтительному варианту исполнения наружного конца участка, составляющего боковую стенку, как единой детали в виде кольцеобразной рамы люка.
В предпочтительном варианте внутренняя поверхность смотрового стекла выполнена в направлении отверстия чаши выпуклой, что повышает запас прочности стекла.
Другие детали, признаки и преимущества изобретения вытекают из последующего описания со ссылкой на чертежи, в которых представлены:
фиг.1 – перспективное изображение с видом спереди стиральной машины с фронтальной загрузкой с открытым загрузочным люком,
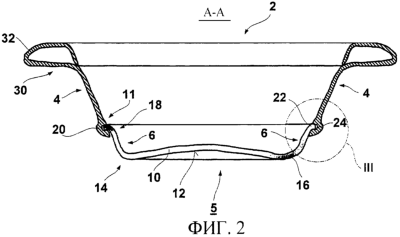
фиг.2 – повернутый на 90° вид в разрезе вдоль линии разреза А-А по фиг.1 первого варианта выполнения загрузочного люка согласно изобретению,
фиг.3 – деталь III согласно фиг.2 в разрезе второго варианта выполнения загрузочного люка согласно изобретению.
На фиг.1 показана с видом спереди стиральная машина 1, снабженная открытым загрузочным люком 2 для запирания проема 3 для загрузки и разгрузки белья.
На фиг.2 представлен предпочтительный вариант выполнения загрузочного люка 2 согласно изобретению. Загрузочный люк 2 состоит из участка 4, составляющего боковую стенку, из жесткого синтетического материала и участка 5, составляющего дно, образованного минеральным смотровым стеклом 10. Смотровое стекло 10 включает внутреннюю поверхность 12, слегка выпуклую в направлении отверстия чаши. В краевой области 14 участка 5, составляющего дно, смотровое стекло 10 выгнуто в направлении участка 4, составляющего боковую стенку, таким образом, что образует закругленный стеклянный выступ 16. По внешнему краю стеклянного выступа 16 смотровое стекло 10 включает наклонно расположенный относительно внутренней поверхности 12 участка 5, составляющего дно, кольцеобразный соединительный участок 6. Соединительный участок 6 заканчивается верхним концом 18, имеющим кольцеобразное удлинение 22, расположенное по существу параллельно внутренней поверхности 12 участка 5, составляющего дно чаши.
Это удлинение 22 заходит в верхний конец 20 участка 4, составляющего боковую стенку, таким образом, что находится в прочном зацеплении с канавкой 24 соответствующей конфигурации на внутреннем конце 11 бокового участка 4. Предпочтительно соединение выполнено за счет того, что верхний конец 18 предварительно отформованного смотрового стекла 10 вместе с удлинением 22 при формовании литьем под давлением составляющего боковую стенку участка 4 замоноличивается его верхним концом 20. В альтернативном исполнении составляющий боковую стенку участок 4 из синтетического материала в размягченном горячем состоянии может экструдироваться на удлинение 22 смотрового стекла 10. Форма составляющего боковую стенку участка 4 может выбираться таким образом, что наружный конец 30 составляющего боковую стенку участка 4 выполняется за одно целое в виде кольцеобразной рамы 32 люка.
Другой, также предпочтительный вариант исполнения загрузочного люка 2 согласно изобретению представлен вырезанной деталью III на фиг.3, включающей краевую область смотрового стекла 10 и бокового участка 4. Здесь верхний конец 18 соединительного участка 6 смотрового стекла 10 включает кольцевое удлинение 26, проходящее вначале по существу параллельно к внутренней поверхности 12 донного участка 5, а затем примерно перпендикулярно к ней. В этом варианте исполнения стеклянный верхний конец 18 при формовании литьем под давлением заливается боковым участком 4, что создает исключительно надежное соединение.
При эксплуатации стиральной машины закрытый загрузочный люк 2 заполняет пространство загрузочного отверстия между наружной стороной аппарата и барабаном для белья. Барабан для белья ограничивается таким образом на передней стороне смотровым стеклом 10 загрузочного люка 2, благодаря чему потребитель стиральной машины может одновременно свободно заглянуть в барабан для белья. Вращение белья безвредно для смотрового стекла 10, так как оно состоит из силикатного стекла. Контактирование белья с силикатным стеклом безвредно для вращающегося белья, так как закругленный стеклянный выступ 16 имеет мягкую и гладкую структуру.
Наряду с двумя предпочтительно описанными вариантами исполнения возможны также другие геометрические формы смотрового стекла 10, в частности его верхнего конца 18, например залитое удлинение 22, 26 может быть выполнено в форме Т.
Формула изобретения
1. Загрузочный люк (2) для барабанной стиральной машины (1) с фронтальной загрузкой, имеющий закрытую внутрь стиральной машины чашеобразную форму с круглым участком (5), составляющим дно, и участком (4), образующим боковую стенку, при этом участок (5), образующий дно, образован смотровым стеклом (10), включающим внутреннюю поверхность (12), а также краевую область (14), и при этом сужающийся в сторону участка (5), составляющего дно чаши, участок (4), составляющий боковую стенку, образован синтетическим материалом, отличающийся тем, что синтетический материал является жесткоэластичным материалом, смотровое стекло (10) по всей длине краевой области (14) изогнуто в направлении участка (4), образующего боковую стенку, таким образом, что образует закругленный стеклянный выступ (16), и смотровое стекло (10) по внешнему краю стеклянного выступа (16) включает наклонно расположенный к внутренней поверхности (12) участка (5), образующего дно кольцеобразный соединительный участок (6), находящийся своим верхним концом (18) в прочном зацеплении с внутренним концом (20) участка (4), образующего боковую стенку, близлежащим к участку (5), образующему дно чаши.
2. Загрузочный люк по п.1, отличающийся тем, что верхний конец (18) соединительного участка (6) имеет расположенное, по существу, параллельно к внутренней поверхности (12) участка (5), образующего дно, удлинение (22) для зацепления с соответствующей канавкой (24) на внутреннем конце (11) участка (4), образующего боковую стенку.
3. Загрузочный люк по п.1, отличающийся тем, что верхний конец (18) соединительного участка (6) имеет удлинение (26), проходящее вначале, по существу, параллельно внутренней поверхности (12) донного участка (5), а затем, по существу, перпендикулярно ей.
4. Загрузочный люк по одному из пп.1-3, отличающийся тем, что образующий боковую стенку участок (4) из синтетического материала выполнен за одно целое с верхним концом (18) соединительного участка (6) из стекла литьем под давлением.
5. Загрузочный люк по одному из пп.1-4, отличающийся тем, что наружный конец (30) образующего боковую стенку участка (4) выполнен за одно целое в виде кольцеобразной рамы (32) люка.
6. Загрузочный люк по одному из пп.1-5, отличающийся тем, что внутренняя поверхность (12) смотрового стекла (10) имеет выпуклую форму в направлении к отверстию чаши.
РИСУНКИ
MM4A – Досрочное прекращение действия патента СССР или патента Российской Федерации на изобретение из-за неуплаты в установленный срок пошлины за поддержание патента в силе
Дата прекращения действия патента: 26.06.2007
Извещение опубликовано: 20.07.2010 БИ: 20/2010
|
|