|
|
(21), (22) Заявка: 2003100058/12, 09.01.2003
(24) Дата начала отсчета срока действия патента:
09.01.2003
(45) Опубликовано: 27.11.2004
(56) Список документов, цитированных в отчете о поиске:
SU 1640245 А1, 07.04.1991. US 2431246 А, 18.11.1947. EP 0495168 А1, 22.07.1992. US 1613787 А, 11.01.1927.
Адрес для переписки:
153003, г.Иваново, ул. Кузнецова, 97, ООО “Модэлс”, директору Е.В. Форсениной
|
(72) Автор(ы):
Гукасян Ю.Р. (RU)
(73) Патентообладатель(и):
Общество с ограниченной ответственностью “Модэлс” (RU)
|
(54) БЫТОВАЯ СТИРАЛЬНАЯ МАШИНА
(57) Реферат:
Машина может быть использована в бытовых условиях при стирке без механического воздействия на ткань. Рабочая емкость бытовой стиральной машины установлена в герметичном корпусе и сообщается с ним воздухопроводной трубкой, встроенной в нижнюю часть рабочей емкости между дном и расположенной выше решеткой. В нижней части корпуса установлены питающий и сливной краны, а в верхней части расположен воздушный клапан, служащий для выравнивания давления внутри корпуса. Использование данной конструкции позволяет снизить вибрацию и шум, а также исключить значительные затраты электроэнергии. 1 ил.

Изобретение относится к оборудованию для стирки текстильных изделий и может быть использовано в бытовых условиях при стирке без механического воздействия на ткань.
Известны конструкции стиральных машин без подвижного активатора. Процесс стирки в них обеспечивается пропусканием через стиральный раствор воздуха под давлением [1, 2]. Как правило, эти машины имеют сложную конструкцию, недостаточную надежность в эксплуатации, являются источниками вибрации и шума, требуют затрат электроэнергии.
В качестве прототипа взята стиральная машина, содержащая бак с соплом, установленным в центре его днища и соединенным трубопроводом с источником сжатого воздуха, и перфорированную перегородку, установленную в баке горизонтально [3].
В данном устройстве не решен вопрос обеспечения процесса стирки без отдельного источника сжатого воздуха.
Техническим результатом заявляемого изобретения является снижение вибрации и шума, исключение затрат электроэнергии.
Указанный технический результат достигается тем, что рабочая емкость бытовой стиральной машины установлена в герметичном корпусе и сообщается с ним воздухопроводной трубкой, встроенной в нижнюю часть рабочей емкости между дном и расположенной выше решеткой, при этом в нижней части корпуса установлены питающий и сливной краны, а в верхней части расположен воздушный клапан, служащий для выравнивания давления внутри корпуса.
Герметичный корпус позволяет создать внутри него необходимое давление воздуха при заполнении его водой без применения специальных устройств типа компрессоров или насосов. Воздухопроводная трубка служит для поступления воздуха под давлением в рабочую емкость. В емкости воздух, проходя через белье и стиральный раствор, обеспечивает перемешивание жидкости и воздействие ее на ткань. Удаление излишков воздуха происходит через отверстия в крышке корпуса.
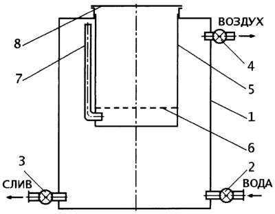
На чертеже представлена технологическая схема машины. Бытовая стиральная машина содержит корпус 1 с питающим краном 2, сливным краном 3 и клапаном 4. В верхней части корпуса установлена рабочая емкость 5. В нижней части рабочей емкости горизонтально расположена решетка 6. Между днищем рабочей емкости и решеткой установлена воздухопроводная трубка 7. Загрузочное отверстие в верхней части корпуса 1 закрывает крышка 8.
Работает стиральная машина следующим образом. Питающий кран подключается к водопроводу. В рабочую емкость 5 закладывается белье, заливается горячая вода и засыпается стиральный порошок. Емкость закрывается крышкой 8. Через впускной кран из водопровода подается вода, которая заполняет внутреннюю полость корпуса. Воздух, находящийся в полости под давлением воды, через соединительную трубку 7 попадает в рабочую емкость 5, организуя перемешивание стирального раствора. Излишки воздуха уходят через отверстия в крышке 8. После завершения цикла стирки питающий кран закрывается, и открываются сливной кран 3 и клапан 4, посредством которого выравнивается давление воздуха внутри корпуса и снаружи. Вода из корпуса сбрасывается через сливной кран 3, после чего он и клапан 4 закрываются. При необходимости цикл стирки повторяется.
Источники информации
1. А.с. N 1784694, D 06 F 17/12, 1992.
2. Патент РФ N 2016942, D 06 F 17/12, 1994.
3. A.c. N 1640245, D 06 F 7/06, 1991.
Формула изобретения
Бытовая стиральная машина, содержащая рабочую емкость с решеткой, установленной горизонтально, отличающаяся тем, что рабочая емкость установлена в герметичном корпусе и сообщается с ним воздухопроводной трубкой, встроенной в нижнюю часть рабочей емкости между дном и расположенной выше решеткой, при этом в нижней части корпуса установлены питающий и сливной краны, а в верхней части расположен воздушный клапан.
РИСУНКИ
MM4A – Досрочное прекращение действия патента СССР или патента Российской Федерации на изобретение из-за неуплаты в установленный срок пошлины за поддержание патента в силе
Дата прекращения действия патента: 10.01.2007
Извещение опубликовано: 20.06.2008 БИ: 17/2008
|
|