|
(21), (22) Заявка: 2003129902/02, 09.10.2003
(24) Дата начала отсчета срока действия патента:
09.10.2003
(45) Опубликовано: 27.11.2004
(56) Список документов, цитированных в отчете о поиске:
RU 2130509 C1, 20.05.1999. SU 1791380 A, 30.01.1993. US 5053255 A, 01.10.1991. JP 6-10132 A, 18.01.1994. US 6413583 B1, 02.07.2002.
Адрес для переписки:
105118, Москва, пр-т Буденного, 16, ФГУП “ММПП “САЛЮТ”, ПЛО, пат.пов. С.Е. Кирееву, рег. №598
|
(72) Автор(ы):
Елисеев Ю.С. (RU), Токаев Ю.Н. (RU), Александров Ю.А. (RU)
(73) Патентообладатель(и):
Федеральное государственное унитарное предприятие “Московское машиностроительное производственное предприятие “САЛЮТ” (RU)
|
(54) СПОСОБ ПОЛУЧЕНИЯ КОМПОЗИЦИОННОГО МАТЕРИАЛА
(57) Реферат:
Изобретение относится к получению композиционных материалов, обладающих высокой термической и противоокислительной стойкостью. Может использоваться в теплонагруженных узлах авиационной и ракетно-космической техники и др. Предложен способ получения композиционного материала. Из газовой фазы проводят осаждение кремнийорганических продуктов на подложку. Процесс осуществляют в герметичной камере с принудительной циркуляцией. В качестве исходного реагента используют метилсилан. Температура подложки составляет 200-550°С. Техническим результатом является получение равномерного по толщине и структуре покрытия. 3 з.п. ф-лы, 1 ил.

Изобретение относится к способам получения композиционных материалов, обладающих высокой термической и противоокислительной стойкостью, и может быть использовано в теплонагруженных узлах авиационной и ракетно-космической техники, а также в других отраслях машиностроения.
Наиболее близким к заявляемому является способ получения, включающий осаждение из газовой фазы карбида кремния на пористый каркас (углеродный, керамический и др.), отличающийся тем, что в качестве исходного реагента используют метилсилан и процесс ведут при 650-800°С в присутствии инертного газа (RU 2130509, 20.05.1999, МПК-6 С 23 С 16/32, формула).
Недостатки ближайшего аналога заключаются в том, что данный способ не обеспечивает равномерного по толщине и структуре слоя покрытия и пожаро- и взрывобезопасности процесса.
Задачей изобретения является повышение равномерности распределения кремнийорганических соединений на подложке, снижение пожаро- и взрывобезопасности процесса.
Поставленная задача решается тем, что способ получения композиционного материала включает осаждение из газовой фазы кремнийорганических соединений на подложку с использованием в качестве исходного реагента метилсилана, согласно изобретению, осаждение проводят в герметичной камере с принудительной циркуляцией, а температура подложки при осаждении составляет 200-550°С.
В качестве метилсилана может быть использован триметилсилан и/или тетраметилсилан.
Осаждение может быть проведено при давлении от 200 кПа до давления насыщенного пара метилсилана, а в качестве подложки может быть использован пористый углеродный материал.
Разложение метилсилана на поверхности пористого углеродного материала протекает с заметной скоростью уже при 200°С. Газообразным продуктом реакции является метан, относительный выход которого =0,4 (где – выход в молях на моль разложившегося силана). С повышением температуры реакции до 550°С выход метана практически не меняется, а основным продуктом реакции является водород ( =1,2-1,3). Использование низких температур нагрева подложки (200-550°С), что позволяет применять жидкие кремнийорганические соединения, обеспечивает взрыво- и пожаробезопасность процесса и упрощает технологический цикл.
Проведение процесса в герметичном объеме обеспечивает химическую чистоту газовой фазы, а принудительная циркуляция обеспечивает равномерность распределения кремнийорганических продуктов на подложке, а при наличии подложки сложной геометрической формы, например, лопатки турбины, имеющей внутренние полости, гарантирует наличие и равномерность слоя покрытия на всей поверхности подложки.
Нелетучими продуктами разложения метилсиланов, в частности тетраметилсилана и триметилсилана на поверхности пористого углеродного материала при 200-550°С, являются кремнийорганические продукты суммарного состава SiC3-3,5Н7,5-8,5 (рассчитано по данным материального баланса реакции), которые при дальнейшем повышении температуры легко распадаются с образованием водорода и аморфного карбида кремния.
Приведенные ниже примеры осуществления заявленного способа подтверждают, но не ограничивают его применение в промышленности.
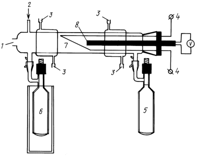
Способ осуществляли в вакуумной установке, схематически изображенной на чертеже.
Установка является кварцевым вакуумным газопроточным, т.е. с принудительной циркуляцией, реактором. Образец 7 в виде пористого углеродного шнура нагревался электрическим током с помощью контактов 4, контроль температуры осуществляется термопарой 8, холодная вода подается через выход 1, заданное давление создается с помощью вакуумного насоса (не показан) через выход 2, а контроль давления осуществляется с помощью манометра (не показан) через выход 1.
Особенностью данного способа является самоторможение процесса при неполном расходе тетраметилсилана или триметилсилана. По этой причине после самоторможения процесса свободная ампула охлаждается жидким азотом до полного вымораживания неразложившегося тетраметилсилана или триметилсилана. Затем эта ампула также закрывается краном-пробкой.
Способ можно осуществлять в условиях непрерывного перемораживания тетраметилсилана или триметилсилана из одной ампулы в другую.
Последовательность операций при работе на установке.
1) В одну из ампул 5 или 6 заливается на воздухе тетраметилсилан и/или триметилсилан, ампула закрывается краном-пробкой и присоединяется к проточному реактору, вторая ампула пустая с открытым краном-пробкой присоединяется к проточному реактору.
2) Образец закрепляется на концах токоподводов и размещается в проточном реакторе.
3) Проточный реактор вакуумируется (Р=10-2 мм рт.ст.), через холодильники пропускают холодную воду, включается электронагрев образца.
4) После нагрева образца до требуемой температуры в реактор напускаются пары триметилсилана и/или тетраметилсилана из соответствующей ампулы, кран-пробка которой затем закрывается.
5) За протеканием процесса осуществляется контроль по изменению давления в системе, которое возрастает в соответствии с протекающим на нагретом образце пиролизе тетраметилсилана и/или триметилсилана.
Протекание процесса контролировали по изменению давления в реакторе от начального до конечного (соответственно Рн и Рк в кПа), по составу газовой фазы (газохроматографический анализ), изменение состояния образца – визуально и по увеличению веса. Идентификацию карбида кремния проводили по данным ИК-спектроскопического и рентгенофазового анализа.
В качестве подложки использовали углеродный жгут диаметром 3 мм и длиной 70-80 мм.
Пример 1. Исходный продукт – тетраметилсилан, разовый напуск до Рн=300, температура нагрева подложки составляет 200°С, время реакции 10 минут, Рк=279; 13% разложившегося тетраметилсилана, выход метана =0,40.
Пример 2. Исходный продукт – тетраметисилан, разовый напуск до Рн=240, температура нагрева подложки составляет 450°С, время реакции 1 минута, Рк=306; 53% разложившегося тетраметилсилана, выход метана =0,41, водорода =1,2.
Пример 3. Исходный продукт – смесь тетраметилсилана (82%) и триметилсилана (18%), разовый напуск до Pн=21.6, температура нагрева подложки составляет 500°С, время реакции 5 минут, Рк=366; 88% разложившихся силанов, выход метана =0,23, водорода =1,3.
Пример 4. Исходный продукт – смесь тетраметилсилана (82%) и триметилсилана (18%), девять напусков в каждом случае до Рн=210, температура нагрева подложки составляет 440°С, время реакции для каждого напуска 10 минут. Отношение веса шнура после реакции к начальному (здесь и ниже m0 и mк соответственно) mк/m0=1,32.
Пример 5. Исходный продукт – тетраметилсилан, восемь напусков до Рн в интервале 150-300, температура нагрева подложки составляет 340°С при первом напуске и 515°С при последнем напуске (равномерный подъем температуры от напуска к напуску). Время реакции после каждого напуска 10 минут, отношение mк/m0=1,54.
Пример 6. Исходный продукт – тетраметилсилан, пятнадцать напусков в каждом случае до Рн=200, температура нагрева подложки составляет 500°С, время реакции после каждого напуска 10 минут, отношение mк/m0=2,1.
Таким образом, применение данного способа позволяет получать равномерное по толщине и структуре слоя покрытие, обеспечивать взрыво- и пожаробезопасность процесса, а также его сокращение во времени.
Формула изобретения
1. Способ получения композиционного материала, включающий осаждение из газовой фазы кремнийорганических продуктов на подложку с использованием в качестве исходного реагента метилсилана, отличающийся тем, что осаждение проводят в герметичной камере с принудительной циркуляцией, а температура подложки составляет 200-550°С.
2. Способ по п.1, отличающийся тем, что в качестве метилсилана используют триметилсилан и/или тетраметилсилан.
3. Способ по п.1, отличающийся тем, что осаждение проводят при давлении от 200 кПа до давления насыщенного пара метилсилана.
4. Способ по п.1, отличающийся тем, что в качестве подложки используют пористый углеродистый материал.
РИСУНКИ
|