|
|
(21), (22) Заявка: 2002135863/11, 31.12.2002
(24) Дата начала отсчета срока действия патента:
31.12.2002
(45) Опубликовано: 27.11.2004
(56) Список документов, цитированных в отчете о поиске:
RU 2126317 C1, 20.02.1999. US 4308801, 05.01.1982. US 4075951, 28.02.1978.
Адрес для переписки:
620134, г.Екатеринбург, ул. Ангарская, д.52, кв.52, Д.А.Дьякову
|
(72) Автор(ы):
Попов С.И. (RU), Михеев М.М. (RU)
(73) Патентообладатель(и):
Дьяков Дмитрий Александрович (RU)
|
(54) ПОДПЯТНИК НАДРЕССОРНОЙ БАЛКИ ВАГОННОЙ ТЕЛЕЖКИ
(57) Реферат:
Изобретение относится к железнодорожному транспорту, в частности к изготовлению и ремонту надрессорных балок тележек грузовых и пассажирских вагонов. Подпятниковое место представляет собой цилиндрическое углубление в надрессорной балке с наружным кольцевым буртом, плоской опорной поверхностью с центральным отверстием под шкворень и износостойкой вставкой. Износостойкая вставка выполнена в виде тарели, имеющей плоскую опорную поверхность с отверстием, соосным отверстию под шкворень, вокруг которого выполнен внутренний бурт, и цилиндрическую упорную поверхность, установленной с натягом внутри наружного бурта подпятникового места. На поверхности вставки, взаимодействующие с пятником и шкворнем, нанесено антифрикционное и высокопрочное полимерное покрытие, например армированный полифурит, толщиной не менее допускаемого при ремонте надрессорной балки величины износа. Технический результат – повышение долговечности и ремонтопригодности подпятникового узла вагонной тележки. 3 ил.

Изобретение относится к железнодорожному транспорту, в частности к изготовлению и ремонту надрессорных балок тележек грузовых и пассажирских вагонов.
Известен подпятник надрессорной балки, раскрытый в патенте RU 2126317, С 1, 20.02. 1999 г., в который устанавливается сменная вставка из износостойкой стали, выполненная по форме подпятникового места в виде тарели с наружным кольцевым буртом, плоской опорной поверхностью и центральным отверстием, соосным отверстию под шкворень. Недостатком данного технического решения является повышенный износ взаимодействующих со вставкой поверхностей пятника, а также трудоемкость замены вставки при поступлении надрессорной балки в следующий ремонт.
Известен подпятниковый узел, раскрытый в патенте US 4075951, кл. В 61 F 5/16, 1978, содержащий вставку, изготовленную из антифрикционного материала, (полиэтилена), выполняющую роль смазки между пятником и подпятником. Недостатком этого технического решения является то, что вставка выполнена из низкопрочного материала (полиэтилена) и не защищает упорную поверхность наружного подпятника.
Целью заявляемого технического решения является повышение срока службы подпятника надрессорной балки и взаимодействующих с ним деталей (пятника и шкворня) вагонной тележки.
Сущность изобретения заключается в том, что в подпятниковое место надрессорной балки, представляющее собой цилиндрическое углубление с наружным кольцевым буртом, плоской опорной поверхностью и центральным отверстием под шкворень, устанавливается с натягом между стенками наружного бурта износостойкая вставка в виде тарели, имеющая плоскую опорную поверхность с отверстием, соосным отверстию под шкворень, вокруг которого выполнен внутренний бурт, и цилиндрическую упорную поверхность, с плотным прилеганием к плоскости подпятникового места, а на поверхности вставки, взаимодействующие с пятником и шкворнем, нанесено антифрикционное и высокопрочное полимерное покрытие, например, из армированного полифурита, толщиной не менее допускаемого при ремонте надрессорной балки величины износа.
Отличительными признаками заявляемого изобретения являются:
– наличие антифрикционного и высокопрочного полимерного покрытия на плоской опорной и кольцевой упорной поверхностях тарели, взаимодействующих с пятником, и на поверхности внутреннего бурта, взаимодействующей со шкворнем;
– использование в качестве полимерного покрытия на трущихся поверхностях тарели армированного полифурита или его аналогов;
– толщина полимерного покрытия на трущихся поверхностях подпятникового места, равная или большая величины износа, допускаемого при ремонте надрессорной балки.
Существенность отличительных признаков заключается в следующем. Антифрикционное полимерное покрытие, выполняющее роль смазки и предохраняющее взаимодействующие поверхности подпятника и пятника от износа должно сохранять первоначальную форму для обеспечения требуемых зазоров между этими поверхностями. Поэтому оно должно выполняться из высокопрочного материала, выдерживающего динамические нагрузки, действующие при перевалке кузова вагона. Кроме того, оно должно обладать высокой адгезией к стали, применяемой для изготовления износостойкой вставки. Этот материал должен также обладать повышенной температурой полимеризации и не терять свойства при нагреве вставки в процессе ее горячей посадки в подпятниковое место надрессорной балки. К таким материалам относятся полифурит и его аналоги, например полиуретан литьевой марки СКУ-ПФЛ-100, армированные стекловолокном, кордом или кевларом.
Полимерное покрытие должно также наноситься на поверхности внутреннего бурта вставки, взаимодействующие со шкворнем, для амортизации ударов последнего и предохранения бурта от повреждений.
Толщина полимерного покрытия не должна быть меньше допускаемой при ремонте подпятника надрессорной балки величины износа, поскольку армирование тонких полимерных покрытий из указанных материалов практически не осуществимо. В то же время толщина полимерного покрытия должна обеспечивать работоспособность подпятникового узла в течение межремонтного периода эксплуатации надрессорной балки.
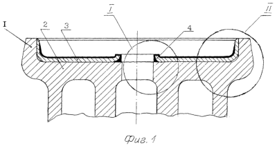
На фиг.1 показан пример выполнения подпятника надрессорной балки тележки грузового вагона. В подпятниковое место, представляющее собой цилиндрическое углубление между стенками наружного бурта 1, примыкающих к плоскости подпятника 2, расточенное с учетом допуска на натяг, устанавливается вставка 3, металлическая основа которой изготовлена из стали повышенной прочности (например, рессорной стали) в виде тарели. В плоской стенке вставки имеется центральное отверстие, соосное отверстию под шкворень, вокруг которого выполнен внутренний бурт 4 (фиг.2). Кольцевая стенка 5 тарели имеет наружную вертикальную поверхность, примыкающую к внутренней поверхности наружного бурта, которая сопряжена с плоскостью тарели по радиусу R, превышающему радиус r сопряжения соответствующих стенок подпятникового места (фиг.3). Зазор между закруглениями тарели и подпятникового места необходим для обеспечения плотного прилегания тарели к плоскости подпятникового места. На поверхности вставки 2, взаимодействующие при эксплуатации с пятником и шкворнем, нанесено полимерное покрытие из полиуретана СКУ-ПФЛ-100, армированное стекловолокном, полимеризованное при температуре 140°С. Внутренний бурт 4 металлической основы вставки выполнен с поднутрением, заполненным полимерным покрытием, которое необходимо для извлечения вставки из подпятникового места в случае ее замены. Толщина полимерного покрытия составляет в среднем 0,3-0,9 от толщины металлической основы вставки , а на упорных поверхностях кольцевой стенки покрытие выполнено с уклоном, предусмотренным чертежом.
Установка тарели в подпятниковое место производится следующим образом. Подпятниковое место нагревается до температуры не выше 250°С, после чего делается выдержка для теплоотвода к прилегающим стенкам подпятникового узла. После расширения наружного бурта на величину, превышающую необходимый допуск на натяг, в подпятниковое место устанавливают вставку 2 с нанесенным полимерным покрытием, обеспечивая температурный режим ее нагрева от примыкающих стенок подпятника не выше 150°С. После полного остывания подпятника происходит защемление вставки между стенками наружного бурта подпятникового места, необходимое для надежной фиксации вставки в процессе эксплуатации.
При поступлении надрессорной балки в ремонт поврежденные места в полимерном покрытии заполняются аналогичным материалом с последующее полимеризацией. Это позволяет устранить при ремонте трудо- и энергозатратные операции – наладку и механическую обработку – как надрессорной балки, так и пятника.
Формула изобретения
Подпятник надрессорной балки вагонной тележки, подпятниковое место которого представляет собой цилиндрическое углубление с наружным кольцевым буртом, плоской опорной поверхностью, центральным отверстием под шкворень и износостойкой вставкой в виде тарели, имеющей плоскую опорную поверхность с отверстием, соосным отверстию под шкворень, вокруг которого выполнен внутренний бурт, и цилиндрическую упорную поверхность, установленной с натягом внутри наружного бурта с плотным прилеганием к плоскости подпятникового места, отличающийся тем, что на поверхности, взаимодействующие с пятником и шкворнем, нанесено антифрикционное и высокопрочное полимерное покрытие, например армированный полифурит, толщиной не менее допускаемого при ремонте надрессорной балки величины износа.
РИСУНКИ
MM4A Досрочное прекращение действия патента Российской Федерации на изобретение из-за неуплаты в установленный срок пошлины за поддержание патента в силе
Дата прекращения действия патента: 01.01.2006
Извещение опубликовано: 10.12.2006 БИ: 34/2006
|
|