|
|
(21), (22) Заявка: 2003131032/15, 21.10.2003
(24) Дата начала отсчета срока действия патента:
21.10.2003
(45) Опубликовано: 27.11.2004
(56) Список документов, цитированных в отчете о поиске:
RU 2177820 C1, 10.01.2002. RU 2001114908 A, 20.06.2003. RU 2000135 C1, 07.09.1993. DE 1519963 A, 17.04.1969. US 2868320 A, 13.01.1959.
Адрес для переписки:
400074, г.Волгоград, ул. Академическая, 1, ВолгГАСУ, отдел интеллектуальной собственности
|
(72) Автор(ы):
Мензелинцева Н.В. (RU), Желтобрюхов В.Ф. (RU), Круподерова Е.С. (RU), Артамонов В.А. (RU), Карапузова Н.Ю. (RU), Богдалова О.В. (RU)
(73) Патентообладатель(и):
Государственное образовательное учреждение высшего профессионального образования “Волгоградский государственный архитектурно-строительный университет” (RU)
|
(54) ФИЛЬТР-ЦИКЛОН
(57) Реферат:
Изобретение относится к устройствам для очистки воздуха промышленных предприятий от пыли, в частности к пылеуловителям с зернистым фильтрующим материалом. Фильтр-циклон двухступенчатый включает циклон, фильтр, содержащий зернистый фильтрующий материал, пылевыгрузочное устройство и патрубки подвода запыленного и отвода очищенного воздуха. Циклон выполнен прямоточного типа с тангенциальной подводкой и раскручивателем, при этом соотношение диаметра патрубка отвода очищенного газа к диаметру входного патрубка составляет (1,2-1,4); а соотношение высоты газохода циклона к высоте цилиндрической части циклона составляет (0,7-0,9). Техническая задача изобретения – повышение эффективности работы устройства при очистке газовоздушных смесей, содержащих твердые частицы, за счет снижения гидравлического сопротивления пылегазовоздушной смеси в циклоне и уменьшение времени на формирование зернистого слоя в фильтре в начальном этапе фильтрации. 3 ил.

Предлагаемое изобретение относится к устройствам для очистки воздуха промышленных предприятий от пыли, в частности к пылеуловителям с зернистым фильтрующим материалом.
Наиболее близким к заявляемому объекту по наибольшему количеству существенных признаков и достигаемому техническому результату известен фильтр-циклон двухступенчатый, включающий циклон, фильтр, содержащий зернистый фильтрующий материал, пылевыгрузочное устройство, патрубки подвода запыленного и отвода очищенного воздуха [Патент России №2177820, Фильтр-циклон].
Недостатками устройства являются высокое гидравлическое сопротивление газовоздушной смеси в циклоне, повышенный износ при работе с абразивными пылями, что приводит к быстрому износу циклонной части и снижению срока службы, а также вторичный унос уловленной циклоном пыли в фильтр, что снижает эффективность улавливания частиц в циклоне и увеличивает время формирования зернистого слоя фильтрующей части на начальном этапе его формирования.
Техническая задача предлагаемого изобретения – повышение эффективности и энергоемкости работы устройства при очистке газовоздушных смесей, содержащих твердые частицы, за счет снижения гидравлического сопротивления пылегазовоздушнои смеси в циклоне и уменьшение времени на формирование зернистого слоя в фильтре в начальном этапе фильтрации.
Решение технической задачи заключается в том, что в фильтре-циклоне двухступенчатом, включающем циклон, фильтр, содержащий зернистый фильтрующий материал, пылевыгрузочное устройство и патрубки подвода запыленного и отвода очищенного воздуха, согласно изобретению циклон выполнен прямоточного типа с тангенциальной подводкой и раскручивателем, при этом соотношение диаметра патрубка отвода очищенного газа к диаметру входного патрубка составляет (1,2-1,4); а соотношение высоты газохода циклона к высоте цилиндрической части циклона составляет (0,7-0,9).
Применение прямоточного циклона позволяет снизить гидравлическое сопротивление газовоздушной смеси из-за отсутствия потерь давления на закручивание потока воздуха и потерь кинетической энергии при вращательном движении воздуха в нисходящем и восходящем потоках, а также и энергоемкость, ликвидировать унос уловленной пыли с восходящим потоком, а следовательно, увеличить эффективность улавливания в циклоне и сократить время на засыпку фильтра зернистым слоем перед началом фильтрации, что является техническим эффектом заявляемого изобретения.
Сущность изобретения поясняется графическими материалами:
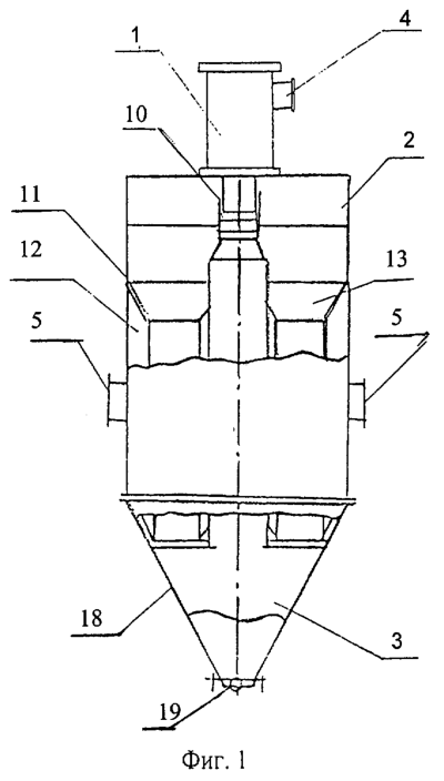
– на фиг.1 схематично изображен общий вид устройства,
– на фиг.2 схематично изображена конструкция прямоточного циклона;
– на фиг.3 схематично изображена конструкция фильтра.
Предлагаемое устройство состоит из прямоточного циклона 1, фильтра 2 и пылевыгрузочного устройства 3, установленных друг над другом соосно по вертикали и смонтированных неподвижно с патрубками подвода 4 запыленного и отвода 5 очищенного воздуха.
Циклон 1 выполнен в прямоточном исполнении, снабжен тангенциальным патрубком ввода 4 запыленного воздуха, вставкой 6 и раскручивателем 7, газоход 8 циклона соединен с газоходом 9 фильтра 2 переходной втулкой 10. Фильтр состоит из вертикального цилиндрического корпуса 11, снабженного патрубком отвода 5 очищенного воздуха. Внутри корпуса фильтра с зазором 12 установлен фильтрующий элемент 13, выполненный в виде двух коаксиально расположенных жалюзийных решеток 14 и 15, внутри которых размещен фильтрующий зернистый материал 16. Жалюзи жалюзийной решетки выполнены в виде примыкающих к ее внутренним стенкам пластин 17 и направлены в сторону пылевыгрузочного устройства 3 под углом естественного откоса. При этом пылевыгрузочное устройство 3 выполнено в виде конуса 18, снабжено весовым дозатором 19 и установлено под фильтром 2.
Процесс очистки воздуха от пыли осуществляется ступенчато. Запыленный поток воздуха подается в прямоточный циклон 1, где происходит I ступень очистки, через входной 4 тангенциальный патрубок, благодаря чему газ приобретает вращательное движение вокруг вставки 6. Выделяющиеся крупные и средние фракции пыли оседают между коаксиально расположенными жалюзийными решетками 14 и 15 фильтра 2 и, накапливаясь, образуют зернистый фильтрующий слой 16 с размером частиц от 100 до 25 мкм, обуславливающих высокую насыпную плотность за счет увеличения объема пор и пустот между частицами пыли. Очищенный газ проходит раскручиватель 7 и по газоходу 8 поступает в фильтр 2. При этом циклон прямоточного типа исключает вторичный унос пыли с газовоздушной смесью по газоходу в фильтр, тем самым уменьшая время на формирование зернистого фильтрующего слоя.
II ступень очистки воздуха осуществляется в фильтре 2. Поток с тонкодисперсными фракциями пыли проходит из газохода 9 через зернистый фильтрующий слой 16, при этом очищенный воздух проходит через отверстия в наружной жалюзийной решетке 14, скапливается в зазоре 12 и затем отводится через патрубок 5, а фильтрующий зернистый материал с уловленной тонкодисперсной пылью под действием сил гравитации опускается вниз и скапливается в конусе 18 пылевыгрузочного устройства 3, откуда удаляется по мере необходимости при срабатывании весового дозатора 19, то есть путем постоянной подачи свежей зернистой загрузки – пыли, уловленной циклоном, осуществляется саморегенерация фильтрующего зернистого материала.
Использование прямоточного циклона позволяет ускорить формирование фильтрующего зернистого слоя на I ступени очистки и таким образом повысить эффективность работы заявляемого устройства.
При оптимальных геометрических размерах: соотношение диаметра патрубка отвода очищенного воздуха к диаметру входного патрубка составляет (1,2-1,4), а соотношение высоты газохода циклона к высоте цилиндрической части циклона составляет (0,7-0,9), предлагаемое устройство обеспечивает высокую эффективность улавливания твердых частиц крупной и мелкой фракций (эффективность составляет 97-99%).
Отработавший зернистый материал имеет вторичное использование при производстве строительных материалов.
Формула изобретения
Фильтр-циклон двухступенчатый, включающий циклон, фильтр, содержащий зернистый фильтрующий материал, пылевыгрузочное устройство, патрубки подвода запыленного и отвода очищенного воздуха, отличающийся тем, что циклон выполнен прямоточного типа с тангенциальной подводкой и раскручивателем, при этом соотношение диаметра патрубка отвода очищенного газа к диаметру входного патрубка составляет 1,2-1,4, а соотношение высоты газохода циклона к высоте цилиндрической части циклона составляет 0,7-0,9.
РИСУНКИ
MM4A Досрочное прекращение действия патента Российской Федерации на изобретение из-за неуплаты в установленный срок пошлины за поддержание патента в силе
Дата прекращения действия патента: 22.10.2005
Извещение опубликовано: 10.12.2006 БИ: 34/2006
|
|