|
|
(21), (22) Заявка: 2007119504/28, 25.05.2007
(24) Дата начала отсчета срока действия патента:
25.05.2007
(46) Опубликовано: 10.02.2009
(56) Список документов, цитированных в отчете о поиске:
RU 2087978 C1, 20.08.1997. RU 2049314 C1, 27.11.1995. RU 94043008 A1, 27.07.1996. RU 2120115 C1, 10.10.1998. SU 1171680 A1, 07.08.1985.
Адрес для переписки:
454138, г.Челябинск, Комсомольский пр-кт, 29, ЗАО ПГ “Метран”, Т.А. Крымской
|
(72) Автор(ы):
Якунин Александр Николаевич (RU)
(73) Патентообладатель(и):
Закрытое акционерное общество Промышленная группа “Метран” (RU)
|
(54) ДАТЧИК-РЕЛЕ ДЛЯ ИЗМЕРЕНИЯ ДАВЛЕНИЯ
(57) Реферат:
Изобретение относится к приборостроению, в частности к устройствам, преобразующим перемещение чувствительных элементов под воздействием газа или жидкости в электрические сигналы. Технический результат направлен на расширение эксплуатационных возможностей устройств контроля давления и разрежения автоматизированных технологических процессов. Датчик-реле для измерения давлений содержит электронный блок и измерительный блок, выполненный в виде верхнего и нижнего основания с подводящим штуцером, в котором закреплен чувствительный элемент с жестким центром, выполненный в виде гофрированной металлической мембраны. При этом, между верхним основанием и мембраной и между нижним основанием и мембраной дополнительно расположены незакрепленные пластины, имеющие концентрические выступы и впадины, идентичные гофрам мембраны. 2 з.п. ф-лы, 1 ил.
Изобретение относится к приборостроению, в частности к устройствам, преобразующим перемещение чувствительных элементов под воздействием газа или жидкости в электрические сигналы, и может быть использовано в сигнализаторах для систем контроля давления и разрежения при автоматизации технологических процессов.
Известен манометр, описанный в книге “Манометры”, М.: Издательство МЭИ, 2003 г., автор Мулев Ю.В. (стр.83, 84), в котором чувствительным элементом прибора является гофрированная мембрана, воспринимающая измеряемое давление, и которая при перегрузочных давлениях измеряемой среды ложится на внутренний профиль присоединительного фланца, повторяющий профиль мембраны и обеспечивающий сохранение его формы от разрушения.
Простые упоры устройств имеют вид плоской поверхности. Более сложные упоры имеют вид гофрированной поверхности и выполняются механической обработкой корпуса устройства по конфигурации, аналогичной профилю гофрированной мембраны, или заливкой на корпус под технологическое устройство, имеющее профиль мембраны, находящейся под воздействием давления измеряемой среды, легкоплавкого материала, который после отвердения сохраняет профиль мембраны под давлением.
Недостатком данных устройств является то, что в первом случае нет абсолютной идентичности профиля упора из-под инструмента профилю рабочей мембраны, а во втором случае гофрированный упор, полученный литьем из материала с низким пределом прочности, имеет низкую износостойкость, соответственно, уменьшая срок службы устройства. Кроме того, выполнение профилированных упоров такими способами связано со значительными трудозатратами, расходом средств, инструмента, материалов, использованием дорогостоящего оборудования.
Наиболее близким по технической сущности к заявляемому является измерительный преобразователь типа “Сапфир-22ДД”, описанный в справочнике “Промышленные приборы и средства автоматизации”, издательство “Машиностроение”, 1987 г. (стр.113) и избранный в качестве прототипа.
Известный преобразователь содержит электронный блок и измерительный блок с основанием, к которому по наружному контуру приварены чувствительные элементы в виде гофрированных металлических мембран, отделяющие от измеряемой среды внутреннюю полость преобразователя с электронным блоком. Как видно на рисунке IV.9. б), с противоположной стороны мембран от направления воздействия измеряемой среды на основании выполнены профильные поверхности, идентичные профилям мембран.
Воздействие давления, подаваемого в “плюсовую” и “минусовую” камеры измерительного блока, вызывает прогиб мембран. Измерительный блок выдерживает без разрушения воздействие односторонней перегрузки рабочим давлением. Это обеспечивается тем, что при односторонней перегрузке мембрана после дополнительного перемещения ложится на профилированную подушку.
В преобразователях разрежения, избыточного давления-разрежения и избыточного давления используются одни и те же измерительные блоки. Они отличаются от измерительных блоков преобразователей разности давлений конструкцией фланцев и тем, что у них измеряемое давление подводится лишь к “плюсовой” камере, а “минусовая” камера сообщена с окружающей атмосферой.
Недостатком известного устройства являются его ограниченные эксплуатационные возможности, обусловленные тем, что приваренная к основанию мембрана будет иметь смещение относительно профилированной подушки и поэтому гофры мембраны не будут совпадать с гофрами подушки, что обуславливает деформацию гофров чувствительного элемента как при избыточном давлении, так и при разрежении, тем самым снижая прочность чувствительного элемента, сокращая продолжительность службы и ухудшая точность прибора.
Целью заявляемого технического решения является расширение эксплуатационных возможностей устройств контроля давления и разрежения автоматизированных технологических процессов.
Поставленная цель достигается тем, что в датчике-реле, содержащем электронный блок и измерительный блок в виде верхнего и нижнего основания с подводящим штуцером, в котором закреплен чувствительный элемент с жестким центром, выполненный в виде гофрированной металлической мембраны, согласно изобретению между верхним основанием и мембраной и между нижним основанием и мембраной дополнительно расположены незакрепленные пластины круглой формы, имеющие концентрические выступы и впадины, идентичные профилю гофр мембраны. При этом пластины могут быть выполнены из самой мембраны при малых толщинах мембран или отдельно.
Введение в измерительный блок между верхним основанием и мембраной и между нижним основанием и мембраной дополнительно незакрепленных, подвижных пластин, имеющих концентрические выступы и впадины, идентичные профилю гофр мембраны, имеющих возможность самоустанавливаться относительно мембраны и позволяющих воспринимать чувствительному элементу воздействие односторонней перегрузки рабочим давлением без разрушения, после дополнительного перемещения путем наложения чувствительного элемента на пластины, повышая ее сопротивление к разрушению и обеспечивая тем самым точность совпадения гофр чувствительного элемента и пластины, дает таким образом сохранить прочность чувствительного элемента датчика-реле, увеличить продолжительность его службы и повысить точность прибора, расширяя его эксплуатационные возможности.
Технический результат – обеспечение сохранности чувствительного элемента при измерении как избыточного давления, так и разрежения.
Заявляемый датчик-реле обладает новизной в сравнении с прототипом, отличаясь от него наличием таких существенных признаков, как размещение в измерительном блоке между верхним основанием и мембраной и между нижним основанием и мембраной дополнительно незакрепленных подвижных пластин, имеющих концентрические выступы и впадины, идентичные профилю гофр мембраны, имеющих возможность самоустанавливаться относительно мембраны.
Заявителю не известны технические решения, содержащие указанный отличительный признак в той же функции, с обеспечением указанного результата, что и в заявленном объекте, а следовательно, предложение соответствует критерию “изобретательский уровень”.
Заявляемый датчик-реле может найти широкое применение в промышленности как сигнализатор в системах контроля давления и разрежения при автоматизации технологических процессов и поэтому соответствует критерию “промышленная применимость”.
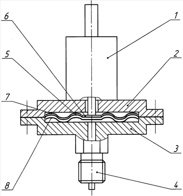
Изобретение иллюстрируется чертежом, где представлен вид датчика-реле с измерительным блоком в разрезе.
Реле давления состоит из электронного блока 1 и измерительного блока в виде верхнего основания 2 и нижнего основания 3 с подводящим штуцером 4, в котором закреплен чувствительный элемент, выполненный в виде гофрированной металлической мембраны 5 с жестким центром 6. Между верхним основанием и мембраной дополнительно размещена незакрепленная пластина 7, а между нижним основанием и мембраной дополнительно расположена незакрепленная пластина 8, имеющие концентрические выступы и впадины, идентичные профилю гофр мембраны, которые могут быть выполнены из самой мембраны при малых толщинах мембран или отдельно. Верхняя пластина 7 имеет посредине отверстие для выхода через него жесткого центра 6 диаметром больше, чем диаметр жесткого центра 6, а наружный диаметр выполнен по размеру меньше, чем диаметр стенок верхнего основания 2, и лежит она прямо на чувствительном элементе 5. Нижняя пластина 8 имеет также наружный диаметр размером меньше, чем диаметр стенок нижнего основания 3, а отверстия посредине может и не быть, и лежит она прямо на нижнем основании 3 свободно. Обе пластины 7 и 8, будучи незакрепленными и за счет предусмотренных зазоров в радиальном измерении между элементами измерительного блока, имеют некоторую подвижность.
Датчик-реле давления работает следующим образом.
При подаче избыточного рабочего давления через штуцер 4 в измерительный блок датчика-реле происходит прогиб чувствительного элемента – гофрированной металлической мембраны 5 в направлении опорной поверхности верхнего основания 2 измерительного блока. Лежащая на ней верхняя пластина 7 также перемещается с мембраной 5. Как только избыточное давление превысит верхний предел рабочего диапазона датчика-реле, соотнесенный к ходу мембраны 5, она с пластиной 7 после дополнительного перемещения ложится на опорную поверхность верхнего основания 2. Пластина 7 самоустанавливается по гофрам мембраны 5 и играет роль профилированной подушки, позволяя мембране выдерживать односторонние перегрузки рабочим давлением без разрушения измерительного блока.
При подаче в измерительный блок датчика-реле через штуцер 4 разрежения происходит прогиб чувствительного элемента 5 в направлении опорной поверхности нижнего основания 3 измерительного блока. После дополнительного перемещения мембрана 5 достигает лежащую на опорной поверхности нижнего основания 3 пластину 8, которая самоустановится по гофрам мембраны 5, также играя роль профилированной подушки, предохраняя чувствительный элемент – гофрированную металлическую мембрану 5 – от разрушения.
В сравнении с прототипом заявляемый датчик-реле обеспечивает более продолжительный срок службы прибора за счет сохранения прочности чувствительного элемента, повышает его точность, расширяя его эксплуатационные возможности как при измерении избыточного давления, так и разрежения.
Формула изобретения
1. Датчик-реле для измерения давления, содержащий электронный блок и измерительный блок, выполненный в виде верхнего и нижнего оснований с подводящим штуцером, в котором закреплен чувствительный элемент с жестким центром, выполненный в виде гофрированной металлической мембраны, отличающийся тем, что между верхним основанием и мембраной и между нижним основанием и мембраной дополнительно расположены незакрепленные пластины, имеющие концентрические выступы и впадины, идентичные гофрам мембраны, при этом профили гофр пластин имеют возможность самоустанавливаться относительно мембраны.
2. Датчик-реле по п.1, отличающийся тем, что при малой толщине мембран пластины изготавливаются из самой мембраны.
3. Датчик-реле по п.1, отличающийся тем, что пластины изготовлены отдельно из прочного материала.
РИСУНКИ
|
|