|
| На основании пункта 3 статьи 13 Патентного закона Российской Федерации от 23 сентября 1992 г. № 3517-I патентообладатель обязуется передать исключительное право на изобретение (уступить патент) на условиях, соответствующих установившейся практике, лицу, первому изъявившему такое желание и уведомившему об этом патентообладателя и федеральный орган исполнительной власти по интеллектуальной собственности, – гражданину РФ или российскому юридическому лицу. |
|
(21), (22) Заявка: 2006132202/13, 07.09.2006
(24) Дата начала отсчета срока действия патента:
07.09.2006
(43) Дата публикации заявки: 10.01.2007
(46) Опубликовано: 10.02.2008
(56) Список документов, цитированных в отчете о поиске:
АЛИЕВ А.А. Новейшие оперативные методы исследования жвачных животных. – М.: Агропромиздат, 1985, с.30-31. SU 673274, 15.07.1979. SU 1076128 A, 28.02.1984. SU 286140 A1, 01.01.1970.
Адрес для переписки:
115446, Москва, ул. Акад. Миллионщикова, 16, кв.239, Л.Ф. Порядкову
|
(72) Автор(ы):
Порядков Леонид Федорович (RU)
(73) Патентообладатель(и):
Порядков Леонид Федорович (RU)
|
(54) ФИСТУЛЬНАЯ ТРУБКА
(57) Реферат:
Изобретение относится к биологии и медицине, в частности к устройствам для физиологических исследований пищеварительной системы животных. Фистульная трубка содержит корпус в виде цилиндрической трубки, на внутриорганном конце которой закреплен фланец. Трубка также снабжена одним или двумя съемными фиксирующими дисками и пробкой. Фланец выполнен съемным. Он связан с цилиндрической трубкой с помощью резьбового соединения. Фланец дополнительно фиксирован на трубке с помощью двух лигатур, конец одной из которых укреплен на фланце, а конец другой – в стенке цилиндрической трубки. На стенке цилиндрической трубки сделано ушко для крепления третьей лигатуры, предназначенной для дополнительной фиксации фистульной трубки в брюшной стенке. Использование изобретения позволит снизить травматичность операции за счет использования фистульной трубки со съемным внутриорганным фланцем. В результате этого заживление протекает более гладко, уменьшается вероятность послеоперационных осложнений, а фистульная трубка лучше “приживляется”. 1 з.п. ф-лы, 8 ил.
Изобретение относится к биологии и медицине, в частности к устройствам для физиологических исследований пищеварительной системы у животных.
Известна фистульная трубка для полых органов желудочно-кишечного тракта, выполненная в виде цилиндрической трубки, на верхнем (внутриорганном) конце которой укреплен несъемный внутриорганный фланец, а отверстие трубки перекрывается пробкой [1].
Недостаток этой фистульной трубки заключается в травматичности хирургической операции, производимой с целью установки фистулы в том или ином органе. Это обусловлено тем, что фланец жестко укреплен на конце трубки и вместе с последней образует довольно объемный узел. Поэтому при вставлении фистульной трубки, например, в кишку приходится делать относительно большое отверстие в ее стенке, размеры которого существенно превышают диаметр трубки. А это отрицательно сказывается на заживлении операционной раны и “приживлении” фистульной трубки.
Известна фистульная трубка для полых органов пищеварительной системы, состоящая из корпуса в виде цилиндрической трубки, на верхнем (внутриорганном) конце которой укреплен несъемный внутриорганный фланец. Кроме того, на трубку надеты два съемных фиксирующих диска, один из которых у оперированного животного располагается между кишечной стенкой и брюшной стенкой, а другой диск снабжен резьбой и навинчен на наружный конец фистульной трубки. Отверстие трубки закрывается пробкой [2].
Недостатком этой фистульной трубки является то, что внутриорганный фланец является несъемным, и поэтому, чтобы последний ввести внутрь полого органа (желудка, кишки, желчного пузыря), в стенке последнего приходится проделывать относительно большое отверстие. А это увеличивает травматичность операции и отрицательно сказывается на процессе заживления операционной раны и “приживления” фистульной трубки. Особенно неблагоприятная ситуация складывается при установке фистульной трубки в тонкой кишке, размеры которой в поперечнике сопоставимы с размерами внутриорганного фланца и диаметром трубки.
Последнее из рассмотренных устройств [2] рассматривается в качестве прототипа для заявленного изобретения.
Технический результат изобретения заключается в снижении травматичности операции за счет использования фистульной трубки со съемным внутриорганным фланцем.
Указанный технический результат достигается за счет того, что в известной фистульной трубке, содержащей корпус в виде цилиндрической трубки, на внутриорганном конце которой укреплен фланец, и она снабжена одним или двумя съемными фиксирующими дисками и пробкой, фланец выполнен съемным, связан с цилиндрической трубкой с помощью резьбового соединения и дополнительно фиксирован на ней с помощью двух лигатур, конец одной из которых укреплен на фланце, а конец другой – в стенке цилиндрической трубки. На стенке цилиндрической трубки сделано ушко для крепления третьей лигатуры, предназначенной для дополнительной фиксации фистульной трубки в брюшной стенке.
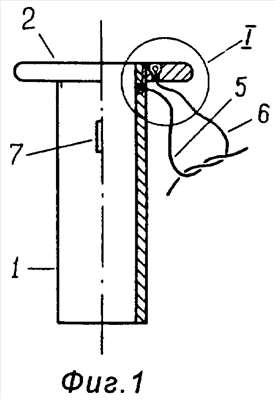
Сущность изобретения поясняется чертежами, где: на фиг.1 представлен общий вид фистульной трубки с местным разрезом, вид спереди; на фиг.2 – узел крепления внутриорганного фланца к цилиндрической трубке; на фиг.3 – вид фистульной трубки сбоку; на фиг.4, 5 – этапы установки фистульной трубки в тонкой кишке; на фиг.6-8 – манипуляции, связанные с проведением фистульной трубки через брюшную стенку.
Фистульная трубка состоит из цилиндрической трубки (тубуса) 1 (фиг.1-3, 5, 8), на верхнем (внутриорганном) конце которой с помощью резьбового соединения укреплен съемный фланец 2. Непосредственно под фланцем в стенке трубки 1 сделано отверстие 3. Рядом с ним аналогичное отверстие 4 сделано и во фланце 2. В первом из этих отверстий укреплен конец лигатуры 5, а во втором – конец лигатуры 6. На расстоянии примерно 1 см от фланца 2 на трубке 1 имеется ушко 7, в котором укреплен конец лигатуры 8. Лигатуры 5, 6, и 8 сделаны из нерассасывающегося материала. Фистульная трубка, как и в прототипе [2], снабжена также одним или двумя наружными съемными фиксирующими дисками и пробкой, которые на чертежах не показаны.
При проведении операции, например, на собаке для установки фистульной трубки в кишке 9 в стенке последней на противобрыжеечной стороне скальпелем и ножницами проделывают отверстие (не показано), вокруг которого накладывают кисетный шов 10 (фиг.4, 5, 8). Размеры проделанного щелевидного отверстия в кишке должны соответствовать ширине фланца 2. Через проделанное отверстие внутрь кишки проводят свинченный с трубки 1 фланец 2 (фиг.4), который ориентируют так, чтобы его резьбовое отверстие расположилось напротив кишечного отверстия. При этом лигатура 6 должна располагаться вне кишки 9. Затем через кишечную стенку с помощью пальцев фиксируют фланец 2 и в его отверстие ввинчивают резьбовой конец цилиндрической трубки 1 (фиг.5). (Для лучшей герметизации резьбового соединения можно использовать, например, силиконовый герметик.). Связывают лигатуры 5 и 6, и их свободные концы срезают. Эта дополнительная фиксация с помощью лигатур предотвращает возможное свинчивание фланца 2 с трубки 1.
На следующем этапе операции сбоку от операционного разреза брюшной стенки 11 (фиг.6-8) в последней с помощью троакара, состоящего из стилета 12 и надетой на него втулки 13 с щелевидной прорезью 14 (фиг.6, 7), проделывают сквозное отверстие. На трубку 1 надевают диск 15 (фиг.8) из пористого биосовместимого материала. Лигатуру 8 с помощью изогнутой хирургической иглы 16 (фиг.7) через щелевидную прорезь 14 (фиг.6, 7) в стенке втулки 13, а затем через мышечный слой брюшной стенки выводят в операционную рану (фиг.7, 8). Далее через втулку 13 из брюшной полости наружу выводят трубку 1, после чего втулку 13 удаляют, а саму трубку закрывают пробкой (не показана). Далее производят зашивание операционной раны брюшной стенки. После наложения серозно-мышечных швов свободный конец лигатуры 8 связывают со свободным концом лигатуры 17, с помощью которой производилось наложение серозно-мышечных швов. Этим обеспечивается дополнительная фиксация фистульной трубки, предотвращается возможная ее ротация. Окончательное закрытие операционной раны брюшной стенки производят путем наложения кожных швов. После этого на наружную часть трубки 1 надевают фиксирующий диск (не показан) и на этом операцию заканчивают.
Предлагаемое изобретение позволяет снизить травматичность операции за счет использования фистульной трубки со съемным внутриорганным фланцем. В результате этого заживление протекает более гладко, уменьшается вероятность послеоперационных осложнений, а фистульная трубка лучше “приживляется”.
Источники информации
1. Порядков Л.Ф. Канюля для полых органов пищеварительной системы. Патент RU 673274, 15.07.1979 г.
2. Алиев А.А. Новейшие оперативные методы исследования жвачных животных. Агропромиздат, М., 1985, с.30-31.
Формула изобретения
1. Фистульная трубка, содержащая корпус в виде цилиндрической трубки, на внутриорганном конце которой укреплен фланец, и она снабжена одним или двумя съемными фиксирующими дисками и пробкой, отличающаяся тем, что фланец выполнен съемным, связан с цилиндрической трубкой с помощью резьбового соединения и дополнительно фиксирован на ней с помощью двух лигатур, конец одной из которых укреплен на фланце, а конец другой – в стенке цилиндрической трубки.
2. Фистульная трубка по п.1, отличающаяся тем, что на стенке цилиндрической трубки сделано ушко для крепления третьей лигатуры, предназначенной для дополнительной фиксации фистульной трубки в брюшной стенке.
РИСУНКИ
|
|