|
|
(21), (22) Заявка: 2003121560/09, 11.07.2003
(24) Дата начала отсчета срока действия патента:
11.07.2003
(43) Дата публикации заявки: 10.01.2005
(45) Опубликовано: 10.07.2005
(56) Список документов, цитированных в отчете о поиске:
SU 1239770 А1, 23.06.1986. RU 2052873 С1, 20.01.1996. RU 2034374 С1, 30.04.1995. GB 1449360 А, 15.09.1976. EP 0668624 А1, 23.08.1995. EP 0493179 А1, 01.07.1992.
Адрес для переписки:
140180, Московская обл., г. Жуковский, ул. Гагарина, 3, ОАО “НИИ Приборостроения им. В.В. Тихомирова”
|
(72) Автор(ы):
Добисов В.И. (RU), Синева Ф.С. (RU), Тыняная Н.В. (RU), Денисов Р.К. (RU)
(73) Патентообладатель(и):
ОАО “НИИ Приборостроения им. В.В. Тихомирова” (RU)
|
(54) ВОЛНОВОДНАЯ НАГРУЗКА
(57) Реферат:
Изобретение относится к технике СВЧ и может быть использовано как оконечная нагрузка в волноводных трактах с высоким уровнем мощности. Технический результат состоит в повышении электропрочности нагрузки и уменьшении вероятности электрического пробоя. Волноводная нагрузка содержит отрезок волновода, диэлектрический вкладыш, заполненный проточной поглощающей жидкостью. На отрезке волновода установлена охлаждающая камера, имеющая окно связи с ним. Внутренние элементы герметизации установлены между патрубками с фланцами для ввода и вывода проточной поглощающей жидкости и внутренней поверхностью диэлектрического вкладыша. Внешние элементы герметизации установлены между внутренней частью корпуса охлаждающей камеры и внешней поверхностью диэлектрического вкладыша. Во фланцах патрубков выполнены сливные отверстия. 2 ил.

Изобретение относится к технике СВЧ и может быть использовано как оконечная нагрузка в волноводных трактах с высоким уровнем мощности.
Известна волноводная нагрузка [А.С. 1592885], содержащая объемный твердотельный поглотитель, установленный в полости отрезка прямоугольного волновода, который закорочен на конце заглушкой. На внешней поверхности отрезка прямоугольного волновода выполнены ребра. Их поверхность и корпус образуют канал для протекания охлаждающей жидкости. На корпусе выполнены элементы ввода и вывода жидкости.
Наиболее близкой по технической сущности к предлагаемой волноводной нагрузке является согласованная нагрузка [А.С. 1332420, опубл. 23.08.1987 г.], состоящая из отрезка прямоугольного волновода, полого диэлектрического вкладыша.
Недостаток таких нагрузок состоит в том, что в случае разгерметизации ввода или вывода поглощающей жидкости во вкладыш она попадает в канал волновода, что приводит к электрическому пробою в нагрузке, выходу из строя передатчика и заполнению поглощающей жидкостью волноводного тракта, в котором установлена нагрузка.
Технический результат состоит в повышении электропрочности нагрузки и уменьшении вероятности электрического пробоя.
Сущность предлагаемого изобретения состоит в том, что волноводная нагрузка содержит отрезок волновода, диэлектрический вкладыш, заполненный проточной поглощающей жидкостью. Новизна предлагаемой нагрузки состоит в том, что на отрезке волновода установлена охлаждающая камера, имеющая окно связи с ним. Внутренние элементы герметизации установлены между патрубками с фланцами для ввода и вывода проточной поглощающей жидкости и внутренней поверхностью диэлектрического вкладыша. Внешние элементы герметизации установлены между внутренней частью корпуса охлаждающей камеры и внешней поверхностью диэлектрического вкладыша. Во фланцах патрубков выполнены сливные отверстия.
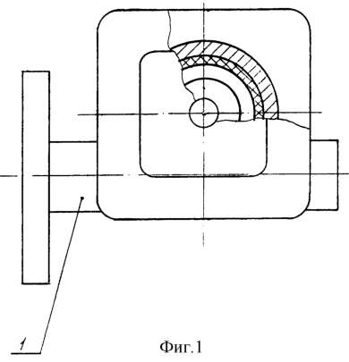
На фиг. 1, 2 представлена конструкция предлагаемой нагрузки.
Волноводная нагрузка содержит отрезок волновода 1, охлаждающую камеру 2, диэлектрический вкладыш 3, заполненный проточной поглощающей жидкостью 4, окно связи отрезка волновода с охлаждающей камерой 5, внутренние элементы герметизации 6, внешние элементы герметизации 7, патрубки с фланцами для ввода и вывода проточной поглощающей жидкости 8, сливные отверстия 9.
Волноводная нагрузка работает следующим образом: энергия электромагнитной волны, распространяющейся в отрезке волновода 1 и попадающей на содержащуюся в диэлектрическом вкладыше проточную поглощающую жидкость, проникает в нее и преобразуется в тепло, нагревая эту жидкость. Для обеспечения электропрочности волноводной нагрузки необходимо исключить попадание поглощающей жидкости в отрезок волновода. Кроме того, для обеспечения электропрочности в полости волновода должно создаваться достаточно высокое давление, обычно не менее 1,25 кг/см2 – 2,5 кг/см2. В предлагаемой волноводной нагрузке высокая электропрочность обеспечивается выполнением такой конструкции волноводной нагрузки, в которой даже в случае нарушения герметичности поглощающая жидкость не попадет внутрь отрезка волновода, а через сливные отверстия сольется наружу. Таким образом, не нарушается электропрочность волноводной нагрузки.
Формула изобретения
Волноводная нагрузка, содержащая отрезок волновода, диэлектрический вкладыш, заполненный проточной поглощающей жидкостью, отличающаяся тем, что на отрезке волновода установлена охлаждающая камера, имеющая окно связи с ним, причем внутренние элементы герметизации установлены между патрубками с фланцами для ввода и вывода проточной поглощающей жидкости и внутренней поверхностью диэлектрического вкладыша, а внешние элементы герметизации установлены между внутренней частью корпуса охлаждающей камеры и внешней поверхностью диэлектрического вкладыша, между фланцами патрубков и диэлектрическим вкладышем выполнены сливные отверстия.
РИСУНКИ
|
|